KE2000R_安装要领书.pdf - 第8页
Rev.1.00 安装要领书 3-2. 安全防护罩 请揭下安全防护罩上贴的纤维丝带。 图 3-2 防护罩 F 纤维丝带 防护罩 R 主机 4

Rev.1.00
安装要领书
3. 有关包装箱包装材料等的除去
3-1. 机器主体
请取下包装机器的塑料包装。(仅限对国内出货机器)
塑料包装尺寸∶1800×1700×1500(横宽×纵深×高度) t 0.05(厚度)
注) 所有的塑料包装尺寸,均是按照对应最大基板尺寸的机器外形尺寸设定的。
图 3-1
3

Rev.1.00
安装要领书
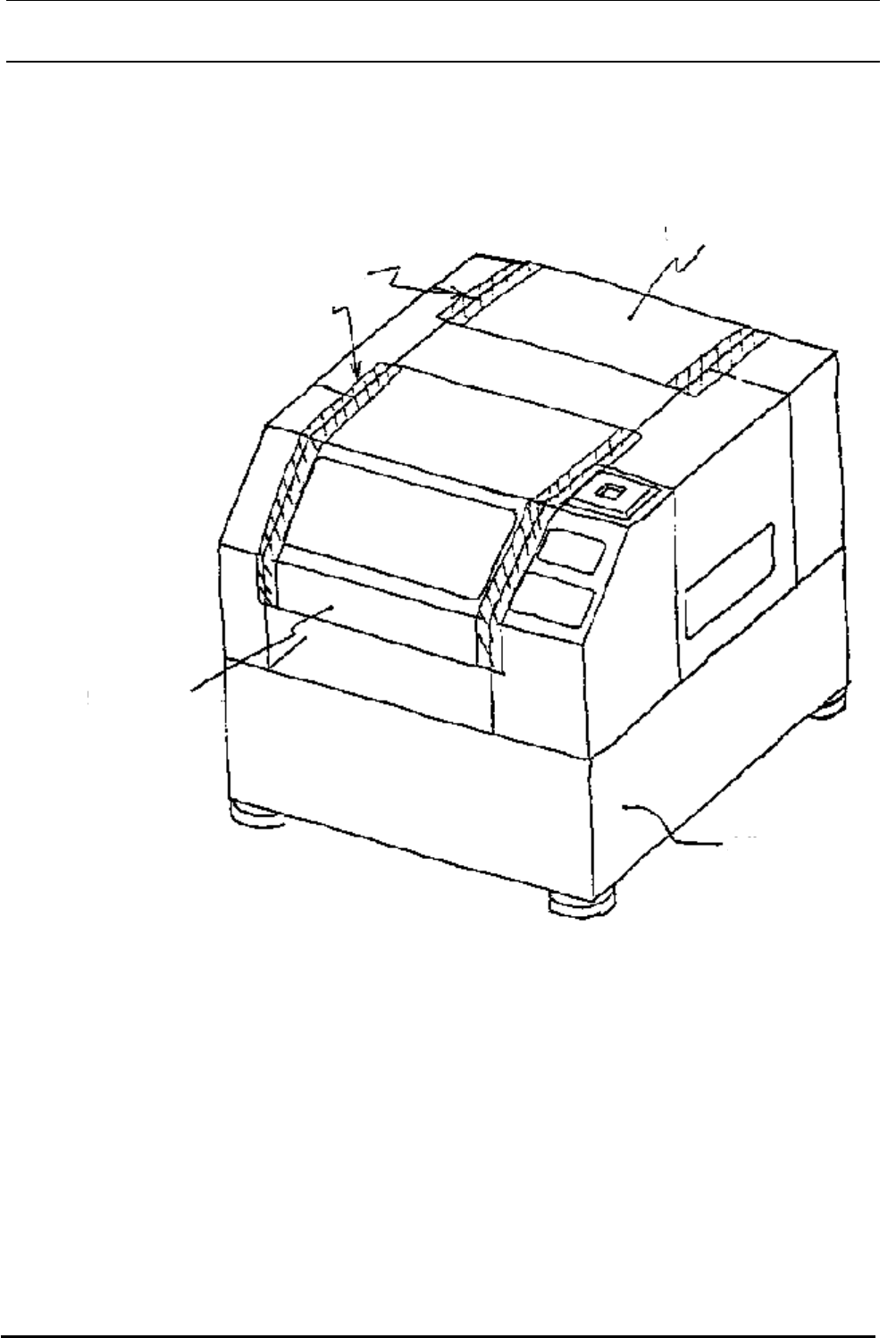
3-2. 安全防护罩
请揭下安全防护罩上贴的纤维丝带。
图 3-2
防护罩 F
纤维丝带
防护罩
R
主机
4

Rev.1.00
安装要领书
3-3. 供料器连接电缆(仅对于固定料库规格机)
请揭下固定供料器连接电缆和空气管的纤维丝带。
关于插头架,FRONT侧固定在防护罩FB上,REAR侧固定在防护罩RBC上。
图 3-3
供料器连接电缆
插头架
主机机体
空气软管
纤维丝带
3-4. 一次更换台车
3-4-1.一次更换台车整体
请解开包装一次更换台车的气泡塑料包装。
5
图 3-4-1
一次更换台车
气泡塑料包装
供料器