XP241E 机械手册 MEC-XP241-1.0CM.pdf - 第25页
安全指南 XP-24 1 E 机械手册 1 2 Edition 1 .0 笔记 笔记 笔记 笔记 : : : :

安全指南
Edition 1.0 11 XP-241E 机械手册
5.
5.5.
5.[
[[
[紧急停止
紧急停止紧急停止
紧急停止]
]]
]按钮
按钮按钮
按钮
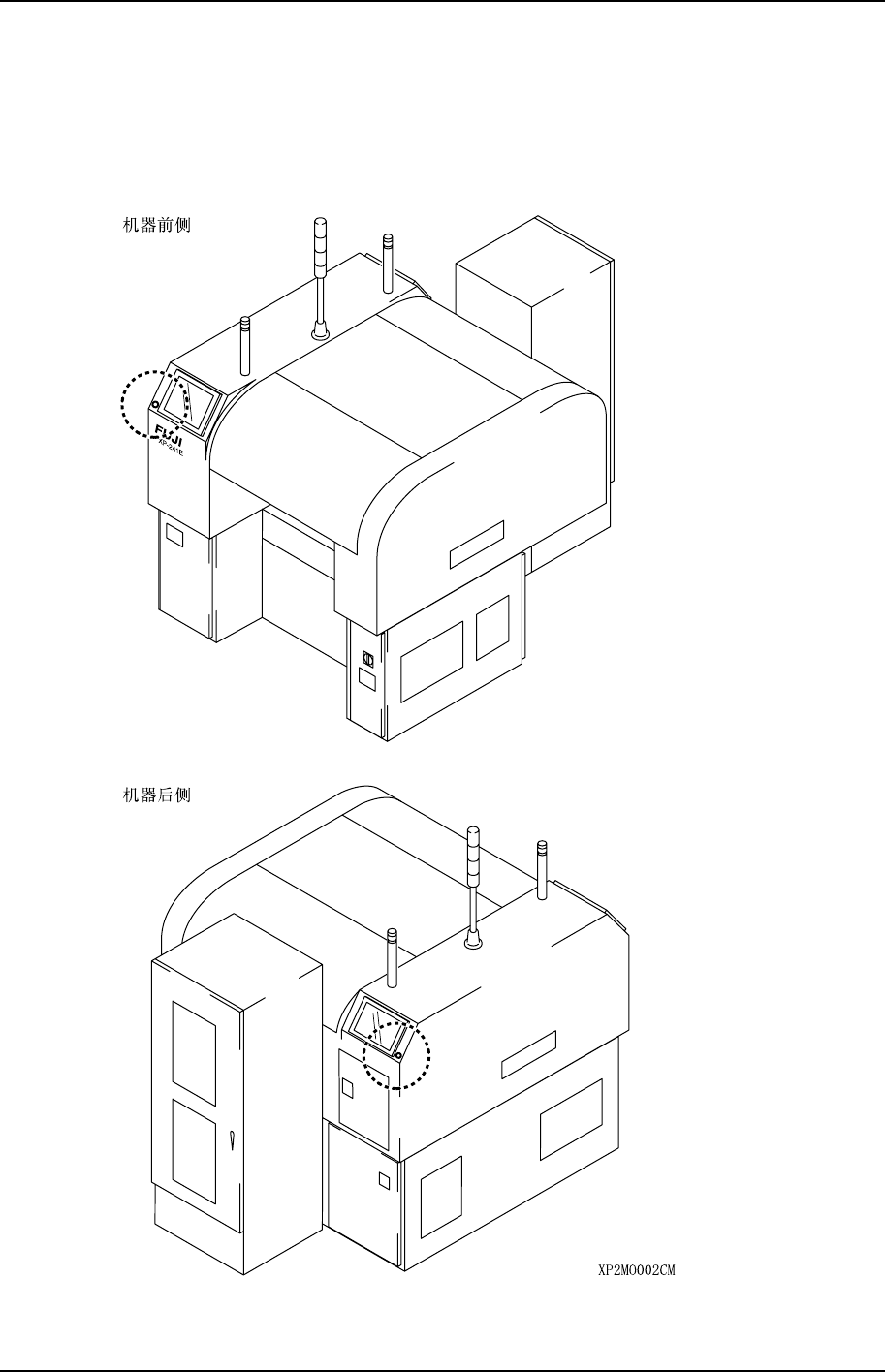
发生紧急情况时,请按下任何一个红色的[紧急停止]按钮,使机器停止。[紧急停止]按钮
的位置如下图所示。

安全指南
XP-241E 机械手册 12 Edition 1.0
笔记
笔记笔记
笔记:
::
:

第一部
第一部第一部
第一部
机器主体
机器主体机器主体
机器主体