Q112179C01.pdf - 第149页
AVK3 维修手册 6.2 检查和润滑 D77MCC-80-020- A0 6.2-28 6.2.17 印刷线路板传送 装置编号: 1087106000 检查 周期 编号 项目 工作 描述 确保滑杆上下移动平稳。 确保滑杆滑动平稳。 a. 滑杆 确保滑杆在支承上移动轻巧。 每天 b. 传送销 确保传送销正确地位于印刷线路板孔中。 确保皮带张力调节正确。 c. 皮带 确保皮带没有磨损。 d. 轴 滑动表面:清除异物或灰尘。 确保传送销卡爪…

AVK3
维修手册
6.2
检查和润滑
D77MCC-80-020-A0
6.2-27
加油润滑
周期
编号
项目
工作
加油量
描述
1.
90°
旋转夹
LM
导杆
(
4
处)
2.
插入单元传送
LM
导杆
3.
传送夹上下滑动
LM
导
杆
4.
传送夹前后下滑动
LM
导杆
0.09cm
3
位置:滑动表面。
5.
凹槽凸轮的滑动表面
位置:润滑脂喷嘴。
6.
控制杆支承
7.
控制杆支承
(
2
处)
8.
销和夹头的滑动表面
(
4
处)
9.
凸轮从动件的滑动部
件
位置:滑动表面。
每个月
10.
弹簧支承销
0.5cm
3

AVK3
维修手册
6.2
检查和润滑
D77MCC-80-020-A0
6.2-28
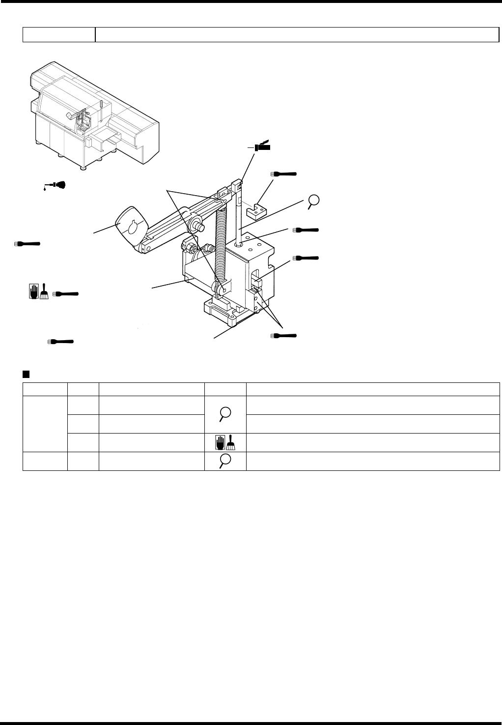
6.2.17
印刷线路板传送
装置编号:
1087106000
检查
周期
编号
项目
工作
描述
确保滑杆上下移动平稳。
确保滑杆滑动平稳。
a.
滑杆
确保滑杆在支承上移动轻巧。
每天
b.
传送销
确保传送销正确地位于印刷线路板孔中。
确保皮带张力调节正确。
c.
皮带
确保皮带没有磨损。
d.
轴
滑动表面:清除异物或灰尘。
确保传送销卡爪没有松动。
e.
传送销卡爪
确保传送销卡爪没有损坏或变形。
f.
同步支带轮
凹槽:清除异物或灰尘。
每周
g.
光电传感器
清除异物或灰尘。
加油润滑
周期
编号
项目
工作
加油量
描述
每个月
1.
滑杆支承
1
至
2
滴
每三个
月
2.
轴
适量
位置:滑动表面。
1.
滑杆支承
a.
滑杆
c.
皮带
b/e.
传送销卡爪
f.
定时轮
g.
光电传感器
f.
定时轮
d/2.
轴

AVK3
维修手册
6.2
检查和润滑
D77MCC-80-020-A0
6.2-29
6.2.18 JW
头装置(驱动装置)
装置编号:
1087120000
检查
周期
编号
项目
工作
描述
a.
轴
确保轴上下移动平稳。
b.
辊子从动件
确保辊子从动件旋转平稳。
每天
c.
LM
导杆
清除异物或灰尘。
每周
d.
板凸轮固定螺栓
确保板凸轮固定螺栓不会松动。
2.
模块和杆的滑动表面
c/7.LM
导杆
3.
凸轮表面
5.
杆和轴衬的滑动表面
6.
轴和凸轮从动件的滑动表面
4.
轴和模块的滑动表面
8.
轴和推进器的接触表面
9.
弹簧支承销
1.
导杆和杆的滑动表面
a.
轴