Q112179C01.pdf - 第21页
AVK3 维修手册 2. 安全注意事项 D77MCC-10-000- A0 2-2 D77MC C-10-000-A0 2. 安全注意事项 本章提供有关安全方面的资料。

AVK3
维修手册
2.
安全注意事项
D77MCC-10-000-A0
2-1
2. SAFETY PRECAUTIONS

AVK3
维修手册
2.
安全注意事项
D77MCC-10-000-A0
2-2
D77MCC-10-000-A0
2.
安全注意事项
本章提供有关安全方面的资料。

AVK3
维修手册
2.1
关于安全
D77MCC-10-010-A0
2.1-1
2.1.
关于安全
D77MCC-10-010-A0
2.1.1
安全注意事项
为了保证工人的安全,
Panasonic
插件机的设计和安装符合交付国的安全标准和安全要
求。
插件机的客户有责任遵守他们国家的安全法律和法规。客户还有责任安装必需的安全设
施来保护机器操作者和其它人员。
必须由受过良好培训的合格人员操作和维修
Panasonic
插件机,他们应通晓操作手册、
编程手册、参考手册、接线图、
SC
程序表和维修手册中叙述的各种机器功能。
我们只认可在我公司受过培训且对机器通晓的人员为操作者。
安全注意事项
机器内部零件
(
包括非电气零件
)
的维修必须由维修工程师完成。
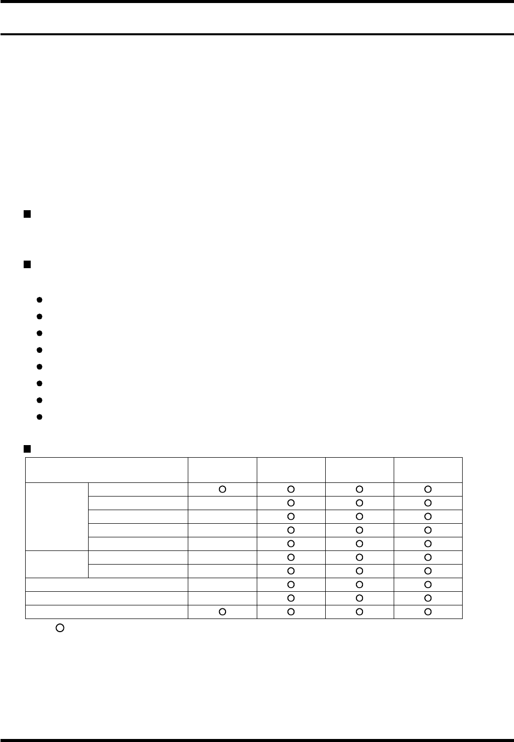
机器文件一览
说明机器使用和维修工作的文件只能由工程师来编写。
操作说明书
/
操作手册
操作说明书
/
编程手册
操作说明书
/
参考手册
操作说明书
/
维修手册
零件明细表
接线图
SC
程序表
选件的操作说明书
使用对象与文件
文件
操作者
维修工程师
Panasonic
服务工程师
系统整合
操作手册
*
编程手册
-
参考手册
-
维修手册
*
-
操作说明书
电脑主机系统
-
机械部件
-
零件列表
控制部件
-
接线图
-
SC
程序表
-
选件的操作说明书
:
附上的文件
*
:
关于产品安全(当地语言)