Q112179C01.pdf - 第76页
AVK3 维修手册 4.1 控制系统配置 D77MCC-14-020- A0 4.1-5 识别卡 型号: FA-M 00862-43A 功能: 将来自 CCD 摄象机的元件插入孔数据记入存储器, 并与预先确定的标准孔 位作比较后对数据进行计算。该计算结果送至 MMC 卡。 插口号: 10 连接器布置: NC 控制卡 型号: FA-M00225-2A 插口号: 12 功能: NC 卡接收来自 MMC 卡的运行状态信号, 并按照 NC 程序…

AVK3
维修手册
4.1
控制系统配置
D77MCC-14-020-A0
4.1-4
线路板结构
P783
由以下各种控制卡组成:
MMC
卡
型号:
JA-M00006-C1
插口号:
1
功能:
MMC
是“主机控制”的英文缩写。
MMC
卡对所有其它控制卡进行控制,它
接收来自其它控制卡的数据,并向其它控制卡传送正确的命令。
MMI
卡
型号:
LA-M00105-5F
插口号:
3
功能:
MMI
是“主机接口”的英文缩写。
MMI
卡控制外部环节的接口,并将数据送
至
MMC
卡。
连接器布置:
SC
卡
型号:
JA-M00016-C1
插口号:
5
功能:
利用顺序控制,
SC
卡对插入头系统、传送系统以及出错处理作出判定。
它将判定结果的数据送至
MMC
卡,并将指令从
MMC
卡送至其它控制卡。
连接器布置:
脉冲电机控制卡
型号:
SA-M00223
插口号:
8
功能:
T
脉冲电机控制卡接收来自
MMC
卡的数据,计算脉冲数和电机转向,然
后将信号数据送至脉冲电机驱动器。(选购)
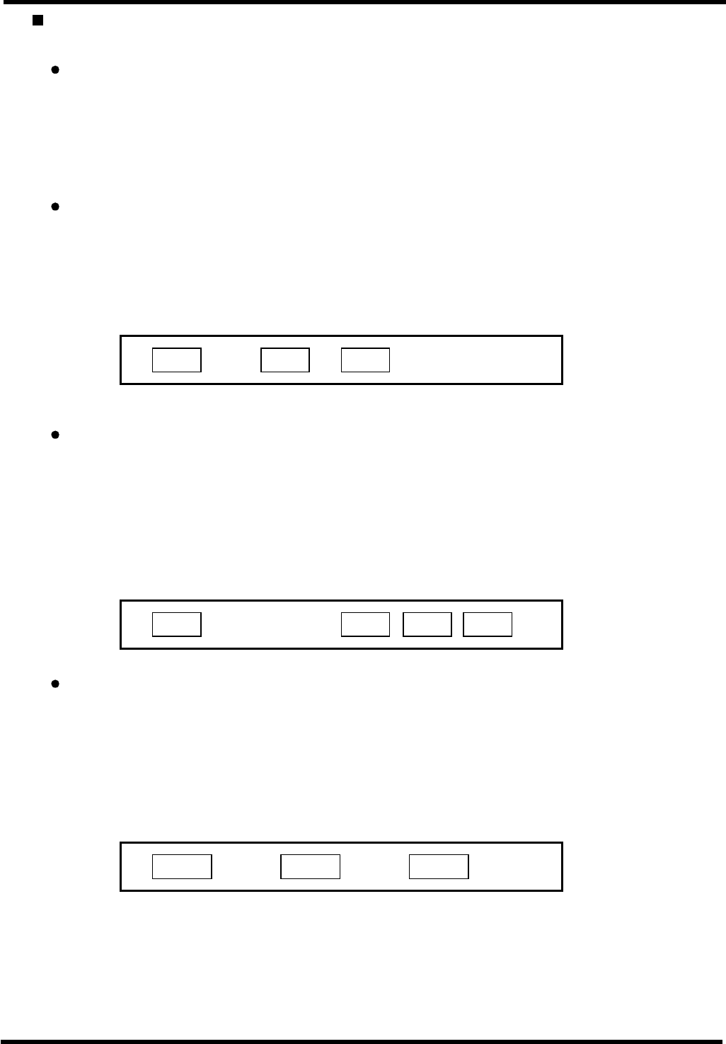
连接器布置:
CN1 CRT MMI
CN1 SC3 SC2 SC1
CN1 CN2 CN3

AVK3
维修手册
4.1
控制系统配置
D77MCC-14-020-A0
4.1-5
识别卡
型号:
FA-M00862-43A
功能:
将来自
CCD
摄象机的元件插入孔数据记入存储器,并与预先确定的标准孔
位作比较后对数据进行计算。该计算结果送至
MMC
卡。
插口号:
10
连接器布置:
NC
控制卡
型号:
FA-M00225-2A
插口号:
12
功能:
NC
卡接收来自
MMC
卡的运行状态信号,并按照
NC
程序设定的数值将信
号送至交流伺服驱动器以控制交流伺服电机。
连接器布置:
NC1-A NC4 NC3 NC2 NC1

AVK3
维修手册
4.1
控制系统配置
D77MCC-14-020-A0
4.1-6
4.1.4
电机驱动器
Panadac 326M-2.0Kw
(用于
H
轴和θ
H
轴)
Panadac 326M-2.5kW
(用于
ZL
和
ZR
轴)
-
(
120
站设备)
/
(用于
ZR
轴)
-
(
60
站设备)
Panadac 326M-750W
(用于
Y
、
T
和
A
轴)