IFMU op manual.pdf - 第33页
IFMU 操作手册 EJW8AC-MB-02O-05 Page 2-1 2. 导入 本章对供料器维护单元的导入进行说明。

IFMU
操作手册
1.4
操作
PC
的规格
Page 1-10 EJW8AC-MB-01O-07
1.4
操作
PC
的规格
1.4.1
硬件的规格
项目 内容
类别
主体
IBM PC/AT
兼容机
(
强烈推荐使用台式电脑。
)
必须
CPU
Intel® Core2 2.4 GHz
以上
主板
IBM
互換
显卡
SXGA
以上
1,280
×
1,024
以上
内存
2 GB
以上
HDD
80 GB
以上
光学驱动器
DVD-ROM
键盘
日语版
:
106
日语键盘
英语版
:
101
英语键盘
鼠标
OS
标准支持鼠标
监视器 适用
SXGA
的
网卡
1000BASE-T x 1
个以上
(
推荐
PCI Express
网卡
)
1
、支持巨型
包
(
巨型帧
)
与
PanaCIM
连接时,需要
1000BASE-T
×
2
个以上
RS232C
端口
1
个以上
推荐使用
PC
主体的
RS232C
端口。不存在这个端口时,请准
备市面出售的
USB-232C
转换电缆。
2
1
根据
PC
和网卡的组合方式,有时不会动作。
2
根据
PC
和
USB-232C
转换电缆的组合方式,有时不会动作。
1.4.2
软件的规格
项目 内容 类别
操作系统
Microsoft® Windows® 7 Professional
Microsoft® Windows® 10 Pro (64 bit)
必须
病毒检查
Virus Buster™
程序版本
7.0
以上
推荐

IFMU
操作手册
EJW8AC-MB-02O-05 Page 2-1
2.
导入
本章对供料器维护单元的导入进行说明。

IFMU
操作手册
2.1
导入流程
Page 2-2 EJW8AC-MB-02O-05
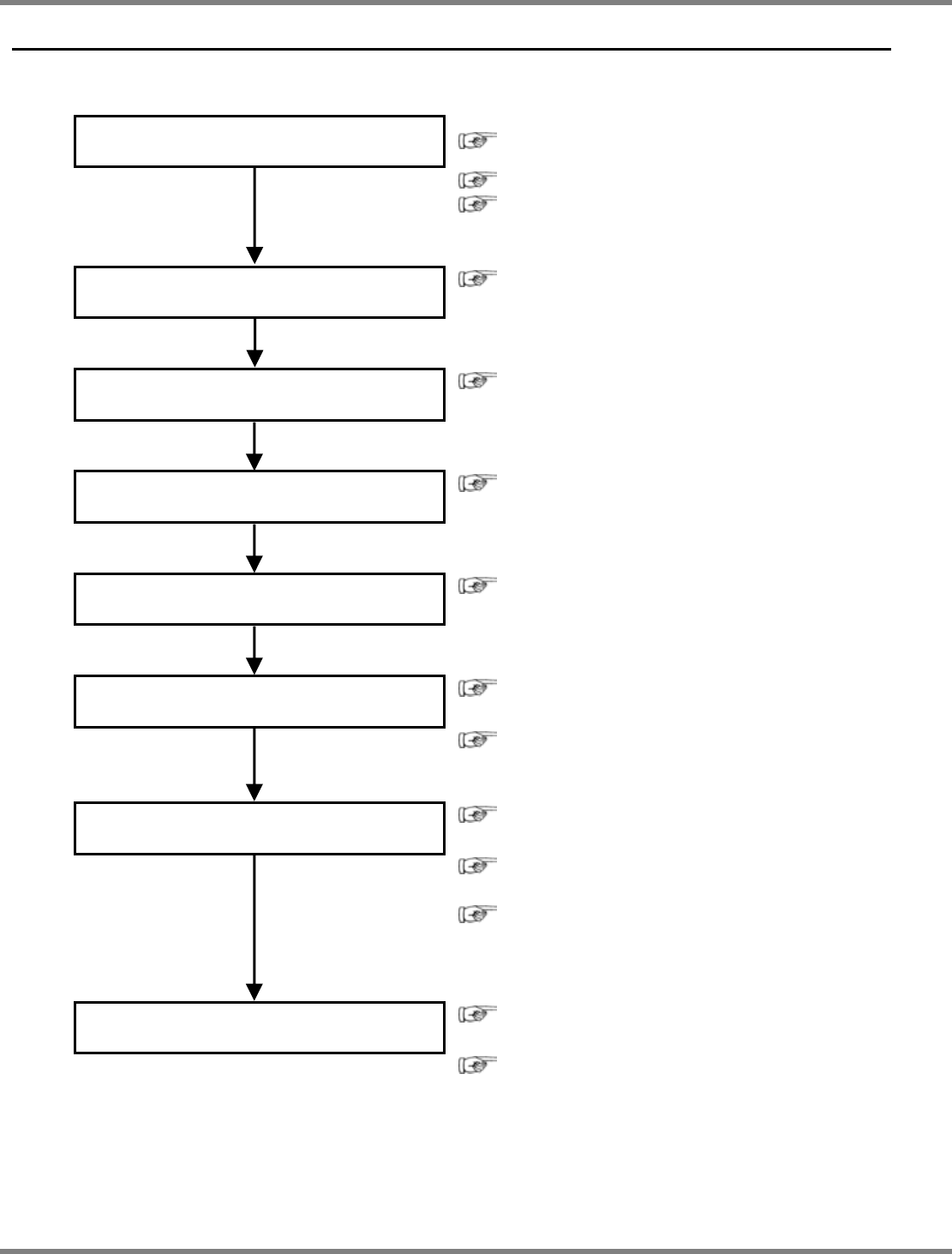
2.1
导入流程
设备的导入请按照以下流程实施。
设置设备、
PC
“2.2.1
供料器维护单元的设置场所
”
“2.2.2 PC
的设置场所
”
“2.2.3
搬送
”
调整设备的水平
“2.2.4
水平调整
”
除去防锈润滑脂
“2.2.5
防锈润滑脂的除去方法
”
连接电源
“2.2.6
电源的连接
”
连接空气源
“2.2.7
空气源的连接
”
连接
PC
和电缆
“2.3.1 LAN
电缆的连接
”
“2.3.2 RS232C
电缆的连接
”
安装软件
“3.1
照相机驱动软件的安装
”
“3.2
供料器维护软件的安装
/
更新
”
“3.3
供料器维护软件的初始设定
”
实施校准
“6.11.3 LED
照明的校准操作步骤
”
“6.11.4
插槽校准的操作步骤
”