EUKYX-199-5100_G5S2_Instruction_Vol5_E.pdf - 第164页
EUKYX 4-49 199-5100 2.34 I/O PCB U01 Connection Circuit 9 2.3 4 I / O PCB U01 Connection Circuit 9 CN1 U01 IO PCB L VDS UP [F-/03/7D] from U85-DN CN2 L VDS DN CN3 L VDS T CN4 L VDS T CN5 L VDS T CN7 L VDS T 1 2 3 4 5 6 G…

EUKYX
4-48199-5100
2.33 I/O PCB U01 Connection Circuit 8 [Type]
2.33 I/O PCB U01 Connection Circuit 8 [Type]
U01
IO PCB
2
1
CN11
ID1 Di06
2
1
CN12
2
1
CN14
ID1 Di07
ID1 Di09
CN8
1
2
3
4
5
6
7
8
9
10
CN9
1:EXSTP1
2:EXSTP2
47:EMI COM
U82DI (1CH)
U82DI (2CH)
3
2
1
CN44
ID4 Di06
X0114
X0108
ID3 Di10
X0130
ID3 Di14
3
2
CN48
1
X0147
10
24A6
1
2
3
4
10
24A2
CN30
10
24A6
24A3
24A3
10
24A3
24A3
24A3
24A3
10
24A3
24A3
ID1 Di08
2
CN13
1
X0113
10
512
648
10
540
from X30D1-B
ID4 Di05
2
3 24A6
10
1
CN43
2
1
CN49
X0149
3
2
ID3 Di11
3
4
1
CN32
X0132
ID3 Di15
513
680
10
538
from X30D1-F
10
24A6
24A2
10
10
10
10
1
2
3
4
5
6
7
8
9
10
XY STP B1
XY STP B2
HEAD STP B1
HEAD STP B2
446
Stage1
XY STP B1
XY STP B2
HEAD STP B1
HEAD STP B2
446
Stage2
from U01-CN9:9
[D-/02/4F]
Out Port Out Port
23:COM1
48:COM2
22:EMI
1:EXSTP1
2:EXSTP2
23:COM1
48:COM2
from U02-CN20
from U02-CN23
HEAD1 INLK
HEAD2 INLK
2
1
CN57
X0157
2
CN56
1
X0156
24A2
Out Port
Out Port
24A2
Y1001 Y1002
2
1
CN55
X0155
Out Port
24A2
N301
N301
X10204H1
U07D
31
4
:31 X0702 X0718
U07D
2 29
X0718
X0702
X10204H1
:29
X0143
Parts fall
detection
Parts fall
detection
Head interlock(B1)
Head interlock(B2)
Tray interlock(B2)
Conveyor INLK(B)
Connection Check
A (B1)
Connection Check
B (B1)
Tray interlock(B1)
Parts fall detection
Connection Check
A (B2)
Connection Check
B (B2)
Board clamp downBoard clamp lifting
Parts fall detection
KYX-000-CC-031-1

EUKYX
4-49199-5100
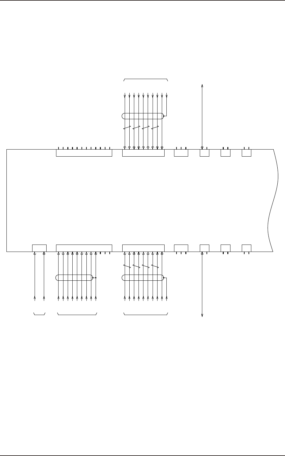
2.34 I/O PCB U01 Connection Circuit 9
2.34 I/O PCB U01 Connection Circuit 9
CN1
U01
IO PCB
LVDS UP
[F-/03/7D]
from U85-DN
CN2
LVDS DN
CN3
LVDS T
CN4
LVDS T
CN5
LVDS T
CN7
LVDS T
1
2
3
4
5
6
GND
TCK
TDI
TMS
3.3V
TDO
CN60
CN6
LVDS T
X01C2
X01C4
1
2
3
4
5
6
7
8
X01C1
UP_RX+
UP_RX-
UP_TX+
SG
SG
UP_TX-
SG
SG
FG
RX+
RX-
TX+
SG
SG
TX-
SG
SG
[B-/07/1D]
to X30F
1
2
3
4
5
6
7
8
DN_RX+
DN_RX-
DN_TX+
SG
SG
DN_TX-
SG
SG
FG
RX+
RX-
TX+
SG
SG
TX-
SG
SG
1
2
3
4
5
6
7
8
T_RX+
T_RX-
T_TX+
SG
SG
T_TX-
SG
SG
FG
[D-/10/2B]
to U02-CN1
1
2
3
4
5
6
7
8
T_TX+
T_TX-
T_RX+
SG
SG
T_RX-
SG
SG
FG
RX+
RX-
TX+
SG
SG
TX-
SG
SG
1
2
3
4
5
6
7
8
T_TX+
T_TX-
T_RX+
SG
SG
T_RX-
SG
SG
FG
1
2
3
4
5
6
7
8
UP_RX+
UP_RX-
UP_TX+
SG
SG
UP_TX-
SG
SG
FG
1
2
3
4
5
6
7
8
UP_RX+
UP_RX-
UP_TX+
SG
SG
UP_TX-
SG
SG
FG
KYX-000-CC-032

EUKYX
4-50199-5100
2.35 I/O PCB U02 Connection Circuit 1
2.35 I/O PCB U02 Connection Circuit 1
1
2
3
4
5
6
CN3B
7
8
9
/B_1(B)
/A_1(B)
B_1(B)
A_1(B)
A_4(B)
/A_4(B)
B_4(B)
/B_4(B)
S_GND
:1
:3
:5
:7
:2
:4
:6
:8
:13
:16
1
2
3
CN10
24V(24A6)
GND(10)
1
2
CN20
INLK_OUT
24V(24A6)
1
2
CN21
24V(24A6)
1
2
CN22
24V(24A6)
CNP1
1
2
1
2
3
4
5
6
/RX(UP)
TX(UP)
RX(UP)
/TX(UP)
CN1
7
8
9
10
11
12
FG
FG
FG
FG
:1
:2
:3
:4
:5
:6
:7
:8
:9
GND(10)
S_GND
S_GND
S_GND
S_GND
24V(24A6)
24A6
10
2
3
CN11
24V(24A6)
GND(10)
1
2
CN23
INLK_OUT
24V(24A6)
1
2
CN24
24V(24A6)
1
2
CN25
24V(24A6)
1
1
2
3
4
5
6
/TX(DN)
RX(DN)
TX(DN)
/RX(DN)
CN2
7
8
9
10
11
12
FG
FG
FG
FG
S_GND
S_GND
S_GND
S_GND
/B_1(F)
/A_1(F)
B_1(F)
A_1(F)
A_4(F)
/A_4(F)
B_4(F)
/B_4(F)
1
2
3
4
5
6
CN3F
7
8
9
S_GND
:1
:3
:5
:7
:2
:4
:6
:8
:13
:16
U02
IO PCB
STLT_HD
X0223X0220
X0203FX0203B
X0201
X0201P
[B-/02/7D]
from DCterminal
[D-/09/8E]
from U01-CN4
[C-/03/1D]
from A31B-CN5
[C-/08/7A]
to U01-CN11
HEAD1 INLK
[C-/08/7B]
to U01-CN12
[C-/04/1D]
from A31F-CN5
HEAD2 INLK
KYX-000-CC-033