FUJI NXTIIIC 配件清单.pdf - 第57页
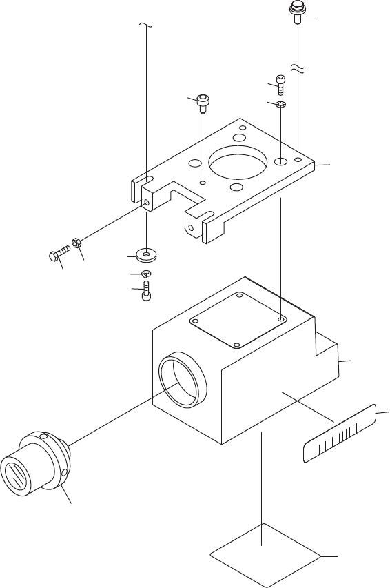
MARK CAMERA マークカメラ UG00327 No. Dr g .No. & Code No. QTY Descri p tion Ratin g Materials Remarks 番号 図番 & コード番号 個数 品名 規 格材 質 備 考 25 PH00393 1 BKT BKT OT 26 2MGKGK000800 2 BOLT, HEX ボルト 六角 FE 30 H54256 2 BOLT, HEX …

㸨㹋㹁㸮㸳㸿ࠉ㸯㸰㸱㸲㸳㸴㸨
25
33
38
33.1
43
44
26
30
31
32
37
36
35
34
UG00327
࣐࣮ࢡ࣓࢝ࣛ
0$5.&$0(5$
56
PTS-NXT3c-01JE

MARK CAMERA
マークカメラ
UG00327
No. Dr
g
.No. & Code No. QTY Descri
p
tion Ratin
g
Materials Remarks
番号 図番 & コード番号 個数 品名
規
格材質 備考
25 PH00393 1 BKT BKT OT
26 2MGKGK000800 2 BOLT, HEX ボルト 六角 FE
30 H54256 2 BOLT, HEX SOCKET ボルト 六角穴 M03X018(3カ シロ) FE
31 W1106C 2 WASHER, LOCK ワッシャ ス
プ
リン
グ
3M
/
M(3カ シロ) FE
32 PB41962 2 WASHER ワッシャ FE
33 PM52692 2 BOLT, POSITIONING ボルト 位置決め FE
33.1 N60017 2 NUT, HEX ナット 六角 M04 P=0.5(3カシロ) OT
34 H54251 4 BOLT, HEX SOCKET ボルト 六角穴 M03X006(3カ シロ) FE
35 W1010A 4 WASHER, CONICAL ワッシャ 皿 M-3-L FE
36 2MGTGK000102 1 CAMERA カメラ OT
37 XR00082 1 LENS レン
ズ
OT
38 PM52661 1 PIN, LOCATING ピン 位置決め FE
43 PX01662 1 SEAL, BAR CODE シール バーコード OT unit serial number
44 PZ45041 1 SEAL シール OT
57
PTS-NXT3c-01JE

11
10
5
4
3
8
7
22
23
2
1
6
9
12
24
14
15
16
17
2UGKGP000207
࣐࣮ࢡ࣓࢝ࣛࣛࢺ
0$5.&$0(5$/,*+7
58
PTS-NXT3c-01JE