DEUKYX-193-5100_G5S2_VOL5.pdf - 第112页
DEUKYX 3-10 193-5100 1.3 V on V orderseite 1.3.7 Kopfeinheit Motorverstärkereinheit A31B A31F 15 3-10A Symbol Name Hinwe ise A 31F Kopf # 2 Ser vo - M otor verstä rker A 31B Kopf #1 Ser vo - M otor verstä rker

DEUKYX
3-9193-5100
1.3 Von Vorderseite
1.3.6 CPU2
LAN
UP
DN
T
DI-1CH
DI-2CH
SELIAL1 SELIAL2
USB1
USB2
USB3
USB4
X8500
X8501
X8502
X85UP
X85DN
X85T
X8203
X8204
X8109
X8104
X8202
X8201
X8102
U85 U82 U81
12
3-9A
Symbol Name Hinweise
U81 Steuerungs-CPU
U82 Bewegungssteuerung
U85 AE-LINK/HSIO Host-LP Modell UC16

DEUKYX
3-10193-5100
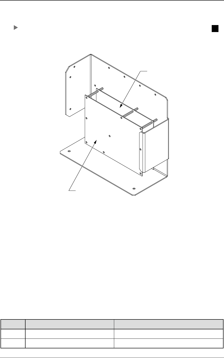
1.3 Von Vorderseite
1.3.7 Kopfeinheit Motorverstärkereinheit
A31B
A31F
15
3-10A
Symbol Name Hinweise
A31F Kopf #2 Servo-Motorverstärker
A31B Kopf #1 Servo-Motorverstärker

DEUKYX
3-11193-5100
1.4 Rückseite
1.4 Rückseite
CNP1
13
8
14
10
6
DC-Stromversorgungseinheit
E/A-LP
Relais-LP
XY-Motorverstärkereinheit Front
Vakuumpumpe
3-11A