DEUKYX-193-5100_G5S2_VOL5.pdf - 第87页
DEUKYX 2-7 193-5100 1.7 Messer-Layout 1.7 Messer-Layout M63 M63 C C SECT C-C B6307 2-7S Symbol Name Symbol Name M63 Messerachsenmotor B6307 Messerachsen-Nullpunktsensor

DEUKYX
2-6193-5100
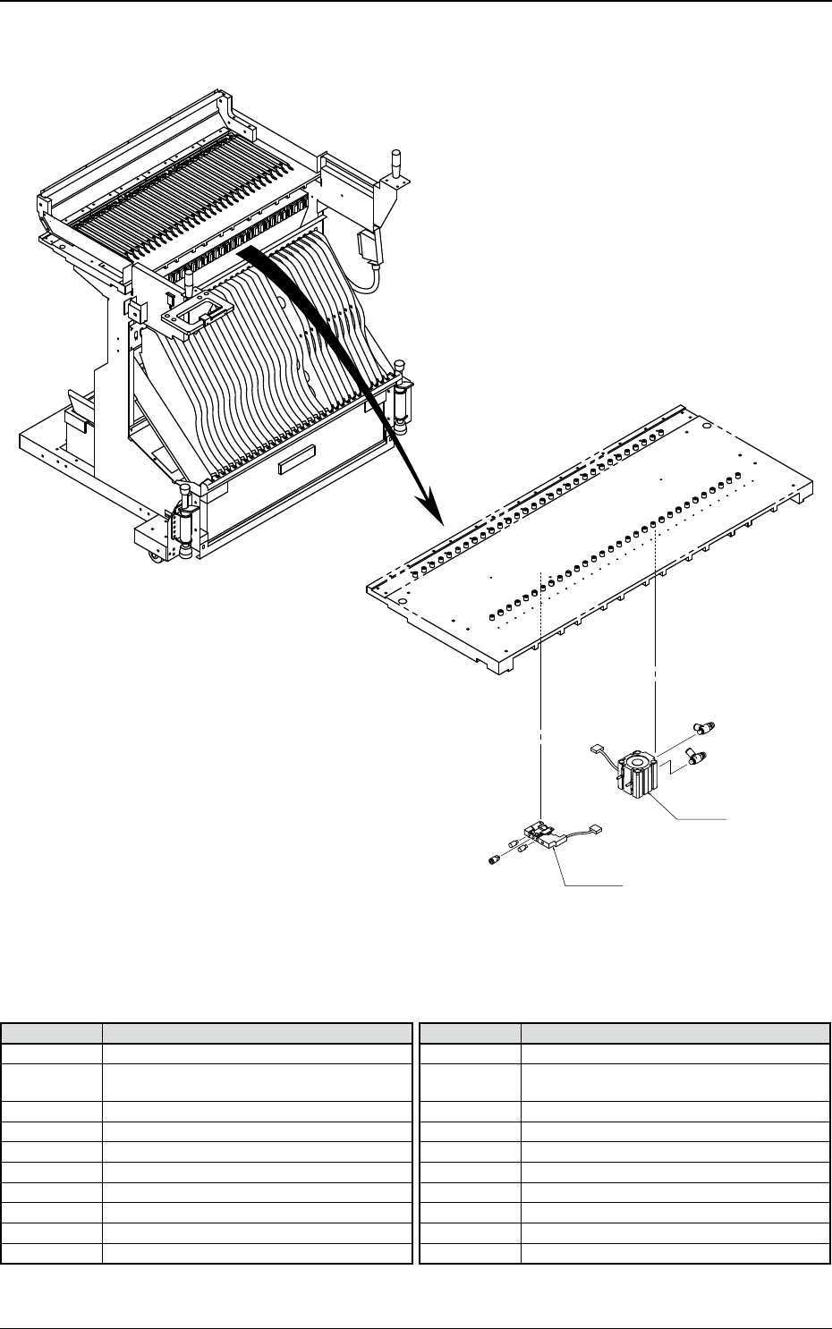
1.6 Feeder-Wagen-Layout
1.6 Feeder-Wagen-Layout
Y6912
B6913
2-6S
Symbol Name Symbol Name
Y6912 Feederklemmung
B6913 Feeder-Klemmung unterer Endschalter
(Klemmung)

DEUKYX
2-7193-5100
1.7 Messer-Layout
1.7 Messer-Layout
M63
M63
C
C
SECT C-C
B6307
2-7S
Symbol Name Symbol Name
M63 Messerachsenmotor
B6307 Messerachsen-Nullpunktsensor

DEUKYX
2-8193-5100
1.8 Layout Kopfeinheit (Allgemeine Ansicht)
1.8 Layout Kopfeinheit (Allgemeine Ansicht)
Kopfrotationseinheit
Einheit Aufnehmer O/U
Aufnehmerauswahleinheit
Einheit Kopf O/U
2-8S
Symbol Name Symbol Name