XP142E 机械手册MEC-XP142-2.1S.pdf - 第23页
1. 安全指南 MEC-XP142-2.1S 14 XP-142E 机械手册 MEMO:

MEC-XP142-2.1S 1. 安全指南
XP-142E 机械手册 13
1.5 [ 紧急停止 ] 按钮
发生紧急情况时,请按下任何一个红色的 [ 紧急停止 ] 按钮,使机器停止。[ 紧急停止 ] 按
钮的位置如下图所示。

1. 安全指南 MEC-XP142-2.1S
14 XP-142E 机械手册
MEMO:

MEC-XP142-2.1S 2. 机器主体
XP-142E 机械手册 15
2. 机器主体
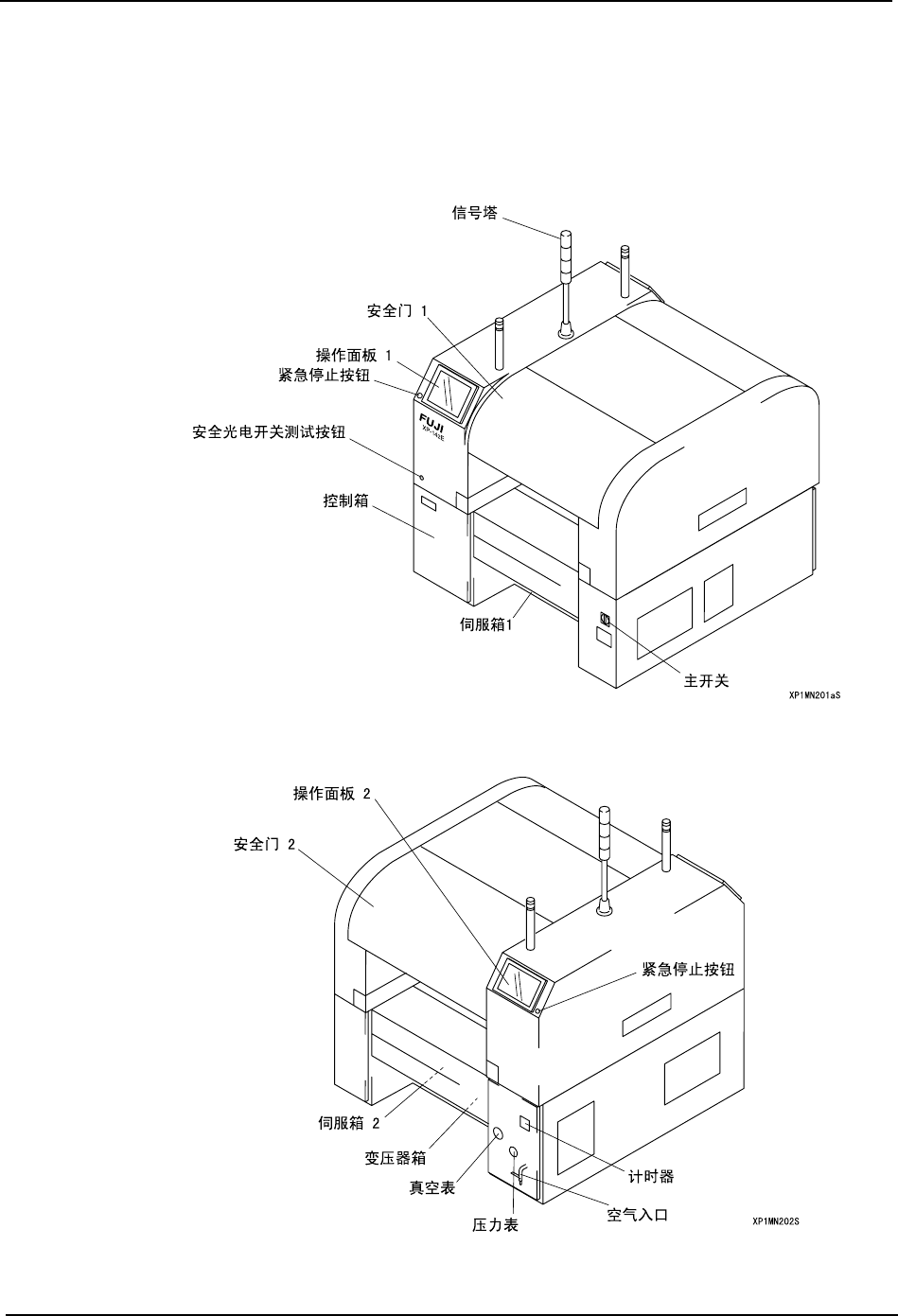
2.1 机器的构成部分
2.1.1 机器前侧 (Side 1)
2.1.2 机器后侧 (Side 2)