JX-350_SPE.pdf - 第21页
17 识别标记的基 本材质 · 采用未 涂层的铜 或已涂层 的铜。 · 识别标 记表面与 相邻的印 刷电路材质 之间,必须有 明显的反差 。 · 识别标 记不得被 氧化,也 不得使用粗 糙老化的材质 。 识别标记的涂 层 识别标记的表面 应进行下 述涂层。 · 透明的 抗氧化涂 层 · 镀镍 · 镀锡 · 镀金 · 热空气均涂钎焊 Hot Air Leveler 标记形状 · 标准标记包 括「识别 标记形状」 中所示的 13 种 类型。…

16
4-7-6 基板位置校正功能
基板基准标记识别视野
□ 6.3mm(摄像机视野范围)
認識マーク
基板
6.3mm
6.3mm
基板認識視野
图 基板基准标记识别视野
基板基准标记识别窗口尺寸
最大到 6.3mm 的范围内可进行调整。但应确保识别标记与周围的间隙。
识别标记的种类与校正方法
・基板基准标记
在基板上设置 2 处或 3 处标记,用于校正整块基板。
检测出 2 处时,可对整块基板的位置偏移、角度偏移、基板的伸缩进行校正。
检测出 3 处时,可进一步对基板的 XY 直角的偏移进行校正。
・元件定位标记
进行 IC(QFP)等精度要求更高的贴片时,要使用单个元件上设置的 2 处或 3 处标记,以贴片
点为单位进行贴片位置的校正。
・区域·元件定位标记
对有多个元件贴片位置的组,可设置 2 处或 3 处(任意位置)标记,以便对组内元件的贴片位
置进行校正。
注 1: 可设置在任意位置上。但有 3 处基准标记时,标记的 3 个点不能排列在一条直线上。
(建议在基板 4 个角设置标记)
注 2: 对应 2 次传送(超过 650×360mm 的基板)时,需要设置基准标记 2 处或 3 处,2 次传送各
1 套(合计 4 处或 6 处),对应选购项的 3 次传送(超过 1,200×360mm 的基板)时,需要
设置基准标记 2 处或 3 处,3 次传送各 1 套(合计 6 处或 9 处)。
搭 載 グ ル ー プ
エ リ ア 部 品 位 置 決 め マ ー ク
部 品 位 置 決 め マ ー ク
基 準 マ ー ク
图 基准标记与元件定位标记
基板识别视野
识别标记
区域元件定位标记
元件定位标记
贴片组
基准标记

17
识别标记的基本材质
· 采用未涂层的铜或已涂层的铜。
· 识别标记表面与相邻的印刷电路材质之间,必须有明显的反差。
· 识别标记不得被氧化,也不得使用粗糙老化的材质。
识别标记的涂层
识别标记的表面应进行下述涂层。
· 透明的抗氧化涂层
· 镀镍
· 镀锡
· 镀金
· 热空气均涂钎焊 Hot Air Leveler
标记形状
· 标准标记包括「识别标记形状」中所示的 13 种类型。
· 「识别标记形状」以外的标记,用户可制作模板,通过图案匹配功能进行识别。
注1. 仅限于基准标记,不包括基准领域标记。
注2. 除对象标记的形状外,在视野范围内不得有形状类似的图案。必须具有明显的反差。
· 三角形、黑白相间的方格以及用户模板,旋转 90°后标记应可识别。
图 识别标记的形状
识别标记依照 EIAJ ET-7302「表面贴装印刷电路板用识别标记」规定。
圆形
正方形
菱形
三角形
倒三角形
黑白相间方格
十字形
中空圆形
中空正方形
中空菱形
中空三角形
中空倒三角形
黑白相间方格

18
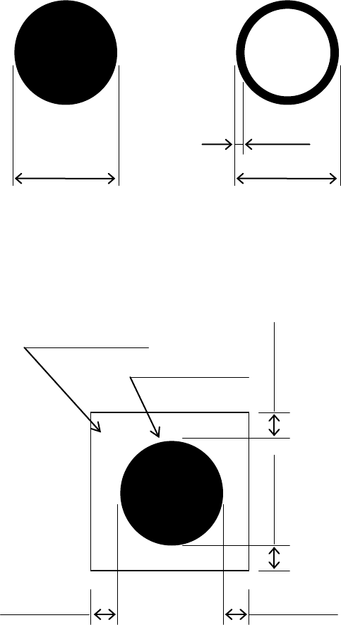
尺寸与公差
外形尺寸为 0.5mm~3.0mm,公差为±10%以下。
中空形状的边线部分宽度应在 0.2mm 以上。
图 识别标记的尺寸与公差
间隙
识别标记周围空间应无导体图案、抗焊剂以及记号等其他标记,且该空间的尺寸,最好是离识别标
记外围 0.5mm 以上的正方形。
图 识别标记的间隙
0.5~3.0mm
0.5~3.0mm
0.2mm 以上
0.5mm 以上 0.5mm 以上
0.5mm 以上
间隙范围
0.5mm 以上
识别标记