KE-3010A_KE-3010AC_KE-3020VA_KE-3020VRA-Rev07.pdf - 第106页
- - 50. MINIPAT&SO TCHECKTABL ECOMPONENTS 1 1 5 4 2 1 7 6 1 6 1 5 1 0 1 1 9 1 3 8 1 2 1 4 1 4 7 3

- -
REF.NO NOTE PARTNO DESCRIPTION Qty
1 400-47171 LCDBRACKETR 1
2 SL-6041092-TN SCREW 4
3 400-47170 LCDBRACKETF 1
4 SL-6041092-TN SCREW 4
5 SD-0640246-SP HINGESCREWD=6.35H=2.4 2
6 161-87007 WINGBOLT 1
7 WP-0641601-SC WASHER 1
8 WS-0610002-KN SPRINGWASHER6.1X12.2X1.5 1
9 401-58158 15INCHLCDMONITOR 1
10 401-47627 ASM_KEYBOARD_UNIT 1
11 SL-4030691-SC SCREWM3L=6 (2)
12 401-23713 KBCLAMP (1)
13 401-36976 KB_BRACKET (1)
14 401-23194 USBKEYBOARDSPASM (1)
15 SL-6041092-TN SCREW 2
16 401-41515 USBSELECTPCBASM 1
17 SL-4030691-SC SCREWM3L=6 4
18 401-47142 SWITCH_PANEL_USB_CONN_BR 1
19 SL-4021091-SC SCREWM2L=10 2
20 401-48260 USBCABLE3M 1
21 HA-0055300-10 LENSGREEN 2
22 HA-0055300-2A BEZEL 2
23 E5348-033-100 CABLEPROTECTOR106MM 0.16
24 401-47576 USB_SELECTOR_BR 1

- -
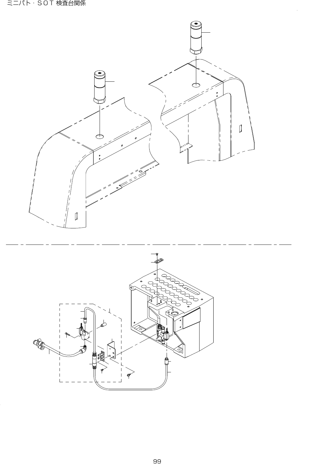
50.MINIPAT&SOTCHECKTABLECOMPONENTS
1
1
5
4
2
1 7
6
1 6
1 5
1 0
1 1
9
1 3
8
1 2
1 4
1 4
7
3

- -
REF.NO NOTE PARTNO DESCRIPTION Qty
1 400-48055 MINIPATLITEASM 2
2 BT-0600400-EC URETHANETUBEBLUE6X4 0.15
3 BT-0400251-EA URETHANETUBEBLUE4X2.5 0.25
4 400-45984 SOTCHECKBASE 1
5 SM-1030601-SC SCREWM3L=6 2
6 PJ-3010405-05 HALFUNION 1
7 401-47666 SOT_VALVE_20VA_ASM 1
8 PV-1305410-00 3-PORTSOLENOIDVALVE (1)
9 PX-0505010-00 SILENCER (1)
10 PJ-3010405-05 HALFUNION (1)
11 PJ-3040605-02 ELBOWUNION6XM5 (1)
12 SM-6031202-TN SCREWM3X12 (2)
13 401-46942 CAL_VALVE_BRKT (1)
14 PF-0100030-A0 AIRSUCTIONFILTER (1)
15 SM-1030601-SC SCREWM3L=6 (2)
16 BT-0400251-EA URETHANETUBEBLUE4X2.5 (0.08)
17 SL-6030892-TN SCREWM3L=8 2