KE-3010A_KE-3010AC_KE-3020VA_KE-3020VRA-Rev07.pdf - 第135页
- - REF.NO NOTE PARTNO DESCRIPTION Qty 1 401-47449 B_LIF_FRAME_R 1 2 #02 401-10119 B _LIF_FRAME_R 1 3 PC-0152030-00 SPEEDCONTROLLER 2 4 400-93854 CYLINDERSCREWM8L=125 4 5 SL-6083092-TN SCREWM8L=3…

- -
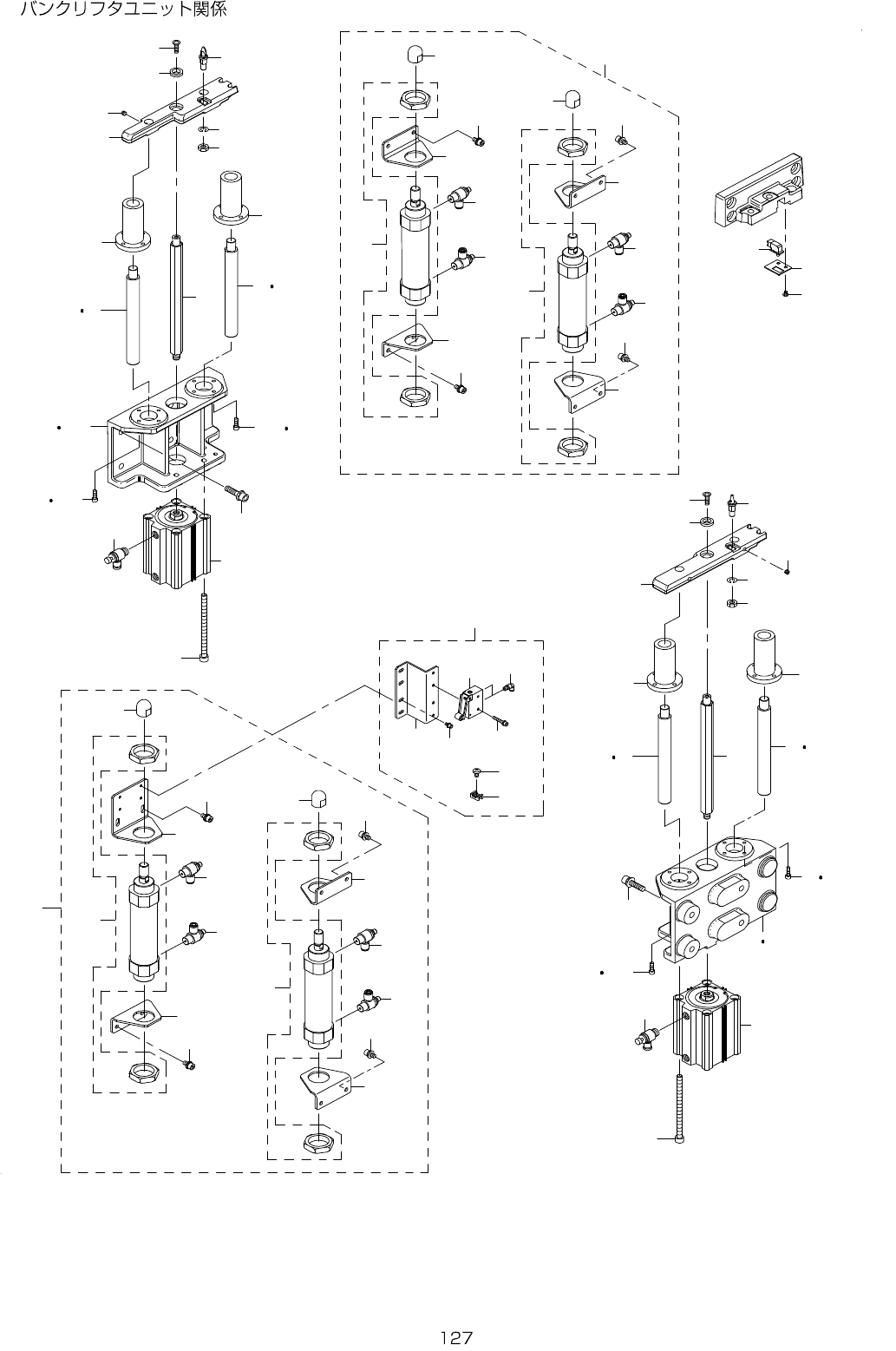
64.BANKLIFTERUNITCOMPONENTS
5
5
1 2
9
2 8
4 3
2 0
1 9
4 2
8 2 3
8 2 3
4 1
4 1
2 1
2 1
2 2 2 3
2 2 2 3
3 3
3 2
3 1
6 7
6 7
6 7
6 7
1 7 1 8
1 6
1 5
1 4
1 3
3 0
2 9
1 1
1 0
4
2 4
2 5
2 7
3
4 0
3 5
3 6
3 6
3 7
3 7
3 8
3 9
3 9
1 2
2 6
3 8
3 7
3 7
3 6
3 6
3 5
3 9
3 9
5 0
5 0
4 5
4 6
4 6
4 7
4 7
4 9
4 4
5 0
5 0
4 9
4 7
4 8
4 6
4 6
4 5
5 1
5 2
5 3
5 4
5 5
5 6
5 7
5 8
3 4

- -
REF.NO NOTE PARTNO DESCRIPTION Qty
1 401-47449 B_LIF_FRAME_R 1
2
#02
401-10119 B_LIF_FRAME_R 1
3 PC-0152030-00 SPEEDCONTROLLER 2
4 400-93854 CYLINDERSCREWM8L=125 4
5 SL-6083092-TN SCREWM8L=30 8
6 401-47453 LIFTER_SHAFT 4
7
#02
400-93838 LIFTER_SHAFT 4
8 SM-6051602-TN SCREW 8
9 401-10295 LIFCYLSHAFT 1
10 E2622-729-000 LIFTERTHRUSTCOLLAR 1
11 SM-1062052-TP SCREWM6L=20 1
12 401-47452 BANK_LIFTER_R 1
13 400-93840 BANKLOCATEPINC2 1
14 NM-6080003-SC NUTM8 1
15 WS-0820002-KN SPRINGWASHERM8 1
16 SM-8060552-TP SCREWM6L=5 2
17 401-47448 B_LIF_FRAME_L 1
18
#02
401-10117 B_LIF_FRAME_L 1
19 PC-0152030-00 SPEEDCONTROLLER 2
20 400-93854 CYLINDERSCREWM8L=125 4
21 SB-8200003-00 BEARING 2
22 SM-6051602-TN SCREW 8
23
#02
SM-6051002-TN BOLT 16
24 E2622-729-000 LIFTERTHRUSTCOLLAR 1
25 SM-1062052-TP SCREWM6L=20 1
26 401-47451 BANK_LIFTER_L 1
27 SM-8060552-TP SCREWM6L=5 2
28 400-93839 BANKLOCATEPINB2 1
29 NM-6080003-SC NUTM8 1
30 WS-0820002-KN SPRINGWASHERM8 1
31 400-93849 SENSORPLATE 1
32 SM-3040652-TN SCREWM4L=6 2
33 400-92511 SWITCHD3DC-3 1
34
#01
401-47455 E_BANK_SUPPORT_UNIT 1
35 400-94347 CYLINDERCM2B40-75 (2)
36 PC-0152030-00 SPEEDCONTROLLER (4)
37 401-47479 CYLINDER_BR (4)
38 400-93842 LIFTER_SHAFT_HEAD (2)
39 SL-6061292-TN SCREW (8)
40 PA-6307503-00 AIRCYLINDER 1
41 SB-8200003-00 BEARING 2
42 PA-6307503-00 AIRCYLINDER 1
43 401-10295 LIFCYLSHAFT 1
44
#02
401-60005 EBANKSUPPORTUNIT 1
45 400-94347 CYLINDERCM2B40-75 (2)
46 PC-0152030-00 SPEEDCONTROLLER (4)
47 401-47479 CYLINDER_BR (3)
48 401-11180 CYLINDER_BR_U (1)
49 400-93842 LIFTER_SHAFT_HEAD (2)
50 SL-6061292-TN SCREW (8)
51
#02
401-14146 BANK_VALVE_ME_ASM 1
52 401-11181 BANK_VALVE_BR_B (1)
53 SL-6040892-TN BOLT (2)
54 PV-0105051-00 MECHANICALVALVE (1)
55 PJ-3040405-05 ELBOW (2)
56 SL-6042592-TN SCREW (2)
57 HX-0029400-00 FIXEDBASE (1)
58 SM-4040801-SC SCREWM4X0.7L=8 (1)

- -
65.MCHANGERTRUCKUNITCOMPONENTS
2 5
1 0
1 7
2 1
2 1
2 2
2 2
1 8
1 9
2 0
1
1 4
1 2
1 3
1 1
2 3
2 4
1
9 2
9 1
9 1
9 3
9 4
9 3
9 4
9 5
9 5
9 6
9 7
7 9
7 9
9 7
A
7 8
9 6
9 2
9 8 9 9
1 0 0
1 0 2
1 0 3
1 0 4
1 0 6
1 1 4
1 0 5
1 0 8
1 0 8
1 1 3
1 0 9
1 1 0
1 1 2
8 0
8 1
8 2
8 2
8 2
8 2
8 3
8 3
8 4
8 4
8 5
8 8
A
8 6
8 6
8 5
8 6
8 6
8 3
8 3
8 7
9 0
8 9
8 7
8 8
9 0
8 9
6 0
5 9
6 1
2
4
6
5
7
3
1 2 0
1 5
6 4
6 6
6 3
7 0
6 2
6 9
6 8
6 5
6 7
6 6
8 9
7 5
7 3
7 2
7 4
7 1
7 7
7
6
5
4
3
1 2 0
2
7 6
1 6
8 9
1 1 8
1 1 7
1 1 9
1 1 6
1 1 5
4 1
4 5
4 4
4 3
4 2
3 5
3 9
3 8
3 6
3 7
3 9
3 8
3 5
3 6
3 7
4 0
4 5
4 1
4 2
4 3
4 4
3 4
3 3
3 7
4 2
4 3
3 9
4 5
4 4
4 1
3 5
3 1
2 8 3 0
3 2
3 9
3 5
3 6
3 8
3 8
3 6
3 7
4 2
4 3
4 4
4 5
3 2
2 9 3 0
2 6 2 7
3 1
5 6
5 5
5 4
5 3
4 9
4 8
5 0
5 0
4 8
4 7
5 3
5 6
5 7
5 1
5 5
5 4
4 9
4 9
4 8
5 0
4 7
5 4
5 5
5 6
5 7
5 3
5 1
5 0
4 8
4 9
5 7
5 4
5 5
5 6
4 7
5 3
4 7
5 1
5 0
4 8
4 9
5 6
5 5
5 4
4 9
4 8
5 0
5 3
5 4
5 5
5 6
5 3
4 7
4 7
5 0
4 8
4 9
5 4
5 5
5 3
5 6
4 7
5 0
4 9
4 8
1 0 8
1 1 1
1 0 7
5 3
5 7
5 6
5 5
5 4
1 0 1
1 2 4
1 2 1
1 2 3
1 2 2
1 2 4
1 2 1
1 2 2
3 2
3 2
4 0
4 0
4 0
4 6
4 6
4 6
4 6
4 1
5 8
5 2
5 8
5 2
5 8
5 2
5 8
5 2
5 1
5 2
4 7
5 8
5 2
5 8
5 7
5 1
5 7
5 2
5 8
5 2
5 8
5 1
5 7
5 1
5 7
1 2 5
1 2 6
1 2 3
1 2 5
1 2 6
5 1