KE-3010A_KE-3010AC_KE-3020VA_KE-3020VRA-Rev07.pdf - 第98页
- - 46. FPICOMPON ENTS(1) 2 2 4 1 4 0 4 0 4 2 4 2 4 1 2 3 2 8 3 8 3 5 3 7 3 6 3 2 3 3 3 4 3 2 3 3 3 4 3 1 2 9 3 0 3 9 2 6 2 7 2 6 2 6 2 6 2 7 2 5 2 4 1 7 3 2 0 1 9 2 1 1 1 1 3 1 2 1 2 1 3 1 1 1 8 2 8 9 1 0 6 5 5 5 6 5…

- -
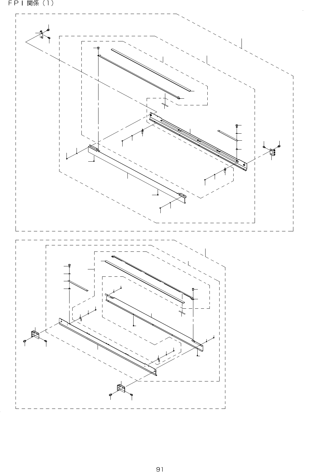
REF.NO NOTE PARTNO DESCRIPTION Qty
1 400-97422 COPLANARITYSENSOR 1
2 400-97624 COPLANARITYUNITCPUASM 1
3 400-97209 CPUBOARD (1)
4 400-97878 DIMM1GB (1)
5 401-09407 COPLASSDBR (1)
6 400-97423 CPCIBACKBOARD 1
7 SL-4851091-SC SCREW 4
8 400-99486 COPLANARITYSENSORBASEASM 1
9 400-94694 COPLAHOLDBLOCK (1)
10 400-94690 COPLAHOLDBASE (1)
11 SM-6051202-TN SCREWM5X0.8L=12 (3)
12 400-94691 COPLABRR 1
13 400-94692 COPLABRL 1
14 SL-6041092-TN SCREW 4
15 SL-6061292-TN SCREW 2
16 SM-4041001-SC SCREWM4X0.7L=10 2
17 SM-6062002-TN SCREWM6L=20 2
18 SL-4040891-SC SCREWM4L=8 4
19 E1038-871-000 PLATENLOCKCAMSCREW 2
20 401-13994 COPLANARITYSENSORPSUUNIT 1
21 401-11658 COPLAPOWERBOXBR (1)
22 E1038-871-000 PLATENLOCKCAMSCREW (2)
23 SL-4040891-SC SCREWM4L=8 (2)
24 HX-0029400-00 FIXEDBASE (4)
25 SM-4040601-SC SCREWM4X0.7L=6 (4)
26 HX-0057700-00 POWERSUPPLY (1)
27 HA-0052700-00 CIRCUITPROTECTOR (1)
28 E5348-033-100 CABLEPROTECTOR106MM (0.12)
29 400-98182 COPLAPOWERBOXCOVER (1)
30 400-97434 COPLAMONITORSWITCHBOARD 1
31 400-99488 APERTURELABEL 1
32 401-14258 COPLAOPTINPLATE 2
33 PH-0600282-U0 PARALLELPIN 2
34 HX-0034400-00 HARNESSPARTS 4
35 SL-6041292-TN SCREW 1
36 NM-6040001-SC NUTM4X0.7TYPE1 1
37 400-99903 PILOTLAMP 2
38 EA-9500B02-00 CABLEBAND150 20
39 E4595-855-000 VACSPONGE 1
40 401-47570 COPLA_SELECT_PCB_BR 1
41 SM-9082003-SC SCREWM8L=20 4
42 SL-4030691-SC SCREWM3L=6 4
43 WP-0841601-SC WASHER8.4X17.4X1.6 4
44 WS-0820002-KN SPRINGWASHERM8 4
45 401-13714 KEYSWITCHCABLEASM 1
46
#01
401-47566 FMLA_BR 1
47
#01
SL-6040892-TN SCREWM4L=8 2

- -
46.FPICOMPONENTS(1)
2 2
4 1
4 0
4 0
4 2
4 2
4 1
2 3
2 8
3 8
3 5
3 7
3 6
3 2
3 3
3 4
3 2
3 3
3 4
3 1
2 9
3 0
3 9
2 6
2 7
2 6
2 6
2 6
2 7
2 5
2 4
1
7
3
2 0
1 9
2 1
1 1
1 3
1 2
1 2
1 3
1 1
1 8
2
8
9
1 0
6
5
5
5
6
5
4
1 7
1 6
1 5
1 4
1 9
2 1
2 0

- -
REF.NO NOTE PARTNO DESCRIPTION Qty
1 401-47460 FPI_F_ASM 1
2 401-14948 FPIFSUBASM (1)
3 401-10740 FPIBRB (1)
4 401-10741 FPICOVERB (1)
5 SM-6030402-TN SCREWM3X4 (9)
6 WP-0320501-SC WASHERM3 (4)
7 E6025-729-0A0 FPICOVERU20ASM (1)
8 E6025-729-000 FPICOVERU20 (1)
9 E6028-729-000 FPIPLATEU20 (1)
10 SM-6030402-TN SCREWM3X4 (2)
11 400-94870 HARNESSCLAMPA (2)
12 SM-6030402-TN SCREWM3X4 (2)
13 WP-0320501-SC WASHERM3 (2)
14 E8626-729-0A0 FPILEDBOARDASM. (4)
15 SM-5030801-SC SCREWM3X0.5L=8 (8)
16 E2143-715-000 TIMERSPACERA (8)
17 E4901-760-000 POLYSLIDERTHRUSTWASHER (8)
18 E6033-729-000 FPIINSULATIONSHEET (0.2)
19 401-47456 FPI_BR_F (2)
20 SL-6051292-TN SCREWM5L=12 (4)
21 SL-6061292-TN SCREWM6L=12 (2)
22 401-14947 FPI_R_ASM 1
23 401-14949 FPI_R_SUB_ASM (1)
24 401-10740 FPIBRB (1)
25 401-10741 FPICOVERB (1)
26 SM-6030402-TN SCREWM3X4 (9)
27 WP-0320501-SC WASHERM3 (4)
28 E6025-729-0A0 FPICOVERU20ASM (1)
29 E6025-729-000 FPICOVERU20 (1)
30 E6028-729-000 FPIPLATEU20 (1)
31 SM-6030402-TN SCREWM3X4 (2)
32 400-94870 HARNESSCLAMPA (2)
33 SM-6030402-TN SCREWM3X4 (2)
34 WP-0320501-SC WASHERM3 (2)
35 E8626-729-0A0 FPILEDBOARDASM. (4)
36 SM-5030801-SC SCREWM3X0.5L=8 (8)
37 E2143-715-000 TIMERSPACERA (8)
38 E4901-760-000 POLYSLIDERTHRUSTWASHER (8)
39 E6033-729-000 FPIINSULATIONSHEET (0.2)
40 401-10739 FPI_BR_R (2)
41 SL-6051292-TN SCREWM5L=12 (4)
42 SL-6061292-TN SCREWM6L=12 (2)