TCM-X200 (4).pdf - 第71页
(C03_02)X[mm] (C03_02)X[mm] (C03_02)X[mm] (C03_02)X[mm] (C03_02)X[mm] 、 、 、 、 、 Y[mm] Y[mm] Y[mm] Y[mm] Y[mm] 设定从贴装坐标基准 (No) 到各线路板原点 (O 0 1 ~ On) 的坐标数据。 单位 : mm 线路板原点是重复线路板的坐标基准。 该坐标基准把以下 (C03-03) 说明中的 Z 数据定为 0 ° , 必须和贴装…

(C03) (C03)
(C03) (C03)
(C03)
贴装数据贴装数据
贴装数据贴装数据
贴装数据
(0)(0)
(0)(0)
(0)
编制重复线路板程序时使用的数据。
Fig.3B110 Fig.3B110
Fig.3B110 Fig.3B110
Fig.3B110
编辑界面例编辑界面例
编辑界面例编辑界面例
编辑界面例
(C03_01) 0-No.(C03_01) 0-No.
(C03_01) 0-No.(C03_01) 0-No.
(C03_01) 0-No.
表示贴装数据(0)的步骤号。
该步骤号成为重复的各线路板编号。
在该行设定各线路板的数据。
TCM-X210 TCM-X300TCM-X21 0 TCM-X300
TCM-X210 TCM-X300TCM-X21 0 TCM-X300
TCM-X210 TCM-X300
Fig.3B112 Fig.3B112
Fig.3B112 Fig.3B112
Fig.3B112
重复线路板程序例重复线路板程序例
重复线路板程序例重复线路板程序例
重复线路板程序例
2.5 2.5
2.5 2.5
2.5
贴装数据贴装数据
贴装数据贴装数据
贴装数据
1
O-No.
Fig.3B111Fig.3B111
Fig.3B111Fig.3B111
Fig.3B111
0308-001 2-51
线路板线路板
线路板线路板
线路板
44
44
4
线路板线路板
线路板线路板
线路板
33
33
3
线路板线路板
线路板线路板
线路板
22
22
2
线路板线路板
线路板线路板
线路板
11
11
1
线路板线路板
线路板线路板
线路板
11
11
1
线路板线路板
线路板线路板
线路板
22
22
2
线路板线路板
线路板线路板
线路板
33
33
3
线路板线路板
线路板线路板
线路板
44
44
4
0-No.4 0-No.4
0-No.4 0-No.4
0-No.4
0-No.3 0-No.3
0-No.3 0-No.3
0-No.3
0-No.2 0-No.2
0-No.2 0-No.2
0-No.2
0-No.1 0-No.1
0-No.1 0-No.1
0-No.1
0-No.1 0-No.1
0-No.1 0-No.1
0-No.1
0-No.2 0-No.2
0-No.2 0-No.2
0-No.2
0-No.3 0-No.3
0-No.3 0-No.3
0-No.3
0-No.4 0-No.4
0-No.4 0-No.4
0-No.4
TCM-X110 TCM-X110
TCM-X110 TCM-X110
TCM-X110

(C03_02)X[mm](C03_02)X[mm]
(C03_02)X[mm](C03_02)X[mm]
(C03_02)X[mm]
、、
、、
、
Y[mm]Y[mm]
Y[mm]Y[mm]
Y[mm]
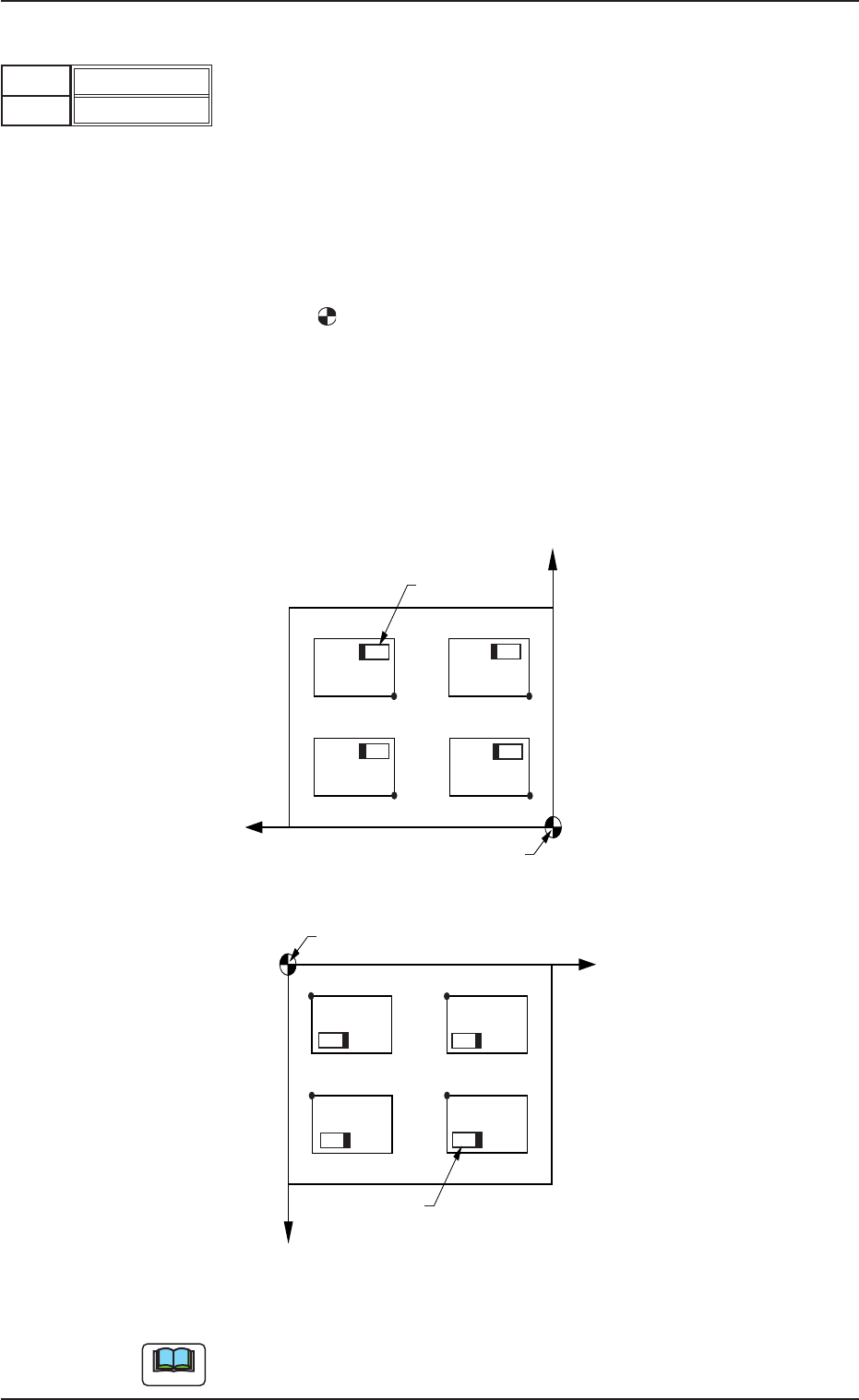
设定从贴装坐标基准(No)到各线路板原点(O
0 1
~On)的坐标数据。
单位 : mm
线路板原点是重复线路板的坐标基准。
该坐标基准把以下(C03-03)说明中的 Z 数据定为 0°,必须和贴装坐
标基准(No)在同一侧角落。
NN
NN
N
oo
oo
o
::
::
: 的中心为贴装坐标基准
OO
OO
O
0 10 1
0 10 1
0 1
::
::
: 线路板 1 的线路板原点
OO
OO
O
0202
0202
02
::
::
: 线路板 2 的线路板原点
OO
OO
O
0303
0303
03
::
::
: 线路板 3 的线路板原点
OO
OO
O
0404
0404
04
::
::
: 线路板 4 的线路板原点
Fig.3B114 Fig.3B114
Fig.3B114 Fig.3B114
Fig.3B114
重复线路板例重复线路板例
重复线路板例重复线路板例
重复线路板例
步骤号的最终行不要设定此坐标数据。
定为 “+000.000”。
2.5 2.5
2.5 2.5
2.5
贴装数据贴装数据
贴装数据贴装数据
贴装数据
010.000
010.000
X [mm]
Y [mm]
Fig.3B113Fig.3B113
Fig.3B113Fig.3B113
Fig.3B113
0308-001 2-52
TCM-X110 TCM-X110
TCM-X110 TCM-X110
TCM-X110
TCM-X210 TCM-X300 TCM-X210 TCM-X300
TCM-X210 TCM-X300 TCM-X210 TCM-X300
TCM-X210 TCM-X300
元件元件
元件元件
元件
贴装坐标基准贴装坐标基准
贴装坐标基准贴装坐标基准
贴装坐标基准
(N(N
(N(N
(N
OO
OO
O
))
))
)
贴装坐标基准贴装坐标基准
贴装坐标基准贴装坐标基准
贴装坐标基准
(N(N
(N(N
(N
OO
OO
O
))
))
)
线路板线路板
线路板线路板
线路板
22
22
2
元件元件
元件元件
元件
YY
YY
Y
XX
XX
X
XX
XX
X
OO
OO
O
0404
0404
04
OO
OO
O
0202
0202
02
OO
OO
O
0101
0101
01
OO
OO
O
0303
0303
03
YY
YY
Y
线路板线路板
线路板线路板
线路板
11
11
1
线路板线路板
线路板线路板
线路板
33
33
3
线路板线路板
线路板线路板
线路板
44
44
4
线路板线路板
线路板线路板
线路板
11
11
1
线路板线路板
线路板线路板
线路板
22
22
2
线路板线路板
线路板线路板
线路板
33
33
3
线路板线路板
线路板线路板
线路板
44
44
4
Note

(C03_03)Z[(C03_03)Z[
(C03_03)Z[(C03_03)Z[
(C03_03)Z[
°°
°°
°
]]
]]
]
设定各线路板的角度数据。
请把基准线路板设定为 0 °。
下图以线路板 1 为基准。
单位: °( 度)
数据有效范围数据有效范围
数据有效范围数据有效范围
数据有效范围 :±0°、±90°、 ±180°、 ±270°
NN
NN
N
oo
oo
o
::
::
: 的中心为贴装坐标基准
OO
OO
O
0 10 1
0 10 1
0 1
::
::
: 线路板 1 的线路板原点
OO
OO
O
0202
0202
02
::
::
: 线路板 2 的线路板原点
OO
OO
O
0303
0303
03
::
::
: 线路板 3 的线路板原点
OO
OO
O
0404
0404
04
::
::
: 线路板 4 的线路板原点
线路板1: 0° 线路板2: 90°
线路板3: 180° 线路板4: 270°
Fig.3B116Fig.3B116
Fig.3B116Fig.3B116
Fig.3B116
重复线路板例重复线路板例
重复线路板例重复线路板例
重复线路板例
步骤号的最终行不要设定此角度数据。
定为 “+000.00”。
2.5 2.5
2.5 2.5
2.5
贴装数据贴装数据
贴装数据贴装数据
贴装数据
+000.00
Z[°]
Fig.3B115Fig.3B115
Fig.3B115Fig.3B115
Fig.3B115
0308-001 2-53
TCM-X210 TCM-X300 TCM-X210 TCM-X300
TCM-X210 TCM-X300 TCM-X210 TCM-X300
TCM-X210 TCM-X300
元件元件
元件元件
元件
贴装坐标基准贴装坐标基准
贴装坐标基准贴装坐标基准
贴装坐标基准
(N(N
(N(N
(N
OO
OO
O
))
))
)
YY
YY
Y
OO
OO
O
0202
0202
02
OO
OO
O
0303
0303
03
OO
OO
O
0101
0101
01
OO
OO
O
0404
0404
04
线路板线路板
线路板线路板
线路板
33
33
3
线路板线路板
线路板线路板
线路板
22
22
2
线路板线路板
线路板线路板
线路板
44
44
4
线路板线路板
线路板线路板
线路板
11
11
1
元件元件
元件元件
元件
线路板线路板
线路板线路板
线路板
33
33
3
XX
XX
X
YY
YY
Y
OO
OO
O
0202
0202
02
OO
OO
O
0303
0303
03
OO
OO
O
0404
0404
04
OO
OO
O
0101
0101
01
线路板线路板
线路板线路板
线路板
11
11
1
线路板线路板
线路板线路板
线路板
44
44
4
线路板线路板
线路板线路板
线路板
22
22
2
贴装坐标基准贴装坐标基准
贴装坐标基准贴装坐标基准
贴装坐标基准
(N(N
(N(N
(N
OO
OO
O
))
))
)
Note
TCM-X110 TCM-X110
TCM-X110 TCM-X110
TCM-X110