TCM-X200 (4).pdf - 第87页
(2) (2) (2) (2) (2) 操作数据的编制 操作数据的编制 操作数据的编制 操作数据的编制 操作数据的编制 • 线路板数据 线路板数据 线路板数据 线路板数据 线路板数据 Table 3B3 1 Table 3B3 1 Table 3B3 1 Table 3B3 1 Table 3B3 1 X( X( X( X( X( 横 横 横 横 横 )[mm] )[mm] )[mm] )[mm] )[mm] 330.000 330.0…

3.53.5
3.53.5
3.5
重复线路板重复线路板
重复线路板重复线路板
重复线路板
((
((
(
有检测不良分割线路板机能有检测不良分割线路板机能
有检测不良分割线路板机能有检测不良分割线路板机能
有检测不良分割线路板机能
))
))
)
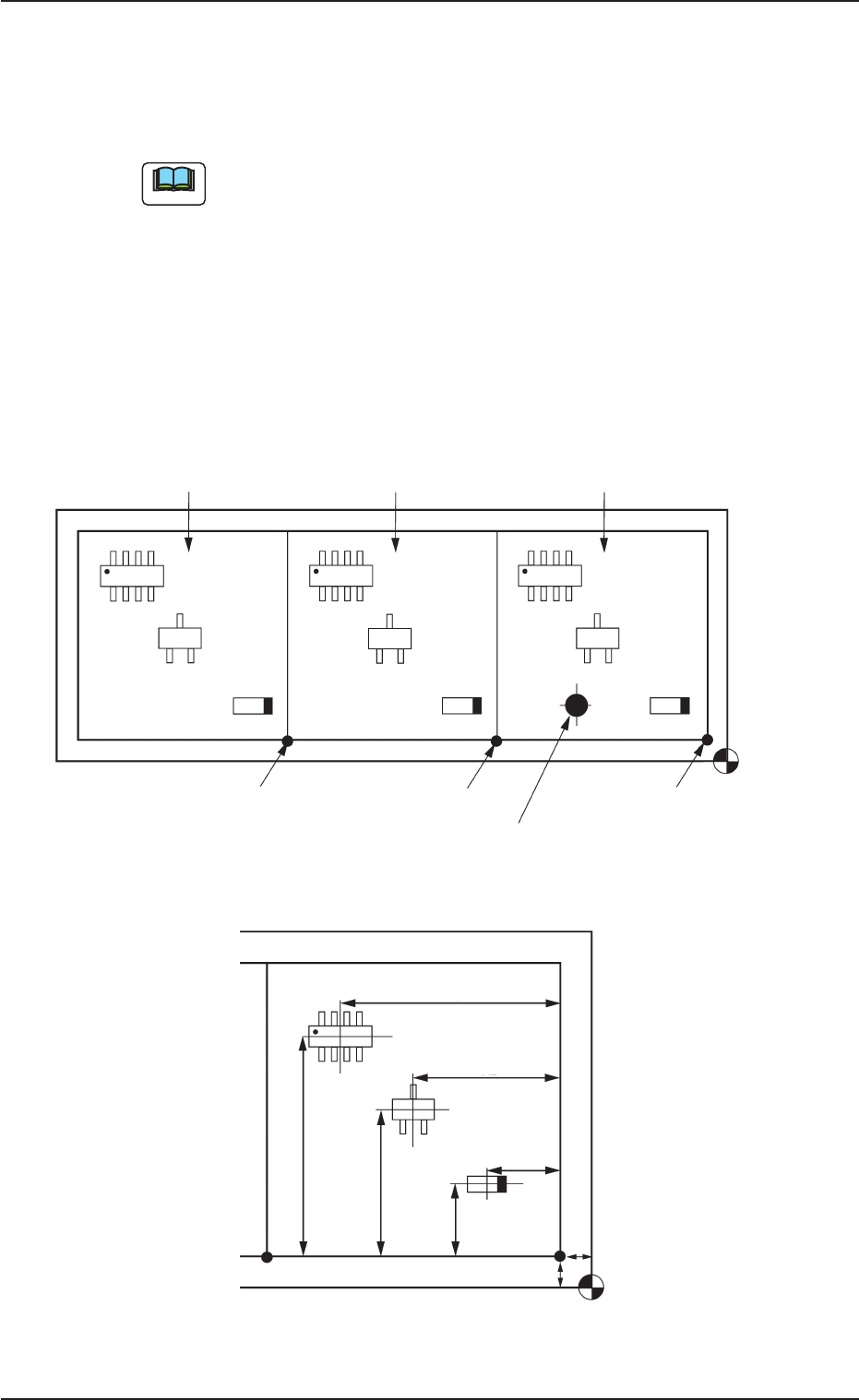
数据创建的典例如下。
不能在没有装备检测分割线路板不良机能的装置上使用。
( 1 )( 1 )
( 1 )( 1 )
( 1 )
线路板程序创建信息线路板程序创建信息
线路板程序创建信息线路板程序创建信息
线路板程序创建信息
•
线路板尺寸、线路板尺寸、
线路板尺寸、线路板尺寸、
线路板尺寸、
元件包装和元件元件包装和元件
元件包装和元件元件包装和元件
元件包装和元件
IDID
IDID
ID
、、
、、
、
线路板认识记号线路板认识记号
线路板认识记号线路板认识记号
线路板认识记号
制作与 “3.1 单个线路板 ” 相同的尺寸。
•
贴装坐标、贴装坐标、
贴装坐标、贴装坐标、
贴装坐标、
贴装角度贴装角度
贴装角度贴装角度
贴装角度
Fig.3B1 30Fig.3B1 30
Fig.3B1 30Fig.3B1 30
Fig.3B1 30
整体图整体图
整体图整体图
整体图
Fig.3B1 3 1Fig.3B1 3 1
Fig.3B1 3 1Fig.3B1 3 1
Fig.3B1 3 1
线路板线路板
线路板线路板
线路板
1 (1 (
1 (1 (
1 (
放大图放大图
放大图放大图
放大图
))
))
)
3.53.5
3.53.5
3.5
重复线路板重复线路板
重复线路板重复线路板
重复线路板
((
((
(
有检测不良分割线路板机能有检测不良分割线路板机能
有检测不良分割线路板机能有检测不良分割线路板机能
有检测不良分割线路板机能
))
))
)
0308-001 2-67
XX
XX
X
33
33
3
YY
YY
Y
33
33
3
XX
XX
X
22
22
2
XX
XX
X
11
11
1
YY
YY
Y
11
11
1
YY
YY
Y
22
22
2
OXOX
OXOX
OX
11
11
1
OYOY
OYOY
OY
11
11
1
线路板线路板
线路板线路板
线路板
33
33
3
线路板线路板
线路板线路板
线路板
22
22
2
线路板线路板
线路板线路板
线路板
11
11
1
贴装坐标基准贴装坐标基准
贴装坐标基准贴装坐标基准
贴装坐标基准
(OX(OX
(OX(OX
(OX
11
11
1
,
0Y0Y
0Y0Y
0Y
11
11
1
))
))
)
不良记号贴位不良记号贴位
不良记号贴位不良记号贴位
不良记号贴位
(BX(BX
(BX(BX
(BX
1 ,1 ,
1 ,1 ,
1 ,
BYBY
BYBY
BY
11
11
1
))
))
)
(OX(OX
(OX(OX
(OX
22
22
2
,
0Y0Y
0Y0Y
0Y
22
22
2
))
))
)
线路板线路板
线路板线路板
线路板
原点原点
原点原点
原点
((
((
(
OO
OO
O
XX
XX
X
3,3,
3,3,
3,
OYOY
OYOY
OY
33
33
3
))
))
)
Note
贴装坐标基准贴装坐标基准
贴装坐标基准贴装坐标基准
贴装坐标基准

(2)(2)
(2)(2)
(2)
操作数据的编制操作数据的编制
操作数据的编制操作数据的编制
操作数据的编制
•
线路板数据线路板数据
线路板数据线路板数据
线路板数据
Table 3B31Table 3B31
Table 3B31Table 3B31
Table 3B31
X(X(
X(X(
X(
横横
横横
横
)[mm])[mm]
)[mm])[mm]
)[mm]
330.000330.000
330.000330.000
330.000
替代机能指定替代机能指定
替代机能指定替代机能指定
替代机能指定
不使用不使用
不使用不使用
不使用
线路板线路板
线路板线路板
线路板
Y(Y(
Y(Y(
Y(
竖竖
竖竖
竖
)[mm])[mm]
)[mm])[mm]
)[mm]
250.000250.000
250.000250.000
250.000
单元替代单元替代
单元替代单元替代
单元替代
尺寸尺寸
尺寸尺寸
尺寸
T(T(
T(T(
T(
厚度厚度
厚度厚度
厚度
))
))
)
[mm][mm]
[mm][mm]
[mm]
1 .6001.600
1 .6001.600
1 .600
优先顺序指定优先顺序指定
优先顺序指定优先顺序指定
优先顺序指定
线路板线路板
线路板线路板
线路板
X(X(
X(X(
X(
横横
横横
横
)[mm])[mm]
)[mm])[mm]
)[mm]
+00.000+00.000
+00.000+00.000
+00.000
元件配置补正值元件配置补正值
元件配置补正值元件配置补正值
元件配置补正值
+000+000
+000+000
+000
原点原点
原点原点
原点
Y(Y(
Y(Y(
Y(
竖竖
竖竖
竖
)[mm])[mm]
)[mm])[mm]
)[mm]
+00.000+00.000
+00.000+00.000
+00.000
XYXY
XYXY
XY
工作台加速度指定工作台加速度指定
工作台加速度指定工作台加速度指定
工作台加速度指定
无减速无减速
无减速无减速
无减速
补正值补正值
补正值补正值
补正值
Z(Z(
Z(Z(
Z(
角度角度
角度角度
角度
)[mm])[mm]
)[mm])[mm]
)[mm]
+0.00+0.00
+0.00+0.00
+0.00
F 1F 1
F 1F 1
F 1
加速度指定加速度指定
加速度指定加速度指定
加速度指定
无减速无减速
无减速无减速
无减速
线路板高度补正值线路板高度补正值
线路板高度补正值线路板高度补正值
线路板高度补正值
[mm][mm]
[mm][mm]
[mm]
+0.000+0.000
+0.000+0.000
+0.000
F2F2
F2F2
F2
加速度指定加速度指定
加速度指定加速度指定
加速度指定
无减速无减速
无减速无减速
无减速
线路板位置决定基准线路板位置决定基准
线路板位置决定基准线路板位置决定基准
线路板位置决定基准
右前右前
右前右前
右前
F3F3
F3F3
F3
加速度指定加速度指定
加速度指定加速度指定
加速度指定
无减速无减速
无减速无减速
无减速
已贴装元件的厚度已贴装元件的厚度
已贴装元件的厚度已贴装元件的厚度
已贴装元件的厚度
[mm][mm]
[mm][mm]
[mm]
0.000 0.000
0.000 0.000
0.000
F4F4
F4F4
F4
加速度指定加速度指定
加速度指定加速度指定
加速度指定
无减速无减速
无减速无减速
无减速
运行方式运行方式
运行方式运行方式
运行方式
贴装贴装
贴装贴装
贴装
补装控制补装控制
补装控制补装控制
补装控制
UnUn
UnUn
Un
单位单位
单位单位
单位
不使用不使用
不使用不使用
不使用
线路板搬运速度线路板搬运速度
线路板搬运速度线路板搬运速度
线路板搬运速度
标准标准
标准标准
标准
块单位块单位
块单位块单位
块单位
不使用不使用
不使用不使用
不使用
贴装顺序排列贴装顺序排列
贴装顺序排列贴装顺序排列
贴装顺序排列
标准标准
标准标准
标准
机能选择机能选择
机能选择机能选择
机能选择
标准标准
标准标准
标准
送料器待机位置送料器待机位置
送料器待机位置送料器待机位置
送料器待机位置
000000
000000
000
记号记号
记号记号
记号
黑记号黑记号
黑记号黑记号
黑记号
检测不良检测不良
检测不良检测不良
检测不良
图像图像
图像图像
图像
((
((
(
遮光遮光
遮光遮光
遮光
))
))
)
分割线路板分割线路板
分割线路板分割线路板
分割线路板
先吸取元件不使用先吸取元件不使用
先吸取元件不使用先吸取元件不使用
先吸取元件不使用
((
((
(
选项选项
选项选项
选项
))
))
)
顺序顺序
顺序顺序
顺序
先认识先认识
先认识先认识
先认识
不良记号不良记号
不良记号不良记号
不良记号
标准标准
标准标准
标准
机能选择机能选择
机能选择机能选择
机能选择
不使用不使用
不使用不使用
不使用
不良检测不良检测
不良检测不良检测
不良检测
X(X(
X(X(
X(
横横
横横
横
)[mm])[mm]
)[mm])[mm]
)[mm]
((
((
(
选项选项
选项选项
选项
))
))
)
Y(Y(
Y(Y(
Y(
竖竖
竖竖
竖
)[mm])[mm]
)[mm])[mm]
)[mm]
•
线路板认识数据线路板认识数据
线路板认识数据线路板认识数据
线路板认识数据
请把线路板认识机能选择设定为 “ 不认识 ” 。
请不要设定其它数据。
•
线路板认识记号数据线路板认识记号数据
线路板认识记号数据线路板认识记号数据
线路板认识记号数据
请不要编制此数据。
•
宽度调整宽度调整
宽度调整宽度调整
宽度调整
需要使用自动调整机能时编制。
(3)(3)
(3)(3)
(3)
元件配置数据的编制元件配置数据的编制
元件配置数据的编制元件配置数据的编制
元件配置数据的编制
制作与 “3.1 单个线路板 ” 相同的尺寸。
3.53.5
3.53.5
3.5
重复线路板重复线路板
重复线路板重复线路板
重复线路板
((
((
(
有检测不良分割线路板机能有检测不良分割线路板机能
有检测不良分割线路板机能有检测不良分割线路板机能
有检测不良分割线路板机能
))
))
)
0308-001 2-68

(4)(4)
(4)(4)
(4)
贴装数据贴装数据
贴装数据贴装数据
贴装数据
(P)U1(P)U1
(P)U1(P)U1
(P)U1
的编制的编制
的编制的编制
的编制
•
单元控制单元控制
单元控制单元控制
单元控制
制作与 “3.1 单个线路板 ” 相同的尺寸。
•
分割线路板认识分割线路板认识
分割线路板认识分割线路板认识
分割线路板认识
请把 “ 分割线路板认识 ” 设定为 “ 不认识 ” 。
请不要设定其它数据。
•
贴装数据贴装数据
贴装数据贴装数据
贴装数据
(P)(P)
(P)(P)
(P)
Table 3B32Table 3B32
Table 3B32Table 3B32
Table 3B32
P-No.P-No.
P-No.P-No.
P-No.
XX
XX
X
[mm][mm]
[mm][mm]
[mm]
Y[mm]Y[mm]
Y[mm]Y[mm]
Y[mm]
Z[ Z[
Z[ Z[
Z[
°°
°°
°
]]
]]
]
H[mm] Fdr. No.H[mm] Fdr. No.
H[mm] Fdr. No.H[mm] Fdr. No.
H[mm] Fdr. No.
VV
VV
V
CC
CC
C
说明说明
说明说明
说明
11
11
1
BXBX
BXBX
BX
11
11
1
BYBY
BYBY
BY
11
11
1
+000.00+000.00
+000.00+000.00
+000.00
+0.000+0.000
+0.000+0.000
+0.000
000000
000000
000
0000
0000
00
BB
BB
B
22
22
2
XX
XX
X
11
11
1
YY
YY
Y
11
11
1
+000.00+000.00
+000.00+000.00
+000.00
+0.000+0.000
+0.000+0.000
+0.000
1 0 11 0 1
1 0 11 0 1
1 0 1
0000
0000
00
--
--
-
33
33
3
XX
XX
X
22
22
2
YY
YY
Y
22
22
2
+090.00+090.00
+090.00+090.00
+090.00
+0.000+0.000
+0.000+0.000
+0.000
1 031 03
1 031 03
1 03
0000
0000
00
--
--
-
44
44
4
XX
XX
X
33
33
3
YY
YY
Y
33
33
3
+1 80.00+ 180.00
+1 80.00+ 180.00
+1 80.00
+0.000+0.000
+0.000+0.000
+0.000
1 051 05
1 051 05
1 05
0000
0000
00
--
--
-
55
55
5
+000.000+000.000
+000.000+000.000
+000.000
+000.000+000.000
+000.000+000.000
+000.000
+000.00+000.00
+000.00+000.00
+000.00
+0.000+0.000
+0.000+0.000
+0.000
000000
000000
000
0000
0000
00
PP
PP
P
(a) 在 P-No.1 步骤设定不良标记粘贴位置坐标(BX
1
,BY
1
)
和控制指令 “B ”。
(b)请把最终步骤的控制指令设定为 “ P ” 或者 “ Q ” 。
(5)(5)
(5)(5)
(5)
贴装数据贴装数据
贴装数据贴装数据
贴装数据
(O)U1(O)U1
(O)U1(O)U1
(O)U1
的编制的编制
的编制的编制
的编制
Table 3B33Table 3B33
Table 3B33Table 3B33
Table 3B33
O-No.O-No.
O-No.O-No.
O-No.
XX
XX
X
[mm][mm]
[mm][mm]
[mm]
Y[mm]Y[mm]
Y[mm]Y[mm]
Y[mm]
Z [ Z [
Z [ Z [
Z [
°°
°°
°
]]
]]
]
CC
CC
C
说明说明
说明说明
说明
B-X[mm]B-X[mm]
B-X[mm]B-X[mm]
B-X[mm]
B-Y[mm]B-Y[mm]
B-Y[mm]B-Y[mm]
B-Y[mm]
11
11
1
OXOX
OXOX
OX
11
11
1
OYOY
OYOY
OY
11
11
1
+000.00+000.00
+000.00+000.00
+000.00
--
--
-
+000.000+000.000
+000.000+000.000
+000.000
+000.000+000.000
+000.000+000.000
+000.000
22
22
2
OXOX
OXOX
OX
22
22
2
OYOY
OYOY
OY
22
22
2
+000.00+000.00
+000.00+000.00
+000.00
--
--
-
+000.000+000.000
+000.000+000.000
+000.000
+000.000+000.000
+000.000+000.000
+000.000
33
33
3
OXOX
OXOX
OX
33
33
3
OYOY
OYOY
OY
33
33
3
+000.00+000.00
+000.00+000.00
+000.00
--
--
-
+000.000+000.000
+000.000+000.000
+000.000
+000.000+000.000
+000.000+000.000
+000.000
44
44
4
+000.000+000.000
+000.000+000.000
+000.000
+000.000+000.000
+000.000+000.000
+000.000
+000.00+000.00
+000.00+000.00
+000.00
EE
EE
E
+000.000+000.000
+000.000+000.000
+000.000
+000.000+000.000
+000.000+000.000
+000.000
3.53.5
3.53.5
3.5
重复线路板重复线路板
重复线路板重复线路板
重复线路板
((
((
(
有检测不良分割线路板机能有检测不良分割线路板机能
有检测不良分割线路板机能有检测不良分割线路板机能
有检测不良分割线路板机能
))
))
)
0308-001 2-69
Note