N7205A106B04[201502].pdf - 第176页
-K301 PMC0AF CN3 1 7 8 2 V 4 10 5 11 U FG W A A B B 11 5 10 4 2 8 7 1 43025-1200 CN3K301 MOLEX 3 9 12 6 6 12 9 3 Z Z VDD GND SSG SM U V W FG A A B B Z Z VDD GND -M401 RD WH BK GY BU BN GN VT WH2 YE RD2 BK2 SANYO DENKI θ-…

-K301
PMC0AF
CN11
1
2
3
4
TX-
CN15
1
4
3
6
-K302
PMC0AD
5
6
7
8
TX+
RX-
RX+
EMG
ILKF
ILKR
GND
GND
+24V
2
5
GND
+24V
GND
+24V
CN26
1
2
3
4
RX-
CN25
1
4
3
6
5
6
7
8
RX+
TX-
TX+
EMG
GND
+24V
2
5
GND
+24V
GND
+24V
ILKF
ILKR
GND
1
4
2
5
3
6
PAP-06V-S
CN25
JST
PAP-08V-S
CN26
JST
2
1
4
3
6
5
8
7
PAP-08V-S
CN11K301
JST
2
1
4
3
6
5
8
7
PAP-06V-S
CN15K301
JST
0
4
1
5
2
6
3
GY
OG
GY/WH
BU/WH
BU
BN/WH
BN
YE/WH
YE
GN/WH
GN
RD/WH
RD
BK/WH
BK
N610069715AA
U-TKVV AWG22-8P
1
OG/WH (0.3mm2-8P)
Panasonic Factory Solutions Co.,Ltd. パナソニック ファクトリーソリューションズ株式会社
Name
Drawing No.
Loc. No.
F4K1020-05A
1
2 3 4 5 6 7 8
A
B
C
D
E
F
1 2 3 4 5 6 7 8
A
B
C
D
E
F
Page. No.
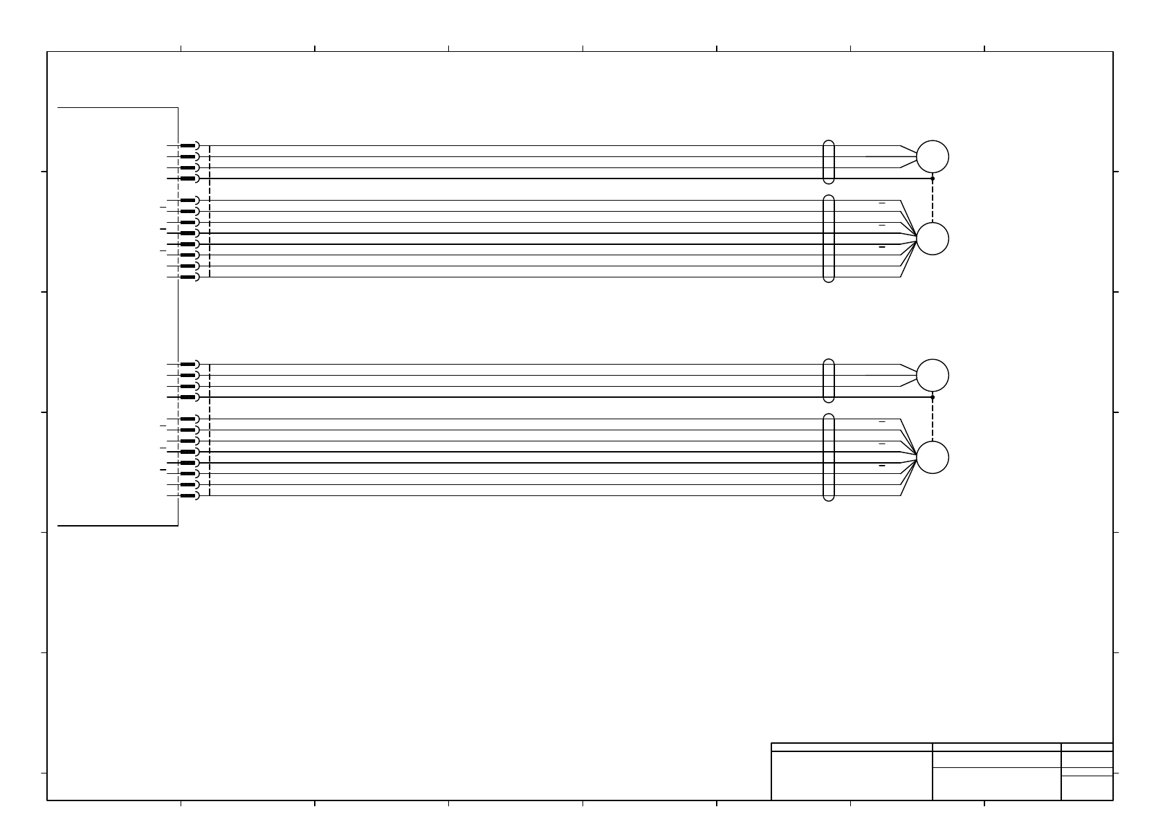
NPM_12_NOZZLE HEAD
(Flow Sensor connecting)
N610064318+004AB
P004

-K301
PMC0AF
CN3
1
7
8
2
V
4
10
5
11
U
FG
W
A
A
B
B
11
5
10
4
2
8
7
1
43025-1200
CN3K301
MOLEX
3
9
12
6
6
12
9
3
Z
Z
VDD
GND
SSG
SM
U
V
W
FG
A
A
B
B
Z
Z
VDD
GND
-M401
RD
WH
BK
GY
BU
BN
GN
VT
WH2
YE
RD2
BK2
SANYO DENKI
θ-Axis 1
θ軸 1
CN1
1
7
8
2
V
4
10
5
11
U
FG
W
A
A
B
B
11
5
10
4
2
8
7
1
43025-1200
CN1K301
MOLEX
3
9
12
6
6
12
9
3
Z
Z
VDD
GND
SSG
SM
U
V
W
FG
A
A
B
B
Z
Z
VDD
GND
-M402
RD
WH
BK
GY
BU
BN
GN
VT
WH2
YE
RD2
BK2
SANYO DENKI
θ-Axis 2
θ軸 2
1
1
Panasonic Factory Solutions Co.,Ltd. パナソニック ファクトリーソリューションズ株式会社
Name
Drawing No.
Loc. No.
F4K1020-05A
1
2 3 4 5 6 7 8
A
B
C
D
E
F
1 2 3 4 5 6 7 8
A
B
C
D
E
F
Page. No.
NPM_12_NOZZLE HEAD
(θ1,θ2 Motor connecting)
N610064318+005AB
P005

-K302
PMC0AD
CN1
1
3
4
2
AV
2
3
4
1
AU
FG
AW
AA
AB
AZ
+5V
5
1
4
3
2
502380-0500
CN13
MOLEX
5
GND
Z1-Axis
Z1軸
SSG
SM
U
V
W
A
B
Z
VDD
GND
2
1
3
4
5
-M403
RD
WH
BU
BU
WH
GY
RD
BK
SANYO DENKI
PAP-04V-S
CN1
JST
2
4
3
1
CN13
CN2
1
3
4
2
BV
2
3
4
1
BU
FG
BW
BA
BB
BZ
+5V
5
1
4
3
2
502380-0500
CN14
MOLEX
5
GND
Z2-Axis
Z2軸
SSG
SM
U
V
W
A
B
Z
VDD
GND
2
1
3
4
5
-M404
RD
WH
BU
BU
WH
GY
RD
BK
SANYO DENKI
PAP-04V-S
CN2
JST
2
4
3
1
CN14
CN3
1
3
4
2
CV
2
3
4
1
CU
FG
CW
CA
CB
CZ
+5V
5
1
4
3
2
502380-0500
CN15
MOLEX
5
GND
Z3-Axis
Z3軸
SSG
SM
U
V
W
A
B
Z
VDD
GND
2
1
3
4
5
-M405
RD
WH
BU
BU
WH
GY
RD
BK
SANYO DENKI
PAP-04V-S
CN3
JST
2
4
3
1
CN15
1
1
1
Panasonic Factory Solutions Co.,Ltd. パナソニック ファクトリーソリューションズ株式会社
Name
Drawing No.
Loc. No.
F4K1020-05A
1
2 3 4 5 6 7 8
A
B
C
D
E
F
1 2 3 4 5 6 7 8
A
B
C
D
E
F
Page. No.
NPM_12_NOZZLE HEAD
(Z-axis1~3 motor connecting)
N610064318+006AB
P006