4OM-GXH-1S使用说明书.pdf - 第219页
5-6 0603-001 (2) 在特定送料器编号上多次发生吸取不良的情况 OK OK OK NG NG Fig.4E4 Note (a) 带式送料器的检查要点请参照下一页的 Fig.4E5、Fig.4E6。 (b) 在更换带式送料器与元件时,在“送料器补正值 B”里有前 一个元件的数据。 更换机种后, 请确认吸取位置, 清除 “送料器补正值 B” 的值。 2.2 不同现象下的故障处理 在特定送料器编号 上发生多次吸取异常 送料器的检查…

5-50603-001
2.2 不同现象下的故障处理
(1) 在特定吸嘴上多次发生吸取不良的情况
OK
NG
OK
OK
OK
OK
NG
NG
NG
NG
OK
NG
Fig.4E3
Note
(a) 关于清扫、更换,请参照第一章 维护保养章节。
(b) 请确认调整和维护菜单的装置诊断 → I/O 诊断 → 输出诊
断中的真空 ON/OFF 动作。
2.2 不同现象下的故障处理
在特定的吸嘴上
多次发生吸取异常
吸嘴的
污垢
吸嘴孔
堵塞
真空过滤器
污垢、堵塞
真空切换阀
的动作
线传感器的
污垢
线传感器
划伤
清扫
清扫
更换
更换
清扫
更换
运行确认
Note(b)

5-60603-001
(2) 在特定送料器编号上多次发生吸取不良的情况
OK
OK
OK
NG
NG
Fig.4E4
Note
(a) 带式送料器的检查要点请参照下一页的 Fig.4E5、Fig.4E6。
(b) 在更换带式送料器与元件时,在“送料器补正值 B”里有前
一个元件的数据。
更换机种后,请确认吸取位置,清除“送料器补正值 B”的值。
2.2 不同现象下的故障处理
在特定送料器编号
上发生多次吸取异常
送料器的检查
Note(a)
修正
调整
与元件数据库
的对照
Note(b)
“送料器补正值 (B)”
的确认
运行确认

5-70603-001
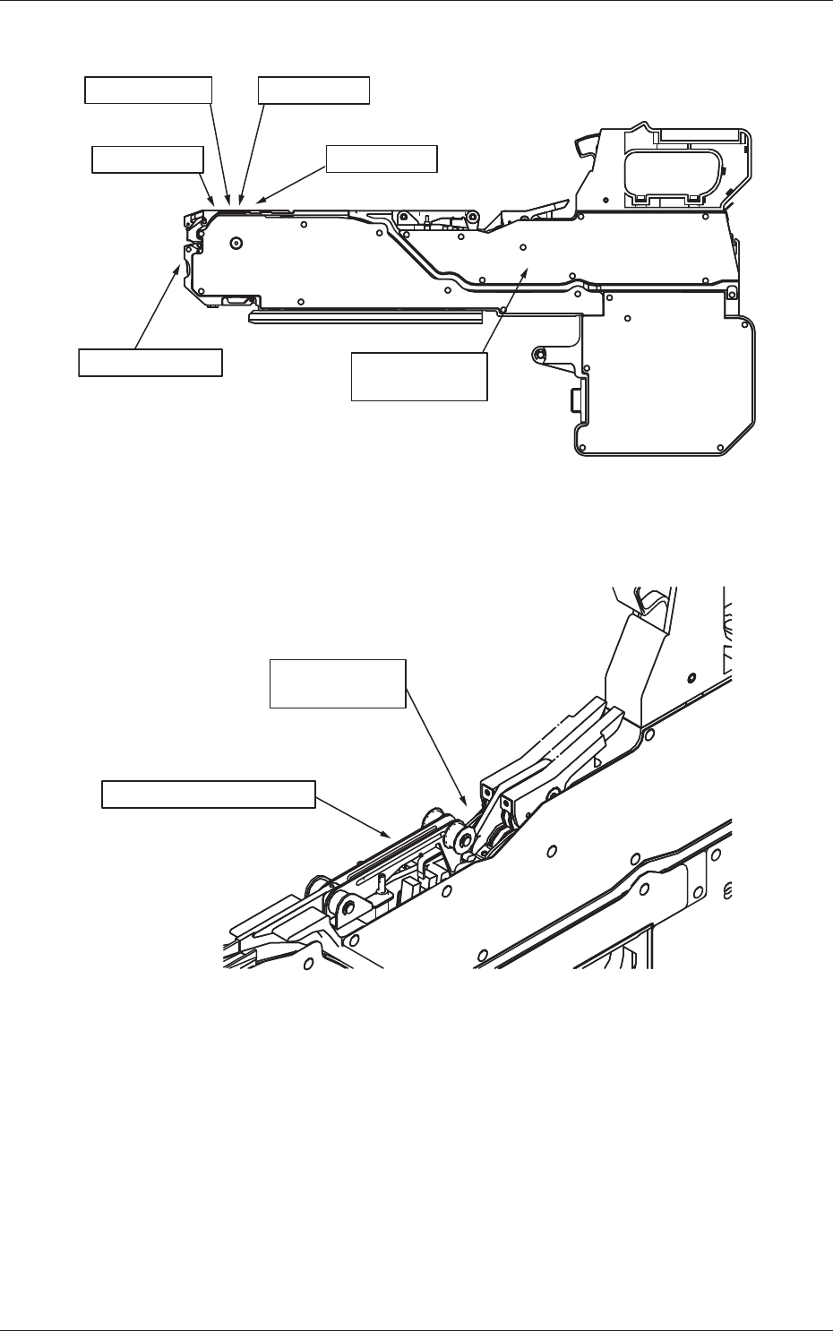
Fig.4E5
Fig.4E6
2.2 不同现象下的故障处理
链轮齿
吸取位置
受污、沾附元件
抑制器
悬浮、变形
向内侧沾附
元件
前扣
变形
定位、位置偏离
剥离部
间隙、变形、受污
封口盖带
上卷齿轮
受污、沾附元件
封口盖带
上卷齿轮
受污、沾附元件
封口盖带的连接
被正确安装