RS-1_RS-1-XL_RS-1R-Rev16.pdf - 第66页
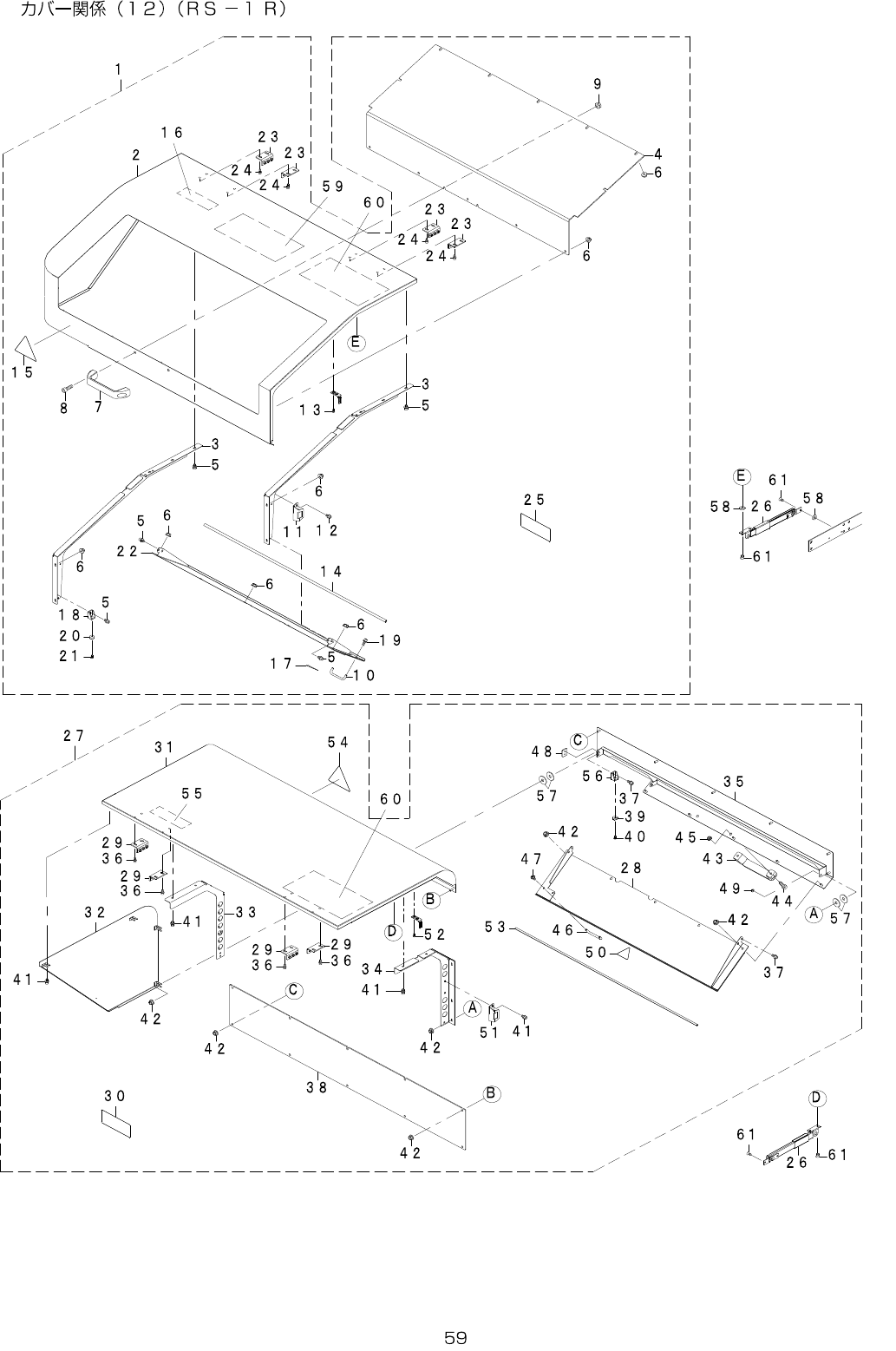
- - 30. COVERCOMPONEN TS(12)(RS-1R)

- -
REF.NO NOTE PARTNO DESCRIPTION Qty
1 402-20366 COVER_RUR_ASM_RS1R 1
2 402-19956 COVER_RUR (1)
3 401-96683 COVER_RUR_U (1)
4 402-19955 COVER_RUR_L_BR (1)
5 SL-6061292-TN SCREWM6L=12 (13)
6 400-02254 COVEROPENSWCABLEASM (1)
7 401-90601 STARTSWCABLEASM (1)
8 401-90602 STOPSWCABLEASM (1)
9 SL-6042042-TN SCREWM4L=20 (2)
10 401-29025 EMGSWCABLEASM (1)
11 401-26708 EMERGENCY_SEAL (1)
12 HX-0032600-0A GROMMET (3)
13 NM-3040520-SF FLANGENUTM4 (4)
14 HX-0032600-00 BUSH (1)
15 400-97798 HOLE_PLUGS_HP1 (4)
16 402-23087 MOTOR_COVER_R (1)
17 400-81751 B_COVER_SCREW (2)
18 400-01464 STOPPERSUPPORT (1)
19 SL-6041092-TN SCREWM4L=10 (2)
20 400-49671 COVERCUSHION (1)
21 SM-4030601-SC SCREWM3X0.5L=6 (1)
22 401-47221 STOPPER_NUT_PLATE (1)
23 400-01453 SAFETYSWITCHBRACKET (1)
24 401-47273 SC_LOCK_ASM (1)
25 401-11824 SCL_COVER (1)
26 SL-6040892-TN SCREWM4L=8 (2)
27 SL-6061292-TN SCREWM6L=12 (2)
28 401-11821 SCL_BASE (1)
29 401-47117 SCL_SOLENOID_BASE (1)
30 SL-6040892-TN SCREWM4L=8 (2)
31 401-47118 SCL_HOOK (1)
32 HX-0036700-0A GROMMET (0.015)
33 SM-6053502-TN SCREWM5L=35 (1)
34 NM-6050001-SC NUTM5X0.8TYPE1 (2)
35 401-47119 DOOR_LOCK_SP (1)
36 401-46405 COVERLOCKSVASM (1)
37 SL-6030692-TN SCREWM3L=6 (4)
38 401-86069 BANK_COVER_RR 1
39
#01
HA-0062600-10 SWITCH 1
40 402-20367 COVER_RUL_ASM_RS1R 1
41 E2904-700-000 SOCKET (1)
42 401-83466 COVER_RUL (1)
43 402-19954 COVER_RUL_L_BR (1)
44 SL-6061292-TN SCREWM6L=12 (8)
45 401-36850 MOTOR_COVER_R (1)
46 400-81751 B_COVER_SCREW (2)
47 HX-0032600-0M GROMMET (2)
48 PJ-3010651-06 FEMALEUNION (1)
49 400-81751 B_COVER_SCREW 4
50 401-86068 BANK_COVER_RL 1

- -
30.COVERCOMPONENTS(12)(RS-1R)

- -
REF.NO NOTE PARTNO DESCRIPTION Qty
1 401-96674 SAFETY_COVER_F_UNIT_CD 1
2 401-96686 SAFETY_COVER_FRAME_F (1)
3 401-96687 SAFETY_COVER_STAY_F (2)
4 401-96689 SCF_PLATE_FU (1)
5 SL-6040892-TN SCREWM4L=8 (16)
6 NM-3050610-SF FLANGENUTM5 (21)
7 401-22998 HANDLE (1)
8 SM-6062002-TN SCREWM6L=20 (2)
9 NM-3060810-SF FLANGENUTM6 (2)
10 401-13968 HANDLE_S (1)
11 401-34618 SD_LOCK_BRACKET (1)
12 SL-6040892-TN SCREWM4L=8 (2)
13 400-80490 KEY_SCREW (2)
14 401-14319 EDGE_CUSHION_F_L (1)
15 CM-3002000-06 FINGERINJURYCAUTIONLABEL(100) (1)
16 400-51621 CHIPBOXNOTICELABELG1 (1)
17 CM-3002000-04 FINGERINJURYCAUTIONLABEL(50) (1)
18 400-01464 STOPPERSUPPORT (1)
19 SL-6041092-TN SCREW (2)
20 401-34189 MAGNET (1)
21 SM-4030601-SC SCREWM3X0.5L=6 (1)
22 402-21090 SAFETY_UNDER_COVER_A_LABEL (1)
23 401-96694 SCF_HINGE_BRACKET (4)
24 SL-6051292-TN BOLT (20)
25 400-92716 TAPECUTTERDANGERLABEL (1)
26 400-77321 STAY 2
27 401-96675 SAFETY_COVER_R_UNIT_CD 1
28 402-21090 SAFETY_UNDER_COVER_A_LABEL (1)
29 401-96694 SCF_HINGE_BRACKET (4)
30 400-92716 TAPECUTTERDANGERLABEL (1)
31 401-96688 SAFETY_COVER_FRAME_R (1)
32 401-96695 COVER_SIDE_R (1)
33 401-83451 SAFETY_COVER_STAY_RL (1)
34 401-83452 SAFETY_COVER_STAY_RR (1)
35 401-96691 SCF_PLATE_FIXED_BR_R (1)
36 SL-6051292-TN BOLT (20)
37 SL-6041092-TN SCREWM4L=10 (3)
38 401-83456 SCF_PLATE_RU (1)
39 400-49671 COVERCUSHION (1)
40 SM-4030601-SC SCREWM3X0.5L=6 (1)
41 SL-6040892-TN SCREWM4L=8 (11)
42 NM-3050610-SF FLANGENUTM5 (17)
43 401-22998 HANDLE (1)
44 SM-6062002-TN SCREWM6L=20 (2)
45 NM-3060810-SF FLANGENUTM6 (2)
46 401-13968 HANDLE_S (1)
47 SL-4041291-SC SCREWM4L=12 (2)
48 401-47221 STOPPER_NUT_PLATE (1)
49 NM-3040520-SF FLANGENUTM4 (1)
50 CM-3002000-04 FINGERINJURYCAUTIONLABEL(50) (1)
51 401-34618 SD_LOCK_BRACKET (1)
52 400-80490 KEY_SCREW (2)
53 401-14319 EDGE_CUSHION_F_L (1)
54 CM-3002000-06 FINGERINJURYCAUTIONLABEL(100) (1)
55 400-51621 CHIPBOXNOTICELABELG1 (1)
56 400-01464 STOPPERSUPPORT (1)
57 WP-0651646-SC WASHER (4)
58 WP-0482016-SC PLAINWASHER4.8X11.5X2 4
59 401-83471 LOCATION_LABEL_RS-1 1
60 400-79329 CAUTIONSEAL 2
61 SM-1040801-SC SCREWM4X0.7L=8 8