JX-100_SPE_JP.pdf - 第15页
11 図 4 サ ポ ー ト ピ ン 設置不可範囲( 基板下面図) - 基板サ イ ズ X 方向: 41 0mm より大 きい場 合 (3) 搭載部品高さ 及び 基板裏面搬送高さ 範囲 部品 最 大 1 2 m m 最 大 2 0 m m 基板裏面 搭載可能範 囲 3mm 3mm 図 5 高さ 方向搭載可能範囲 4-6-5 基 板 クランプ方 式 基板上面を 基準と し 、 固定側、 可動側と も 搬送レー ル に 基板前後端部を 挟持…

10
(2) サポートピン設置不可範囲
JX-1
00
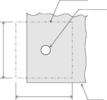
図 2 サポートピン設置不可範囲(基板下面図)
JX-100 LED
図 3 サポートピン設置不可範囲(基板下面図)-基板サイズX方向:410mm以下の場合
はサポートピン設置不可範囲
5
0
~
2
5
0
m
m
50~330mm
5
0
m
m
95mm
10mm 基板サイズ320mm以上の時 10mm
4
m
m
4
m
m
0
~
2
0
0
m
m
基板幅による位置調整範囲
基板搬送方向
はサポートピン設置不可範囲
5
0
~
3
6
0
m
m
50~410mm
5
0
m
m
95mm
40mm 基板サイズ370mm以上の時 40mm
4
m
m
4
m
m
0
~
9
5
m
m
基板幅による位置調整範囲
基板搬送方向

11
図 4 サポートピン設置不可範囲(基板下面図)-基板サイズX方向:410mmより大きい場合
(3)
搭載部品高さ及び基板裏面搬送高さ範囲
部品
最
大
1
2
m
m
最
大
2
0
m
m
基板裏面 搭載可能範囲
3mm 3mm
図 5 高さ方向搭載可能範囲
4-6-5 基板クランプ方式
基板上面を基準とし、固定側、可動側とも搬送レールに基板前後端部を挟持して基板を
クランプする方式です。
はサポートピン設置不可範囲
5
0
m
m
95mm
4
m
m
4
m
m
0
~
9
5
m
m
調
整範囲
基板搬送方向
5
0
~
3
6
0
m
m
40mm
410mm
~410mm
5
0
m
m
95mm
410mmより大きい~800mm
60mm 40mm

12
4-7 基板位置補正機能
4-7-1 基板位置決め基準
外形基準のみ
4-7-2 基板基準マーク認識視野
□6.3mm(カメラ視野範囲)
認識マーク
基板
6.3mm
6.3mm
基板認識視野
図 6 基板認識視野
4-7-3 基板基準マーク認識ウィンドウサイズ
最大6.3mm内で可変することが出来ます。ただし、認識マークと周囲のクリアランスを確
保してください。
4-7-4 認識マーク種類及び補正方法
・基板基準マーク
基板に 2 カ所もしくは 3 カ所(注 1、2)設けられた、基板全体を補正するマークのことを示します。2
カ所検出した場合には、基板全体の位置ずれ・角度ずれ・基板の伸縮を補正します。
3 カ所検出した場合には、更に基板のXYの直角ずれも補正します。
・エリア・部品位置決めマーク
部品搭載複数箇所のグループに対し 2 ヶ所または 3 ヶ所(位置は任意)に設けられたマークで、グル
ープ内の部品の搭載位置を補正します。
注1: 位置は任意。ただし、基準マークが3カ所の場合、マーク3点は一直線上に並ばないこと
とします。(基板の四隅の位置にマークが設置されていることを推奨)
注2: 2回送り(X方向が410mmを超える基板)の場合は、一回送る毎に検出できる2カ所また
は3カ所の基板基準マーク(合計4カ所または6カ所)が必要です。(JX-100 LEDのみ)