KE-2030使用说明书.pdf - 第48页
1 − 39 1.4 Interface With Extenal Devices ① is the 14- Pin READY OUT ( IN) connect or f or use when the machine is conf igured with other equipm ent in an on-line environment . The pin layout (assig nment) of t he connec…

1 − 38
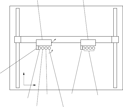
1.3 X, Y, and Z Axes Descriptions
The following four axes (X, Y, Z, and θ) are numerically controlled in this machine.
(1) X- and Y-axis
The X-axis and Y-axis represent the position of the head, OCC, HMS (Height
measurement system), and bad mark sensor. The coordinates of a position are
given as X = ○○○. ○○ mm and Y = ○○○. ○○ mm, in 0.01-mm
increments.
Two coordinate systems are available: software coordinates and tooling-pin (hole
reference) coordinates. Software coordinates mainly show the pickup position
taught in the teach mode, while tooling-pin coordinates represent the placement
position.
(2) Z-axis
The Z-axis represents the position of the nozzle in the head, given as Z =
○○.○○ mm, in 0.01-mm increments. The upward direction is positive (+),
with the position of the nozzle tip on the board being 0.
(3) θ-axis
The q-axis represents the angle for centering of the head "A = ○○.○○
degrees" (in 0.05 increments.) The value is positive for counterclockwise
rotation and negative for clockwise rotation.
Figure 1.3.1
L head unit R head unit
X axis
Y axis
Z+
Y+
X+
OCC-L
L1 nozzle axis
L2 nozzle axis
OCC-R
L3 nozzle
axis
L4 nozzle axis
From the left,
R1 nozzle axis,
R2 nozzle axis,
R3 nozzle axis,
R4 nozzle axis

1 − 39
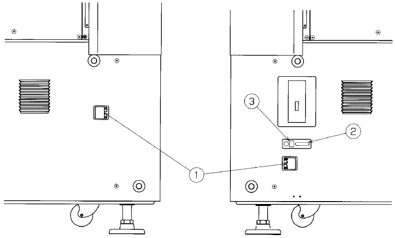
1.4 Interface With Extenal Devices
① is the 14-Pin READY OUT (IN) connector for use when the machine is configured
with other equipment in an on-line environment.
The pin layout (assignment) of the connector for a Ready OUT (IN) signal differs as
shown in Tables 1.4.1 and 1.4.2 depending on the board transfer direction (from left
to right, and from right to left, respectively).
See Table 1.4.3 for the pin assignment of this printer connector.
② is a DSub 25-Pin connector for the printer (conforming to the Centronics Interface
standards).
③ is an Ethernet connector (8-pin modular type connector).
See Table 1.4.6 for the pin assignment of this Ethernet connector.
Figure 1.4.1 Left side panel of the main unit Figure 1.4.2 Right side panel of the main
unit

1 − 40
④ is a 9-Pin connector for the trackball.
See Table 1.4.5 for the pin assignment of this trackball connector.
⑤ is a 50-Pin connector for the keyboard.
See Table 1.4.4 for the pin assignment of this keyboard connector.
⑥ is a 5-Pin connector for the Hand-held operating device (HOD).
Figure 1.4.3 Machine right side panel
Note: The shape of the track ball connector and that of the keyboard connector is
the same. If you accidentally make the wrong connections, the system will
not be started up.
④
⑥
⑤