HDF Chinese.pdf - 第30页
HDF 2003 年1月1日 26 空气压力、电源、 调整螺栓图 ■ NM-DC 1 0 9. 尺 寸 规 格 图 日本国内: AC200V 海 外 : AC400V 日本国内: AC200V 海 外 : AC400V
HDF 2003 年1月1日
25
7)SMEMA
由美国表面安装机制造协会(SurfaceMountEquipmentManufacturersAssociation)制定的接口
面通用规格。
1.连接用控制信号和连接器1套
2.对应于输送高度940毫米
8)关于涂布银浆粘接剂(胶)·涂布焊膏
需要有确认样品的技术,请预先提出要求。

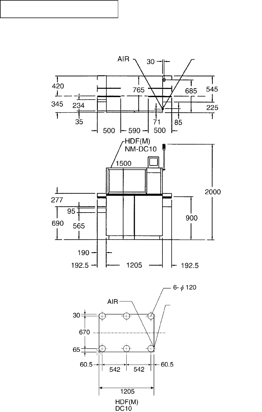
HDF 2003 年1月1日
26
空气压力、电源、调整螺栓图
■ NM-DC10
9.尺 寸 规 格 图
日本国内:AC200V
海外:AC400V
日本国内:AC200V
海外:AC400V

HDF 2003 年1月1日
27
空气压力、电源、调整螺栓图
■ NM-DC15
日本国内:AC200V
海外:AC400V
日本国内:AC200V
海外:AC400V