XP-242E-04JE PART LIST.pdf - 第21页
9

NOZZLES(PN) 4/
ノズル一覧(PN) 4/
番号 図番 & コード番号 個数 品名 規格 材質 備考
No. Drg.No. & Code No. QTY Description Rating Materials Remarks
1 ADNPN8880 1 HOLDER
ホルダ
OT
2 DEPN3241 1 SPRING
スプリング
FE
3 DBPH0151 2 BLOCK 駒 CO
4 N4019A 2 SCREW, HEX SOCKET SET
ネジ 六角穴止め
M03X004 クボミサキ FE
5 ADNPN8513 1 NOZZLE
ノズル
OT
5.1 DNPN3031 1 NOZZLE
ノズル
OT
6 ADNPN8523 1 NOZZLE
ノズル
OT
6.1 DNPN3041 1 NOZZLE
ノズル
OT
7 ADNPN8533 1 NOZZLE
ノズル
OT
7.1 DNPN3051 1 NOZZLE
ノズル
OT
8 ADNPN8543 1 NOZZLE
ノズル
OT
8.1 DNPN3061 1 NOZZLE
ノズル
OT
9 ADNPN8553 1 NOZZLE
ノズル
OT
9.1 DNPN3071 1 NOZZLE
ノズル
OT
10 ADNPN8564 1 NOZZLE
ノズル
OT
10.1 DNPN3082 1 NOZZLE
ノズル
OT
11 ADNPN8573 1 NOZZLE
ノズル
OT
11.1 DNPN3091 1 NOZZLE
ノズル
OT
12 ADNPN8583 1 NOZZLE
ノズル
OT
12.1
DNPN3101
1
NOZZLE
ノズル
OT
8

9

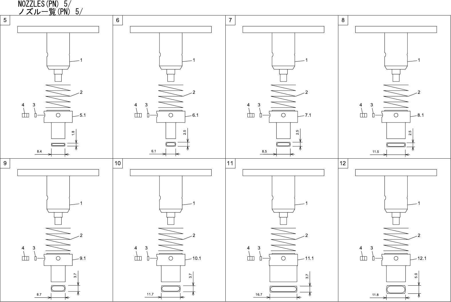
NOZZLES(PN) 5/
ノズル一覧(PN) 5/
番号 図番 & コード番号 個数 品名 規格 材質 備考
No. Drg.No. & Code No. QTY Description Rating Materials Remarks
1 ADNPN8880 1 HOLDER
ホルダ
OT
2 DEPN3241 1 SPRING
スプリング
FE
3 DBPH0151 2 BLOCK 駒 CO
4 N4019A 2 SCREW, HEX SOCKET SET
ネジ 六角穴止め
M03X004 クボミサキ FE
5 ADNPN8593 1 NOZZLE
ノズル
OT
5.1 DNPN3111 1 NOZZLE
ノズル
OT
6 ADNPN8603 1 NOZZLE
ノズル
OT
6.1 DNPN3121 1 NOZZLE
ノズル
OT
7 ADNPN8613 1 NOZZLE
ノズル
OT
7.1 DNPN3131 1 NOZZLE
ノズル
OT
8 ADNPN7761 1 NOZZLE
ノズル
OT
8.1 ADNPN7701 1 NOZZLE
ノズル
OT
9 ADNPN8633 1 NOZZLE
ノズル
OT
9.1 DNPN3151 1 NOZZLE
ノズル
OT
10 ADNPN7771 1 NOZZLE
ノズル
OT
10.1 ADNPN7711 1 NOZZLE
ノズル
OT
11 ADNPN7781 1 NOZZLE
ノズル
OT
11.1 ADNPN7721 1 NOZZLE
ノズル
OT
12 ADNPN7791 1 NOZZLE
ノズル
OT
12.1
ADNPN7731
1
NOZZLE
ノズル
OT
10