JM-50-Rev00PDF.pdf - 第21页
- - REF.NO NOTE PART NO DESCRIPTION Qty 1 402-06661 CO VER_RUR_AS M 1 2 #01 402-06681 COVER_ RUR_ASM_F 1 3 #02 402-06674 COVER_ RUR_ASM_EN 1 4 401-368 50 MOTOR_COVER_R (1) 5 400-817 51 B_COVER_SCRE W (…

- -
8. COVERCOMPONENTS(2)

- -
REF.NO NOTE PARTNO DESCRIPTION Qty
1 402-06661 COVER_RUR_ASM 1
2
#01
402-06681 COVER_RUR_ASM_F 1
3
#02
402-06674 COVER_RUR_ASM_EN 1
4 401-36850 MOTOR_COVER_R (1)
5 400-81751 B_COVER_SCREW (2)
6 402-55545 COVER_RUR_U_J5_PRINT_FIG (1)
7 SL-6061292-TN SCREWM6L=12 (4)
8 402-06654 SCREW_M6_L12_TOOTHED (2)
9 401-29025 EMGSWCABLEASM (1)
10 HA-0062600-10 SWITCH (1)
11 401-26708 EMERGENCY_SEAL (1)
12 HX-0032600-0A GROMMET (1)
13 401-90601 STARTSWCABLEASM (1)
14 401-90602 STOPSWCABLEASM (1)
15 400-01464 STOPPERSUPPORT (1)
16 SL-6041092-TN SCREWM4L=10 (2)
17 400-49671 COVERCUSHION (1)
18 SM-4030601-SC SCREWM3X0.5L=6 (1)
19 401-47221 STOPPER_NUT_PLATE (1)
20 400-01453 SAFETYSWITCHBRACKET (1)
21 400-02254 COVEROPENSWCABLEASM (1)
22 SL-6042042-TN SCREWM4L=20 (2)
23 NM-3040520-SF FLANGENUTM4 (4)
24 SL-6041292-TN SCREWM4L=12 (2)
25 HX-0032600-00 GROMMET (1)
26 402-06510 CONNECTOR_BR_J1 (1)
27 402-06654 SCREW_M6_L12_TOOTHED (4)
28 402-06517 COVER_RUR_J1 (1)
29 SL-6061292-TN SCREWM6L=12 (4)
30
#02
402-06678 SC_LOCK_R_ASM (1)
31 401-47273 SC_LOCK_ASM (1)
32 401-11821 SCL_BASE (1)
33 401-47117 SCL_SOLENOID_BASE (1)
34 SL-6040892-TN SCREWM4L=8 (2)
35 401-47118 SCL_HOOK (1)
36 HX-0036700-0A GROMMET (0.015)
37 SM-6053502-TN SCREWM5L=35 (1)
38 NM-6050001-SC NUTM5X0.8TYPE1 (2)
39 401-47119 DOOR_LOCK_SP (1)
40 401-46405 COVERLOCKSVASM (1)
41 SL-6030692-TN SCREWM3L=6 (4)
42 401-11824 SCL_COVER (1)
43 SL-6040892-TN SCREWM4L=8 (2)
44 SL-6061292-TN SCREWM6L=12 (2)
45 401-34618 SD_LOCK_BRACKET (1)
46 SL-6030892-TN SCREWM3L=8 (2)
47 402-06663 COVER_RUL_ASM 1
48
#01
402-06682 COVER_RUL_ASM_F 1
49
#02
402-06675 COVER_RUL_ASM_EN 1
50 402-06521 COVER_RUL_J1 (1)
51 SL-6061292-TN SCREWM6L=12 (4)
52 E2904-700-000 SOCKET (1)
53 PJ-3010651-06 FEMALEUNION (1)
54
#01
HX-0032600-0C GROMMET (1)
55 401-36610 MIBANKRLYCABLEASM (1)
56 SL-4040891-SC SCREWM4X8 (4)
57
#01
402-06620 M_CONNECTOR_PLATE_JM (1)
58 402-54999 BANKPOWERSWF/RASM (1)
59 HA-0066100-10 SWITCH (1)
60
#01
HX-0032600-0M GROMMET (2)
61 401-36861 MI_BANK_CON_NOTICE_LABEL (1)
62 401-36850 MOTOR_COVER_R (1)
63 400-81751 B_COVER_SCREW (2)

- -
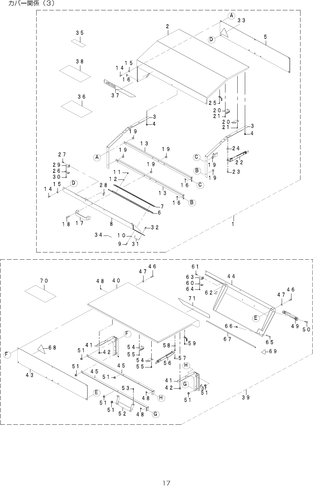
9. COVERCOMPONENTS(3)