JM-50-Rev00PDF.pdf - 第61页
- - REF.NO NOTE PAR TNO DESCRIPT ION Qty 1 #01 402-37861 BAN K_UNIT_FO 1 2 #02 402-378 59 BANK_UNIT_RO 1 3 402-18905 BANK_ ASM_J1_P12 (1) 4 402-18906 BANK_ BASE_J1_P12 (1) 5 E2609-721-0 00 BAN KLOCATE…

- -
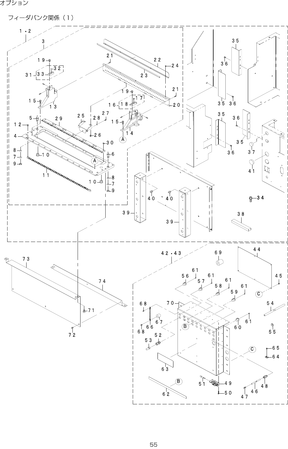
OPTION
28.FEEDERBANKCOMPONENTS(1)

- -
REF.NO NOTE PARTNO DESCRIPTION Qty
1
#01
402-37861 BANK_UNIT_FO 1
2
#02
402-37859 BANK_UNIT_RO 1
3 402-18905 BANK_ASM_J1_P12 (1)
4 402-18906 BANK_BASE_J1_P12 (1)
5 E2609-721-000 BANKLOCATEPINA (1)
6 E2610-721-000 BANKLOCATEPINB (1)
7 WP-0841601-SC WASHERM8 (2)
8 WS-0820002-KN SPRINGWASHERM8 (2)
9 NM-6080003-SC NUTM8X1.25TYPE3 (2)
10 E2602-721-000 BANKLOCATEBUSHA (2)
11 402-18907 LOCK_SH_J1_P12 (1)
12 SM-6040802-TN SCREWM4X0.7L=8 (12)
13 E2502-729-000 PLATESTANDL (1)
14 E2503-729-000 PLATESTANDR (1)
15 SL-6052092-TN SCREWM5L=20 (4)
16 E2505-729-0A0 MARKASM. (1)
17 E2601-725-000 MARK (1)
18 E2505-729-000 MARKBASE (1)
19 SL-6041292-TN SCREWM4L=12 (4)
20 402-18908 FIXING_PLATE_J1_P12 (1)
21 SL-6041292-TN SCREWM4L=12 (5)
22 402-19071 NUMBER_PLATE_J1_P12 (1)
23 402-18909 POSITION_LABEL_J1_P12 (1)
24 SM-6030552-KS SCREW (5)
25 402-41167 PLATE_SUPPORT_P12 (2)
26 SL-6040892-TN SCREWM4L=8 (4)
27 SL-6031092-TN SCREWM3L=10 (6)
28 WP-0430801-SC WASHERM4 (6)
29 402-18910 FIXING_PLATE_B_J1_P12 (6)
30 SM-4040655-SN SCREWM4X0.7L=6 (12)
31 402-37848 MARK_ASM_15 (1)
32 402-37846 MARK_15 (1)
33 402-37847 MARK_BASE_15 (1)
34 SL-6082592-TN BOLT (4)
35 402-06638 SIDE_COVER_R_FIX (4)
36 400-81751 B_COVER_SCREW (8)
37 HX-0032600-0A GROMMET (1)
38
#02
401-99894 SEALING_PACKING_140 (1)
39 401-36921 CONECTOR_BR_SUPPORT (2)
40 SL-6061292-TN SCREWM6L=12 (4)
41 HX-0032600-0M DOMEPLUG (1)
42
#02
402-07397 CONNECTOR_BRACKET_UNIT 2
43
#03
402-07398 CONNECTOR_BRACKET_UNIT_EN 2
44 401-30360 FEEDERI/FPCBASM (1)
45 SL-4030691-SC SCREWM3L=6 (6)
46 BT-0600400-EC URETHANETUBEBLUE6X4 (1)
47 PJ-0320090-05 AIRCOUPLERNIPPLE (1)
48 PJ-2300061-00 PARTITIONUNION06
(1)
49 PJ-3090600-03 QUICKMANIFOLD5PX6 (3)
50 SL-6032092-TN SCREWM3L=20 (6)
51 PX-9500010-00 PLUG6 (1)
52 PJ-3010651-06 FEMALEUNION (9)
53 E2904-700-000 SOCKET (9)
54 BT-1000651-EA URETHANETUBEBLUE10X6.5 (1)
55 HX-0022100-0F GROMMET (1)
56 402-05750 RADIALCBCABLE1ASM (1)
57 402-05751 RADIALCBCABLE2ASM (1)
58 402-05752 RADIALCBCABLE3ASM (1)
59 402-05753 RADIALCBCABLE4ASM (1)
60 402-05754 RADIALCBCABLE5ASM (1)
61 SM-4850501-SC SCREWM2.5L=5 (18)
62 402-06454 CONN_LABEL_MI (1)
63 401-36861 MI_BANK_CON_NOTICE_LABEL (1)
64 HX-0029400-00 FIXEDBASE (14)
65 SL-4030591-SC SCREWM3L=5 (14)
66
#03
401-16750 BALL_CHAIN (9)
67
#03
401-16749 CONNECTOR_CAP (9)
68
#03
SL-6030692-TN SCREWM3L=6 (18)
69
#03
EZ-1482181-11 FERRITECLAMP(GRFC-13) (1)
70 402-06444 CONNECTOR_BR (1)
71
#03
SL-6061292-TN SCREWM6L=12 2
72
#03
SL-6040892-TN SCREWM4L=8 3
73
#03
402-11111 BANK_UNDER_COVER_S 1
74
#03
402-11112 BANK_UNDER_COVER_BR_S 1

- -
29.FEEDERBANKCOMPONENTS(2)