CM212-M.pdf - 第224页
22-C 下 流 延 長 コンベアー Downstream Ext ension Conveyor パーツレイアウト Ki t N o . キット 品番 Kit N am e キット名称 N6 10 016 62 7AA セクションNo. PARTS LAYOUT Section No. S91

Ref
No.
Remarks
R
1
Q'ty
22-B
下
流
延
長
コンベアー
Downstream Extension Conveyor
イラスト
No.
Part No.
品 名品番 数量
R
2
パーツリスト
Kit N
o
.
キット品
番
Kit Name
キット名称
N610016627AA
Part Name
備 考
セクションNo.
PARTS LIST
Section No.
R
3
SENSOR
1
2 N610012891AA
FRAME
1
7 N210047028AB
GUIDE
1
8 KXFB01J2A00
GUIDE
1
9 N210027557AA
BAR
1
13 N210027560AA
PULLEY
1
16 KXFB02QLB00
BRACKET
1
19 N210022331AA
BRACKET
1
20 N210022332AA
BRACKET
1
27 N210027566AA
NUT
1
28 KXFB02U4A00
BRACKET
1
29 KXFB0A49B00
BRACKET
1
30 KXFB0A4AA00
PLATE
1
31 N210010735AA
PULLEY
2
37 N510010794AA MB054000
SCREW
2
39 N510017992AA
Cross Recessed Round Head Screw M4X8-4.8 A2J (Trivalent)
MOTOR
1
40 N510048981AA
S
K0354-F2M-K1
O-RING
1
41 KXF0CT8AA00 CO0616A
SCREW
2
42 XXE5C6VW
Hexagon socket set screw M5X6 Flat point SUS304 Basis material
BOLT
2
52 N510017308AA
Hexagon socket head cap screw M3X12-10.9 A2J (Trivalent)
BOLT
4
55 N510017344AA
Hexagon socket head cap screw M4X10-10.9 A2J (Trivalent)
BOLT
10
56 N510017346AA
Hexagon socket head cap screw M4X12-10.9 A2J (Trivalent)
BOLT
4
57 N510017354AA
Hexagon socket head cap screw M4X20-10.9 A2J (Trivalent)
BOLT
4
58 N510017368AA
Hexagon socket head cap screw M4X45-10.9 A2J (Trivalent)
BOLT
2
60 N510017390AA
Hexagon socket head cap screw M5X12-10.9 A2J (Trivalent)
BOLT
3
61 N510017399AA
Hexagon socket head cap screw M5X25-10.9 A2J (Trivalent)
WASHER
2
65 N510020098AA Thick washer for M3
WASHER
2
66 N510020099AA Thick washer for M4
WASHER
2
67 N510020100AA Thick washer for M5
WASHER
2
68 N510018494AA
Round finish plain washer 3 10H A2J (Trivalent)
WASHER
11
69 N510018497AA
Round finish plain washer 4 10H A2J (Trivalent)
WASHER
2
70 N510018499AA
Round finish plain washer 5 10H A2J (Trivalent)
BAR
1
73 N210040856AA
NUT-PLATE
1
82 N210040859AA
BELT
1
84 KXF0E0R1A00 (DA KXF0E0R1A00)
CAM-FOLLOWER
2
85 N510002167AA U-AS5-49
BOLT
2
86 N510017337AA
Hexagon socket head cap screw M3X6-10.9 A2J (Trivalent)
BOLT
2
88 N510017395AA
Hexagon socket head cap screw M5X16-10.9 A2J (Trivalent)
WASHER
4
92 N510018479AA
Small round-plain washer 4 10H A2J (Trivalent)
WASHER
6
93 N510018480AA
Small round-plain washer 5 10H A2J (Trivalent)
S90

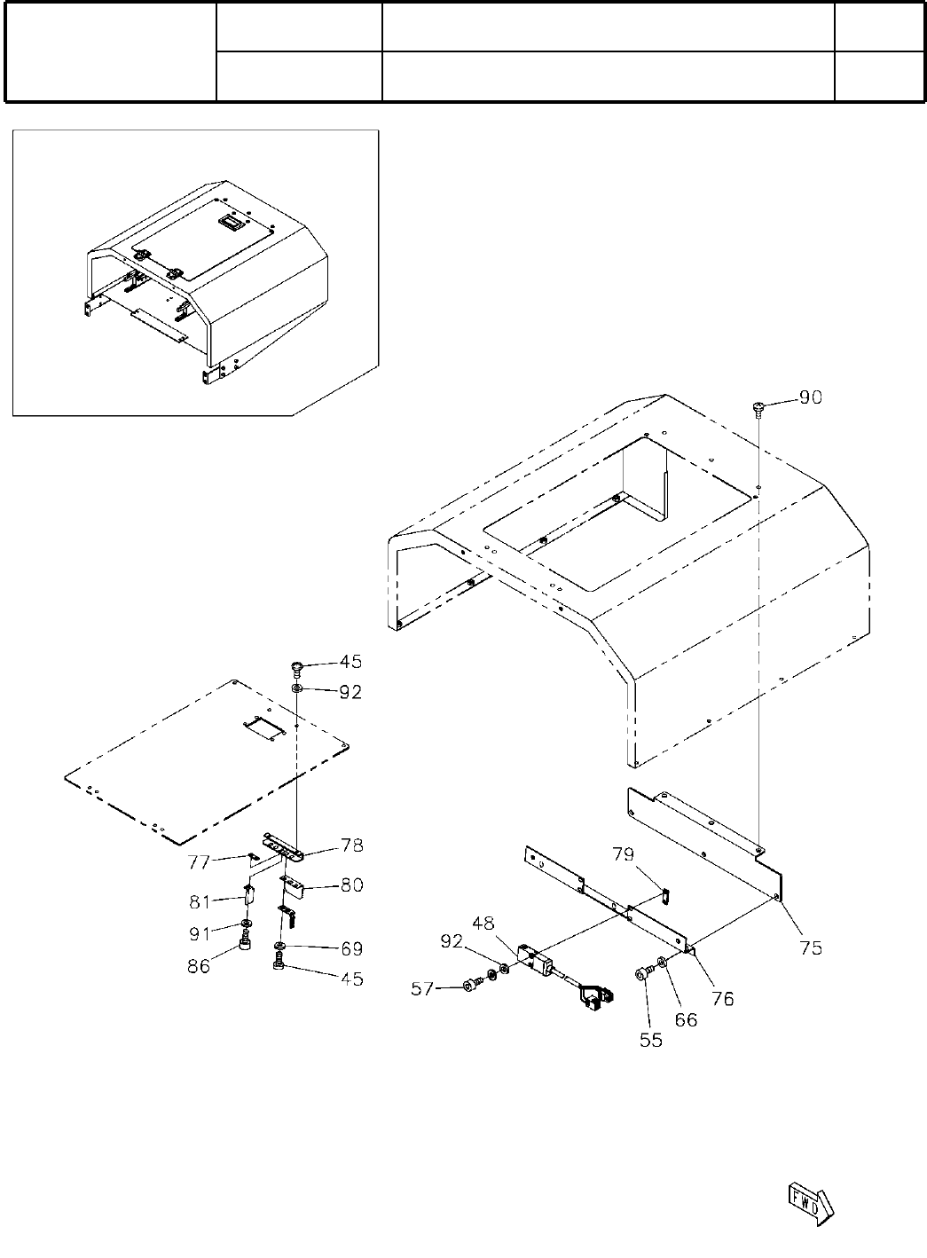
22-C
下
流
延
長
コンベアー
Downstream Extension Conveyor
パーツレイアウト
Ki
t
N
o
.
キット
品番
Kit Name
キット名称
N610016627AA
セクションNo.
PARTS LAYOUT
Section No.
S91

Ref
No.
Remarks
R
1
Q'ty
22-C
下
流
延
長
コンベアー
Downstream Extension Conveyor
イラスト
No.
Part No.
品 名品番 数量
R
2
パーツリスト
Kit N
o
.
キット品
番
Kit Name
キット名称
N610016627AA
Part Name
備 考
セクションNo.
PARTS LIST
Section No.
R
3
BOLT
4
45 N510001803AA SRBS-M4X12
SW(1000mm)
1
48 N610002227AA
S
BOLT
3
55 N510017344AA
Hexagon socket head cap screw M4X10-10.9 A2J (Trivalent)
BOLT
2
57 N510017354AA
Hexagon socket head cap screw M4X20-10.9 A2J (Trivalent)
WASHER
3
66 N510020099AA Thick washer for M4
WASHER
2
69 N510018497AA
Round finish plain washer 4 10H A2J (Trivalent)
BRACKET
1
75 N210040858AA
BRACKET
1
76 N210009676AA
NUT-PLATE
1
77 N210004525AA
BRACKET
1
78 N210009677AA
NUT-PLATE
1
79 KXFB03UPA00
COVER
1
80 N210009675AA
COVER
1
81 N210009673AA
BOLT
2
86 N510017337AA
Hexagon socket head cap screw M3X6-10.9 A2J (Trivalent)
SCREW
3
90 N510018279AA
Cross recessed Truss head machine screw M4X6-4.8 A2J (Trivalent)
WASHER
2
91 N510018478AA
Small round-plain washer 3 10H A2J (Trivalent)
WASHER
4
92 N510018479AA
Small round-plain washer 4 10H A2J (Trivalent)
S92