JUKI_KE-2070-2080_MAINTE_CH.pdf - 第98页
维修调整要领书 4-3 4-3 . OCC 同轴/角度照明电路板组件的更换 1) 按照 4-1. OCC 配件的更换要领,从头板卸下照明配件。 2) 卸下圆头螺丝 ① ,更换 OCC 同轴照明电路板组件。 3) 卸下带垫片六角孔螺栓 ② ,更换 OCC 角度照明电路板组件。 4) 安装时,请按照相反的顺序进行。 5) 更换后,请进行照明滤光器 U 、 OCC 灯光的调整。(参照 4-8 更换后的重新调整一览) 图 4 -3 -1 OCC…

维修调整要领书
4-2
4-2.CCD 摄像机、镜头的更换
1) 4-1.OCC 配件的更换要领,从摄像机板上卸下摄像机配件。
2) 请拆下用于固定 CCD 摄像机、镜头的固定螺,进行钉更换。
3) 安装时。请按照相反的顺序进行。
(各螺钉请涂上粘结剂 LOCTITE242,以安装扭矩进行固定。)
4) 更换后,请进行焦点调整、MS参数输入。(参照 4-8 更换后的再调整一览)
图 4-2-1 CCD 摄像机/镜头
六角孔螺栓(×4)
涂粘结剂 LOCTITE242
安装扭矩 0.3Nm
镜头
圆螺纹螺钉(×2)
涂粘结剂 LOCTITE242
安装扭矩 1.0Nm
CCD 摄像机
有头螺钉(×2)
涂粘结剂 LOCTITE242
安装扭矩 1.0Nm

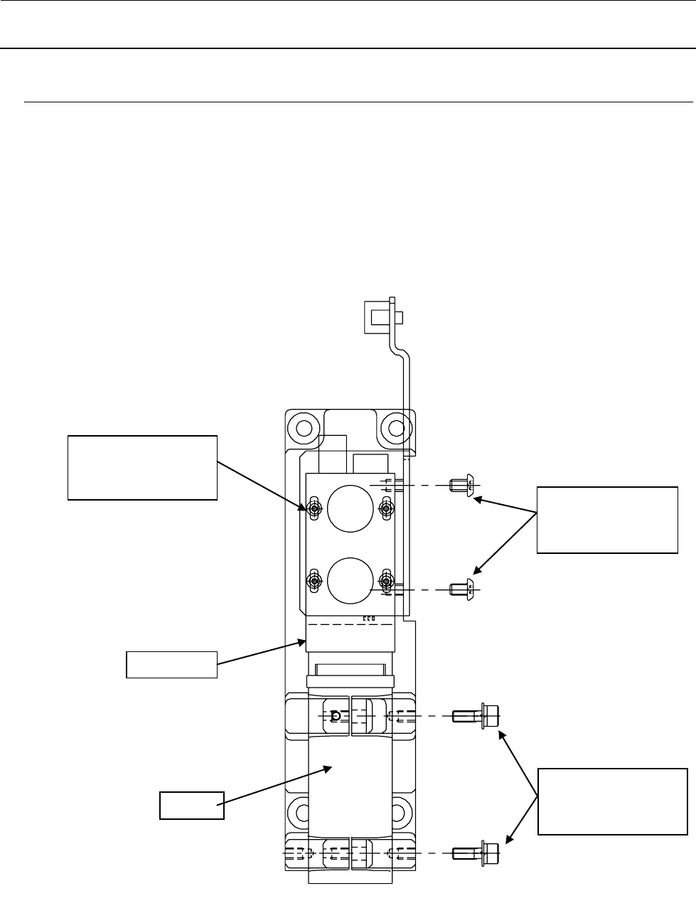
维修调整要领书
4-3
4-3.OCC 同轴/角度照明电路板组件的更换
1) 按照 4-1. OCC 配件的更换要领,从头板卸下照明配件。
2) 卸下圆头螺丝①,更换 OCC 同轴照明电路板组件。
3) 卸下带垫片六角孔螺栓②,更换 OCC 角度照明电路板组件。
4) 安装时,请按照相反的顺序进行。
5) 更换后,请进行照明滤光器 U、OCC 灯光的调整。(参照 4-8 更换后的重新调整一览)
图 4-3-1 OCC 同轴/角度照明电路版的更换
①圆螺丝(×2)
②带垫片六角孔螺栓
(×4)
同轴照明电路版组
角度照明电路版组

维修调整要领书
4-4
4-4.滤光镜的更换
1) 按照 OCC 更换配件的要领,从贴装头板卸下照明配件。
2) 卸下带垫片六角孔螺栓、环、平头螺丝,再卸下照明滤光镜U支架、滤光镜、导板。
3) 卸下平螺丝,更换滤光镜。
4) 安装时,请按照相反的顺序安装。
5) 更换后,进行偏光滤光镜、OCC照明的调整。(参照 4-8 更换后的重新调整一览)
图 4-4-1 滤光镜的更换
平头螺丝
(×
2) 平螺丝(×4)
带垫片六角孔螺栓(×1)
环(×1)
照明滤光镜
U
支架(×
1)
滤光镜(×1)
导板(×1)