00192792-02.pdf - 第40页
1 Nachrüstanleitung: Matrix Tray C hanger MTC an S-25 HM ( Option) SIPLACE 80 S -25 HM 1.8 Installation des MTC Ausgabe 01/01 40 VORSICHT vor ANSCHL USS des MTC Für den Be trieb mi t 1 10 V~ muß für US A optiona l das &q…

SIPLACE 80 S-25 HM 1 Nachrüstanleitung: Matrix Tray Changer MTC an S-25 HM (Option)
Ausgabe 01/01 1.8 Installation des MTC
39
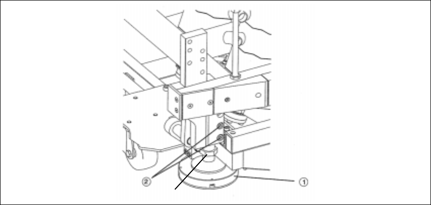
Abb. 1.8.3 MTC durch Einstellen der Maschinenfüße ausrichten
Legende:
1. Maschinenfuß
2. Klemmschrauben
Å Bei einer Transporthöhe von 830 mm: Demontieren Sie unten, am Maschinenrahmen des
MTC, das U-förmige Abdeckblech, damit die beiden Klemmschrauben (siehe Abb. 1.8.3 ->
Pos. 2) zugänglich werden.
Lösen Sie hierzu die 6 Schrauben am Abdeckblech (Innensechskantschraubendreher Gr. 3).
Å Richten Sie dann den MTC durch Einstellen der Maschinenfüße mittels Gabelschlüssel
SW 30-36 so aus, daß die Luftblase des Fischauges der Einrichtlehre exakt mittig steht.
Dies ist im Detail in der Betriebsanleitung MTC beschrieben.
Å Dabei müssen Sie ggf. noch mal die Höhe des MTC korrigieren, so daß letztlich der rote Ring
(siehe Abb. 1.8.2) bei mittiger Luftblase wieder gerade noch sichtbar ist.
Å Arretieren Sie in dieser Position die Maschinenfüße mit den Klemmschrauben (siehe Abb.
1.8.3 -> Pos. 2): Innensechskantschrauben M8 (Gr. 6).
Å Entfernen Sie die Einrichtlehre und setzen Sie diese wieder am Aufbewahrungsort im Turm 1
des MTC ein.
Å Montieren Sie das Abdeckblech des MTC wieder (6 Schrauben, Innensechskantschrauben-
dreher Gr. 3).
SW 13

1 Nachrüstanleitung: Matrix Tray Changer MTC an S-25 HM (Option) SIPLACE 80 S-25 HM
1.8 Installation des MTC Ausgabe 01/01
40
VORSICHT vor ANSCHLUSS des MTC
Für den Betrieb mit 110V~ muß für USA optional das "110V~ Spannungsmodul MTC" nachgerü-
stet werden und für Japan die "Externe Stromversorung MTC" (siehe Nachrüstsätze, im
Abschn. 1.5).
Å Schließen Sie das Stromversorgungs- und Schnittstellenkabel des MTC und des BE-Tisches
an (ggf. auch einen vorhandenen zweiten MTC inkl. BE-Tisch). Der Sicherheitskreis des MTC
und des BE-Tisches wird über das Schnittstellenkabel geschlossen.
0DVFKLQHNRPSOHWWLHUHQ
Å Bei Maschinen MIT Aussparung MTC (ca. ab Serien-Nr. 450):
Hängen Sie den neuen "BE-Abwurfbehälter MTC" neben dem MTC am Maschinenständer ein
(siehe Abb. 1.7.17).
Falls ein zweiter MTC nachgerüstet wurde, führen Sie dies auch am anderen Stellplatz aus.
Å Bei Maschinen OHNE Aussparung MTC (ca. bis Serien-Nr. 449):
Setzen Sie den neuen "BE-Abwurfbehälter Tisch, Art.-Nr. 00355146-01 (aus dem Nachrüst-
satz MTC) direkt rechts neben den MTC auf den BE-Tisch ein.
HINWEIS:
Der Typ des Abwurfbehälters muß später noch im SITEST konfiguriert werden (siehe Abschn.
1.8.5).
Å Falls an einem Stellplatz ohne MTC ein fahrbarer BE-Wechseltisch angedockt werden muß,
schalten Sie jetzt die Druckluft am Hauptventil der Drucklufteinheit der Maschine wieder ein.
Schalten Sie die Maschine ein.
Docken Sie den fahrbaren BE-Wechseltisch an, wie im Detail in der Betriebsanleitung be-
schrieben.
Å Stellen Sie durch Sichtkontrolle sicher, daß alle Leergurtenden im Leergurtleitkanal richtig
nach unten geführt sind.
Å Schließen Sie alle Sicherheitstüren-/abdeckungen und die Schutzhauben der Maschine.

SIPLACE 80 S-25 HM 1 Nachrüstanleitung: Matrix Tray Changer MTC an S-25 HM (Option)
Ausgabe 01/01 1.8 Installation des MTC
41
.RQILJXUDWLRQGHV07&
Die Option MTC wird automatisch von der Software erkannt, wenn der MTC UND der BE-Tisch
vor dem Einschalten der Maschine vollständig angeschlossen wurde (Schnittstelle und Stromver-
sorgung).
Falls dieser Ablauf nicht eingehalten wurde, können Sie nachträglich die Option MTC im SITEST
aktivieren:
Å Wählen Sie im SITEST-Grundmenü -> Stellplatzabfrage (Button).
6,7(67%($EZXUIXQG33:07&NRQILJXULHUHQ33:YHUPHVVHQ
GEFAHR
Das SITEST-Programm darf grundsätzlich nur durch Personen gestartet werden, die in der An-
wendung bei der Fa. Siemens AG geschult wurden und dadurch hierfür autorisiert sind!
Bei Anwendung des SITEST-Programmes besteht - neben der generell erhöhten Unfallgefahr -
zusätzliche, erhöhte Unfallgefahr durch die Messer des Schneidgerätes.
Das Schneidgerät und der Leergurtleitkanal müssen immer komplett montiert sein.
Der MTC und der BE-Wechseltisch müssen richtig angedockt sein.
Der Pipettenwechsler muß nach dem vollständigen Einbau konfiguriert und vermessen werden.
Voraussetzung hierfür ist:
– Alle Bestückköpfe und Kameras müssen vorher bereits kalibriert worden sein (siehe
SITEST-Bedienungsanleitung).
Führen Sie den nachfolgenden Ablauf für den neu eingebauten Pipettenwechsler MTC durch.
HINWEIS
Die Konfiguration und Kalibrierung muß für das Portal durchgeführt werden, an dem der MTC ein-
gebaut ist. Dies kann entweder am Stellplatz 1 (Portal 1) oder am Stellplatz 3 (Portal 2) der Fall
sein oder an beiden Stellplätzen. Nachfolgend ist der Ablauf für Portal 1 mit konfiguriertem 6-Seg-
ment-Revolverkopf beschrieben. Auf den Unterschied zwischen RV6- und RV12-Kopf- und Ma-
gazin-Belegung wird im folgenden Ablauf - an der erforderlichen Stelle - eingegangen.
Die $EE zeigt das SITEST-Menü zur Pipettenwechsler-Magazinkonfiguration für den
59 -Pipettenwechsler MTC.