KE-2050_KE-2050R_KE-2055R_KE-2060_KE-2060R-Rev14.PDFA__OCR.pdf - 第80页
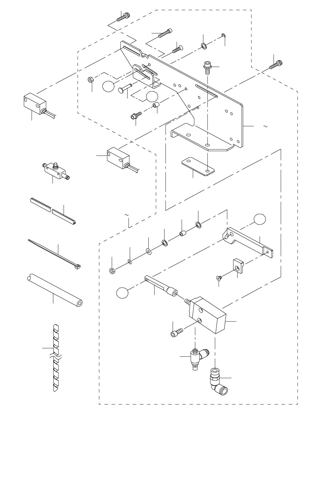
- 75 - 38 . P W B CO NVE Y O R CO MP ON ENT S ( 8) 基板搬送関係(8) 44 35 33 32 31 34 27 30 A 26 29 29 A 45 28 9 16 17 24 25 36 37 38 39 40 41 42 43 46 47 1 2 3 3 4 5 6 8 7 B B

- 74 -
NOTE( 注記 ) #01....FOR FRONT ・ LEFT-RIGHT 手前・左右用
FOR REAR ・ RIGHT-LEFT 奥・右左用
#02....FOR FRONT ・ RIGHT-LEFT 手前・右左用
FOR REAR ・ LEFT-RIGHT 奥・左右用
#03....FOR 2050C 2050 C 用
#04....EXCEPT 2050C 2050 C を除く
*INSTALLATION POSITION AND DIRECTION VARY IF THE PWB TRANSFER
REFERENCE IS DIFFERENT.
基板搬送基準が異なると取付位置、方向が変わります。
REF.NO NOTE PART NO D E S C R I P T I O N
品 名
Qty
1 400-00886 GUIDE BLOCK ASM.
ガイドブロック組
1
2
#03
400-18880 GUIDE BLOCK ASM (C)
ガイドブロック組(C)
1
3 400-00887 GUIDE_BLOCK_A_ASM
ガイドブロック A 組
(1)
4
#03
400-00887 GUIDE_BLOCK_A_ASM
ガイドブロック A 組
(1)
5 400-00889 GUIDE_BLOCK_B_ASM
ガイドブロック B 組
(1)
6
#03
400-00889 GUIDE_BLOCK_B_ASM
ガイドブロック B 組
(1)
7
#04
400-15791 DAMPER PLATE L
ダンパープレート L
(1)
8
#04
400-15792 DAMPER PLATE R
ダンパープレート R
(1)
9
#04
400-15793 LOCK SPRING
ロックスプリング
(2)
10
#04
400-00895 DAMPER BLOCK R
ダンパブロック R
(1)
11
#04
SL-6030892-TN SCREW
座金付き六角穴ボルト
(4)
12
#04
400-00891 STOPER SLIDE LEVER L
ストッパスライドレバー L
(1)
13
#04
400-00897 STOPER SLIDE LEVER R
ストッパスライドレバー R
(1)
14
#04
400-00892 DAMPER BLOCK L
ダンパブロック L
(1)
15
#03
400-00877 GUIDE BLOCK CLAMP
ガイドブロッククランプ
(1)
16
#03
SM-6041602-TN SCREW M4 X 16
六角穴ボルト M 4 X 0.7 L =16
(1)
17 400-00978 DAMPER LOCK LINK
ダンパロックリンク
2
18 400-00950 DAMPER SPRING
ダンパスプリング
2
19 RE-0300000-K0 E-RING 3
E 形止め輪 3
6
20 EA-9500B00-00 CLIP CV-70S
結束バンド 60
5
21 HX-0031400-00 SPIRAL TABE
スパイラル チューブ
0.3
22 400-01081 CENTERING PIN 4.0
センタリングピン4.0
2
23 400-00877 GUIDE BLOCK CLAMP
ガイドブロッククランプ
1
24 SM-6041602-TN SCREW M4 X 16
六角穴ボルト M 4 X 0.7 L =16
1
25 400-02122 T.PIN SENS ASM.
ティーピンセンサ組
1
26 SL-6030692-TN SCREW M3 L=6
座金付き六角穴ボルト M 3 L =6
1
27 SL-4031091-SC SCREW M3 X 10
なべ小ねじセムス
2
28 RE-0300000-K0 E-RING 3
E 形止め輪 3
2
29 400-00896 DAMPER LOCK PIN
ダンパロックピン
2
30
#01
E2148-721-000 SENSOR BRACKET R
センサブラケット R
1
31
#02
E2147-721-000 SENSOR BRACKET L
センサブラケット L
1
32 400-01087 CENTERING PIN 3.4
センタリングピン3.4
1
33 400-01088 CENTERING PIN 3.3
センタリングピン3.3
1
34 400-01089 CENTERING PIN 3.2
センタリングピン3.2
1
35 400-01090 CENTERING PIN 3.1
センタリングピン3.1
1
36 400-01091 CENTERING PIN 3.0
センタリングピン3.0
1
37 400-01092 CENTERING PIN 2.9
センタリングピン2.9
1
38 400-01093 CENTERING PIN 2.8
センタリングピン2.8
1
39 400-01094 CENTERING PIN 2.7
センタリングピン2.7
1
40 400-01095 CENTERING PIN 2.6
センタリングピン2.6
1
41 400-01096 CENTERING PIN 2.5
センタリングピン2.5
1
42 400-01097 CENTERING PIN 2.0
センタリングピン2.0
1
43 400-01098 CENTERING PIN 1.9
センタリングピン1.9
1
44 400-01099 CENTERING PIN 1.8
センタリングピン1.8
1
45 400-01082 CENTERING PIN 3.9
センタリングピン3.9
1
46 400-01083 CENTERING PIN 3.8
センタリングピン3.8
1
47 400-01084 CENTERING PIN 3.7
センタリングピン3.7
1
48 400-01085 CENTERING PIN 3.6
センタリングピン3.6
1
49 400-01086 CENTERING PIN 3.5
センタリングピン3.5
1

- 75 -
38.PWB CONVEYOR COMPONENTS (8)
基板搬送関係(8)
44
35
33
32
31
34
27
30
A
26
29
29
A
45
28
9 16
17 24
25
36
37
38
39
40
41
42
43
46
47
1
2
3
3
4
5
6
8
7
B
B

- 76 -
NOTE( 注記 ) #01....FOR FRONT ・ LEFT-RIGHT 手前・左右用
#02....FOR FRONT ・ RIGHT-LEFT 手前・右左用
#03....FOR REAR ・ LEFT-RIGHT 奥・左右用
#04....FOR REAR ・ RIGHT-LEFT 奥・右左用
#05....FOR FRONT ・ LEFT-RIGHT(L) 手前・左右用 (L)
#06....FOR FRONT ・ RIGHT-LEFT(L) 手前・右左用 (L)
#07....FOR REAR ・ LEFT-RIGHT(L) 奥・左右用 (L)
#08....FOR REAR ・ RIGHT-LEFT(L) 奥・右左用 (L)
*INSTALLATION POSITION AND DIRECTION VARY IF THE PWB TRANSFER
REFERENCE IS DIFFERENT.
基板搬送基準が異なると取付位置、方向が変わります。
REF.NO NOTE PART NO D E S C R I P T I O N
品 名
Qty
1 400-02214 STOP SENS ASM.
ストップセンサ組
1
2 400-02235 C.OUT SENS ASM.
シーアウトセンサ組
1
3 SL-4031291-SC SCREW M3X12
なべ小ねじセムス M 3 X 0.5 L =12
2
4 PC-0124010-00 SPEED CONTROLLER
スピ−ド コントロ−ラ
1
5 HX-0036700-0A BUSH
ブッシュ
0.1
6 EA-9500B00-00 CLIP CV-70S
結束バンド 60
5
7 BT-0400251-EA TUBE HOSE, BLUE
ウレタンホ−ス 青
3
8 HX-0031400-00 SPIRAL TABE
スパイラル チューブ
0.4
9
#01
400-20551 STOPER FR ASM.
ストッパ FR 組
1
10
#02
400-20554 STOPER FL ASM.
ストッパ FL 組
1
11
#03
400-20557 STOPER RR ASM.
ストッパ RR 組
1
12
#04
400-20560 STOPER RL ASM.
ストッパ RL 組
1
13
#05
400-20564 STOPER FR ASM.(L)
ストッパ FR 組(L)
1
14
#06
400-20567 STOPER FL ASM.(L)
ストッパ FL 組(L)
1
15
#07
400-20570 STOPER RR ASM.(L)
ストッパ RR 組(L)
1
16
#08
400-20573 STOPER RL ASM.(L)
ストッパ RL 組(L)
1
17
#01
400-20552 STOPER FRAME FR
ストッパフレーム FR
(1)
18
#02
400-20555 STOPER FRAME FL
ストッパフレーム FL
(1)
19
#03
400-20558 STOPER FRAME RR
ストッパフレーム RR
(1)
20
#04
400-20561 STOPER FRAME RL
ストッパフレーム RL
(1)
21
#05
400-20565 STOPER FRAME FR(L)
ストッパフレーム FR(L)
(1)
22
#06
400-20568 STOPER FRAME FL(L)
ストッパ FL(L)
(1)
23
#07
400-20571 STOPER FRAME RR(L)
ストッパフレーム RR(L)
(1)
24
#08
400-20574 STOPER FRAME RL(L)
ストッパフレーム RL(L)
(1)
25 400-00909 STOPPER
ストッパ
(1)
26 E2233-725-000 STOPPER CHIP
ストッパチップ
(1)
27 SM-1030401-SE SCREW M3 L=4
皿ねじ M 3 X 0.5 L =4
(1)
28 SM-1031201-SC SCREW M3X0.5 L=12
皿小ねじ M 3 X 0.5 L =12
(1)
29 E2039-721-000 WASHER A
スラストワッシャ A
(2)
30 E2038-721-000 STOPPER COLLAR
ストッパカラー
(1)
31 WP-0330516-SC WASHER 3.3X8X0.5
平座金 3.3 X 8 X 0.5
(1)
32 WS-0310002-KN SPRING WASHER M3
ばね座金 3.1 X 5.9 X 0.7
(1)
33 NM-6030001-SC NUT M3
六角ナット M 3 X 0.5 1種
(1)
34 E7303-715-000 TH GUIDE
TH ガイド
(1)
35 SL-6030842-TN SCREW M3 L=8
座金付き六角穴ボルト
(1)
36 400-00910 STOPER PIN
ストッパピン
(1)
37 RE-0200000-K0 E-RING
E 形止め輪 2
(1)
38 WP-0320501-SC WASHER M3
平座金 3.2 X 7 X 0.5
(1)
39 400-00911 STOPER CONNECT
ストッパコネクト
(1)
40 PA-1002008-A0 AIR CYLINDER
エアシリンダ
(1)
41 SM-6031402-TN SCREW M3X0.5 L=8
六角穴ボルト
(2)
42 PC-0105080-00 SPEED CONTROLLER
スピ−ドコントロ−ラ
(1)
43 PJ-3040405-11 ELBOW UNION
エルボユニオン
(1)
44 SL-6041292-TN SCREW
座金付き六角穴ボルト
(2)
45 E2169-721-000 HOLD PLATE
ホールドプレート
(1)
46 SM-6031502-UZ SCREW M3 L=15
六角穴付きボルト M 3 L =15
(1)
47 NM-6030002-SC NUT M3
六角ナット M 3 X 0.5 2種
(1)