KE-2050_KE-2050R_KE-2055R_KE-2060_KE-2060R-Rev14.PDFA__OCR.pdf - 第82页
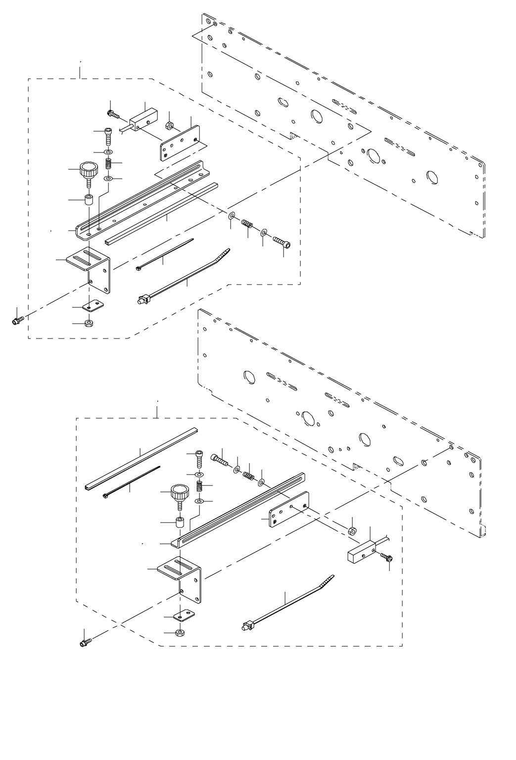
- 77 - 39 . P W B CO NVE Y O R CO MP ON ENT S ( 9) 基板搬送関係(9) 17 4 18 6 8 7 9 22 10 10 11 11 26 12 21 32 22 23 24 25 26 26 12 33 35 34 27 7 11 11 26 25 12 13 28 29 14 30 15 16 31 37 37 1 2 5 19 20 3 36

- 76 -
NOTE( 注記 ) #01....FOR FRONT ・ LEFT-RIGHT 手前・左右用
#02....FOR FRONT ・ RIGHT-LEFT 手前・右左用
#03....FOR REAR ・ LEFT-RIGHT 奥・左右用
#04....FOR REAR ・ RIGHT-LEFT 奥・右左用
#05....FOR FRONT ・ LEFT-RIGHT(L) 手前・左右用 (L)
#06....FOR FRONT ・ RIGHT-LEFT(L) 手前・右左用 (L)
#07....FOR REAR ・ LEFT-RIGHT(L) 奥・左右用 (L)
#08....FOR REAR ・ RIGHT-LEFT(L) 奥・右左用 (L)
*INSTALLATION POSITION AND DIRECTION VARY IF THE PWB TRANSFER
REFERENCE IS DIFFERENT.
基板搬送基準が異なると取付位置、方向が変わります。
REF.NO NOTE PART NO D E S C R I P T I O N
品 名
Qty
1 400-02214 STOP SENS ASM.
ストップセンサ組
1
2 400-02235 C.OUT SENS ASM.
シーアウトセンサ組
1
3 SL-4031291-SC SCREW M3X12
なべ小ねじセムス M 3 X 0.5 L =12
2
4 PC-0124010-00 SPEED CONTROLLER
スピ−ド コントロ−ラ
1
5 HX-0036700-0A BUSH
ブッシュ
0.1
6 EA-9500B00-00 CLIP CV-70S
結束バンド 60
5
7 BT-0400251-EA TUBE HOSE, BLUE
ウレタンホ−ス 青
3
8 HX-0031400-00 SPIRAL TABE
スパイラル チューブ
0.4
9
#01
400-20551 STOPER FR ASM.
ストッパ FR 組
1
10
#02
400-20554 STOPER FL ASM.
ストッパ FL 組
1
11
#03
400-20557 STOPER RR ASM.
ストッパ RR 組
1
12
#04
400-20560 STOPER RL ASM.
ストッパ RL 組
1
13
#05
400-20564 STOPER FR ASM.(L)
ストッパ FR 組(L)
1
14
#06
400-20567 STOPER FL ASM.(L)
ストッパ FL 組(L)
1
15
#07
400-20570 STOPER RR ASM.(L)
ストッパ RR 組(L)
1
16
#08
400-20573 STOPER RL ASM.(L)
ストッパ RL 組(L)
1
17
#01
400-20552 STOPER FRAME FR
ストッパフレーム FR
(1)
18
#02
400-20555 STOPER FRAME FL
ストッパフレーム FL
(1)
19
#03
400-20558 STOPER FRAME RR
ストッパフレーム RR
(1)
20
#04
400-20561 STOPER FRAME RL
ストッパフレーム RL
(1)
21
#05
400-20565 STOPER FRAME FR(L)
ストッパフレーム FR(L)
(1)
22
#06
400-20568 STOPER FRAME FL(L)
ストッパ FL(L)
(1)
23
#07
400-20571 STOPER FRAME RR(L)
ストッパフレーム RR(L)
(1)
24
#08
400-20574 STOPER FRAME RL(L)
ストッパフレーム RL(L)
(1)
25 400-00909 STOPPER
ストッパ
(1)
26 E2233-725-000 STOPPER CHIP
ストッパチップ
(1)
27 SM-1030401-SE SCREW M3 L=4
皿ねじ M 3 X 0.5 L =4
(1)
28 SM-1031201-SC SCREW M3X0.5 L=12
皿小ねじ M 3 X 0.5 L =12
(1)
29 E2039-721-000 WASHER A
スラストワッシャ A
(2)
30 E2038-721-000 STOPPER COLLAR
ストッパカラー
(1)
31 WP-0330516-SC WASHER 3.3X8X0.5
平座金 3.3 X 8 X 0.5
(1)
32 WS-0310002-KN SPRING WASHER M3
ばね座金 3.1 X 5.9 X 0.7
(1)
33 NM-6030001-SC NUT M3
六角ナット M 3 X 0.5 1種
(1)
34 E7303-715-000 TH GUIDE
TH ガイド
(1)
35 SL-6030842-TN SCREW M3 L=8
座金付き六角穴ボルト
(1)
36 400-00910 STOPER PIN
ストッパピン
(1)
37 RE-0200000-K0 E-RING
E 形止め輪 2
(1)
38 WP-0320501-SC WASHER M3
平座金 3.2 X 7 X 0.5
(1)
39 400-00911 STOPER CONNECT
ストッパコネクト
(1)
40 PA-1002008-A0 AIR CYLINDER
エアシリンダ
(1)
41 SM-6031402-TN SCREW M3X0.5 L=8
六角穴ボルト
(2)
42 PC-0105080-00 SPEED CONTROLLER
スピ−ドコントロ−ラ
(1)
43 PJ-3040405-11 ELBOW UNION
エルボユニオン
(1)
44 SL-6041292-TN SCREW
座金付き六角穴ボルト
(2)
45 E2169-721-000 HOLD PLATE
ホールドプレート
(1)
46 SM-6031502-UZ SCREW M3 L=15
六角穴付きボルト M 3 L =15
(1)
47 NM-6030002-SC NUT M3
六角ナット M 3 X 0.5 2種
(1)

- 77 -
39.PWB CONVEYOR COMPONENTS (9)
基板搬送関係(9)
17
4
18
6
8
7
9
22
10
10
11
11
26
12
21
32
22
23
24
25
26
26
12
33
35
34
27
7
11
11
26
25
12
13
28
29
14
30
15
16
31
37
37
1
2
5
19
20
3
36

- 78 -
NOTE( 注記 ) #01....FOR REAR REFERENCE リヤ基準用
*INSTALLATION POSITION AND DIRECTION VARY IF THE PWB TRANSFER
REFERENCE IS DIFFERENT.
基板搬送基準が異なると取付位置、方向が変わります。
REF.NO NOTE PART NO D E S C R I P T I O N
品 名
Qty
1 400-00908 IN SENSOR ASM.
インセンサ組
1
2
#01
400-17260 IN SENSOR ASM.
インセンサ組
1
3 HX-0044000-00 CABLE BAND
束線バンド
(1)
4 400-01078 SENSOR BRAKET B
センサブラケット B
(1)
5 400-01079 SENSOR BRAKET C
センサブラケット C
(1)
6 400-01076 SENSOR SLIDE PLATE
センサスライドプレート
(1)
7 400-00912 SENSOR ADJUST SPRING
センサアジャストスプリング
(3)
8 G6518-880-000 SET PICK-UP
セットつまみ
(1)
9 400-58815 SPACER
スペーサ
(1)
10 SM-6041602-TN SCREW M4 X 16
六角穴ボルト M 4 X 0.7 L =16
(3)
11 WP-0430801-SC WASHER 4.3X9X0.8
平座金 4.3 X 9 X 0.8
(6)
12 NM-6040002-SE NUT M4X0.7
六角ナット M 4 X 0.7 2種
(3)
13 400-02208 IN_SENS_ASM
インセンサ組
(1)
14 SL-4031291-SC SCREW M3X12
なべ小ねじセムス M 3 X 0.5 L =12
(1)
15 HX-0036700-0A BUSH
ブッシュ
(0.16)
16 EA-9500B00-00 CLIP CV-70S
結束バンド 60
(5)
17 400-01077 SENSOR BRAKET A
センサブラケット A
(1)
18
#01
400-17255 SENSOR BRAKET BR
センサブラケット BR
(1)
19 400-00914 OUT SENSOR ASM.
アウトセンサ組
1
20
#01
400-17261 OUT SENSOR ASM.
アウトセンサ組
1
21 400-01076 SENSOR SLIDE PLATE
センサスライドプレート
(1)
22 400-00912 SENSOR ADJUST SPRING
センサアジャストスプリング
(3)
23 G6518-880-000 SET PICK-UP
セットつまみ
(1)
24 400-58815 SPACER
スペーサ
(1)
25 SM-6041602-TN SCREW M4 X 16
六角穴ボルト M 4 X 0.7 L =16
(3)
26 WP-0430801-SC WASHER 4.3X9X0.8
平座金 4.3 X 9 X 0.8
(6)
27 NM-6040002-SE NUT M4X0.7
六角ナット M 4 X 0.7 2種
(3)
28 400-02210 OUT SENS ASM.
アウトセンサ組
(1)
29 SL-4031291-SC SCREW M3X12
なべ小ねじセムス M 3 X 0.5 L =12
(1)
30 HX-0036700-0A BUSH
ブッシュ
(0.16)
31 EA-9500B00-00 CLIP CV-70S
結束バンド 60
(5)
32 400-01077 SENSOR BRAKET A
センサブラケット A
(1)
33 400-01078 SENSOR BRAKET B
センサブラケット B
(1)
34 400-01079 SENSOR BRAKET C
センサブラケット C
(1)
35
#01
400-17255 SENSOR BRAKET BR
センサブラケット BR
(1)
36 HX-0044000-00 CABLE BAND
束線バンド
(1)
37 SL-6031092-TN SCREW
座金付き六角穴ボルト
4