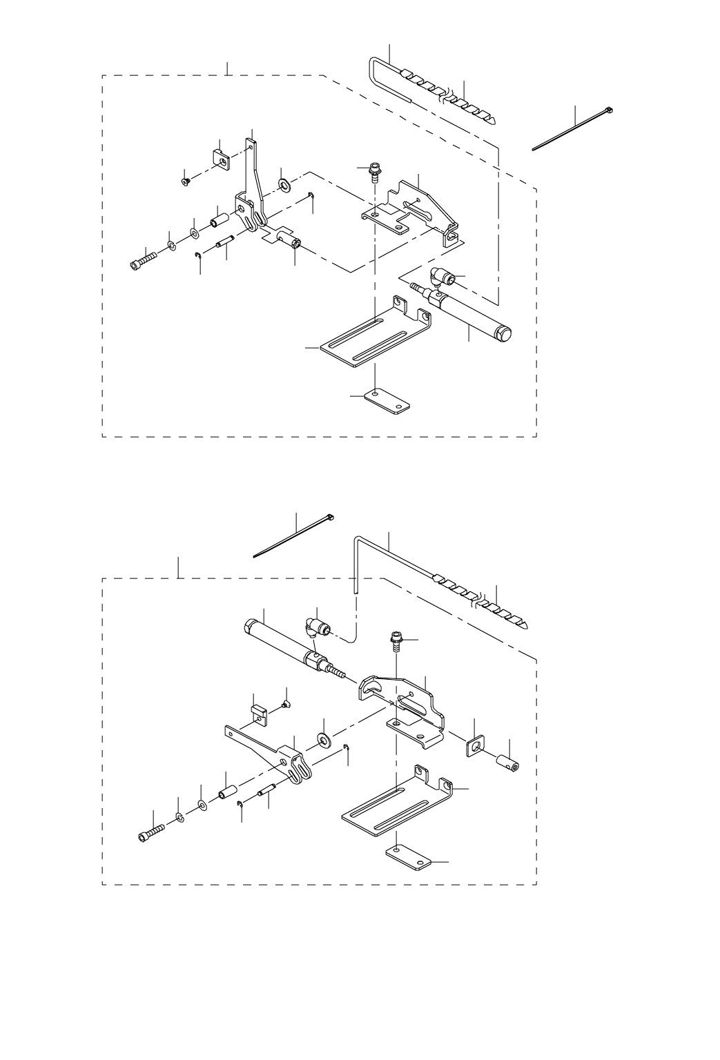
KE-2050_KE-2050R_KE-2055R_KE-2060_KE-2060R-Rev14.PDFA__OCR.pdf - 第85页
- 80 - N O TE( 注記 ) # 01.. .. FOR 2050L,2050 RL, 2 060L, 2050 L,2050 RL,2060 L, 2 06 0 RL 2060 RL 用 #0 2 ....4 PORT ELECTROMAGNETI C オプション VCS が付いている V ALVE I S NECESSARY WHEN 場合は、4つ組のデンジベンが OPT ION VC S IS A TT A CHED. …

- 79 -
40.PWB CONVEYOR COMPONENTS (10)
基板搬送関係(10)
3
7
4
6
5
11
9
10
12
34
18
28
29
30
24
13
14
2623
25
32
33
20
31
19
15
22
21
21
22
16
17
27
1
2
8

- 80 -
NOTE( 注記 ) #01....FOR 2050L,2050RL,2060L, 2050 L,2050 RL,2060 L,
2060RL 2060 RL 用
#02....4 PORT ELECTROMAGNETIC オプション VCS が付いている
VALVE IS NECESSARY WHEN 場合は、4つ組のデンジベンが
OPTION VCS IS ATTACHED. 必要です。
*INSTALLATION POSITION AND DIRECTION VARY IF THE PWB TRANSFER
REFERENCE IS DIFFERENT.
基板搬送基準が異なると取付位置、方向が変わります。
REF.NO NOTE PART NO D E S C R I P T I O N
品 名
Qty
1 400-00915 CONVEYOR OTHER PARTS
コンベアアザーパーツ
1
2
#01
400-01015 MECHA OTHER PARTS(L)
アザーパーツ(L)
1
3 400-00916 MANIFOLD VALVE A ASM.
コンベアバルブ組
(1)
4 PV-9150050-00 SOLENOID VALVE INSTALLING BASE
電磁弁取付ベース
(1)
5
#02
PV-1502093-00 5 PORT ELECTROMAGNETIC VALVE
5ポート電磁弁
(3)
6 PX-0500030-00 SILENCER サイレンサ (1)
7 SL-6041092-TN SCREW
座金付き六角穴ボルト
(2)
8 400-00903 REGULATOR ASM.
レギュレータ組
(1)
9 PF-0200040-00 REGULATOR
レギュレータ
(2)
10 400-00904 REGULATOR BRACKET
レギュレータブラケット
(1)
11 SM-4033001-SC SCREW M3 L=30
なべ小ねじ M 3 X 0.5 L =30
(4)
12 SL-6040892-TN BOLT
座金付き六角穴ボルト
(2)
13 PC-0124010-00 SPEED CONTROLLER
スピ−ド コントロ−ラ
(2)
14 BT-0400251-EA TUBE HOSE, BLUE
ウレタンホ−ス 青
(4)
15 PX-5000140-00 PLUG
止栓
(3)
16 400-02212 WAIT SENS ASM
ウェイトセンサ組
(1)
17 SL-6030642-TN SCREW M3 L=6
座金付き六角穴ボルト
(2)
18 SL-6041092-TN SCREW
座金付き六角穴ボルト
(1)
19 E4114-729-000 BU SENSOR DOG
BU センサードグ
(1)
20 SL-6051292-TN BOLT
座金付き六角穴ボルト
(2)
21 SL-6104042-TN BOLT
座金付き六角穴ボルト
(4)
22 WP-1052001-SC WASHER 10,5X21X2
平座金みがき丸 M 10
(4)
23 CM-3003000-02 LABEL2 (25)
高温注意シール2(25)
(1)
24 E2076-721-000 BU HAND KNOB
BU ハンドノブ
(1)
25 E2141-725-000 BU HAND KNOB S
BU ハンドノブ S
(1)
26 CM-3002000-03 ATTENTION LABEL
指けが注意シール(31.5)
(2)
27 EA-9500B01-00 CABLE BAND
束線バンド
(20)
28 400-13197 CONVEYOR COUPLING
コンベアカプリング
(1)
29 SM-8050502-TP SCREW M5 L=5
止めねじ
(4)
30 E2057-721-000 HANDLE SHAFT A ハンドルシャフト A (1)
31 400-00981 BU HOME SENSOR BRACKET ASM.
BU ホームセンサブラケット組
(1)
32 400-02124 BU ORG SENS ASM
バックアップテーブル原点センサ組
(1)
33 E4115-729-000 BU SENSOR BRACKET
BU センサーブラケット
(1)
34 EA-9500B01-00 CABLE BAND
束線バンド
(1)

- 81 -
41.PWB CONVEYOR COMPONENTS (11)
基板搬送関係(11)
23
10
19
18
9
8
7
5
6
2
20
3
13
17
15
19
11
16
14
4
21
1
26
27
28
31
30
29
32
36
37
35
38
33
39
40
34
42
41
42
43
24
22
25
12
V
V
—
^
—