XP143机械手册.pdf - 第118页
7. 安装 MEC-XP143-1.0S 108 XP-143E 机械手册 7.4 数据传送电缆的接线 (RS-232C) 7.4.1 要点 为了传输程序和收集生产记录, 主机和主电脑之间,用 RS-232C 电缆来连接。 7.4.2 方法 1. 将主机在主电脑上进行线路描述 符的注册。 备注 ) 有关对线路描述符的注册方法,请参考主电脑的使用说明书。 2. 把传送电缆一侧的连接器,接到 主电脑上的指定通道端口,并把另一 端的连接器接到…

MEC-XP143-1.0S 7. 安装
XP-143E 机械手册 107
变压器的接线
1. 请打开变压器箱的盖板。
2. 把变压器的初端接线,正确地接到与供电电压相对应的接线头上。

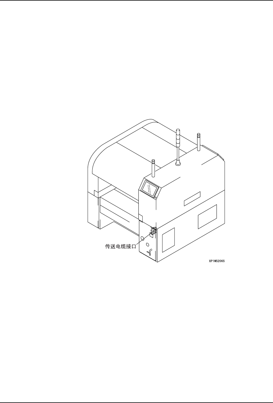
7. 安装 MEC-XP143-1.0S
108 XP-143E 机械手册
7.4 数据传送电缆的接线 (RS-232C)
7.4.1 要点
为了传输程序和收集生产记录,主机和主电脑之间,用 RS-232C 电缆来连接。
7.4.2 方法
1. 将主机在主电脑上进行线路描述符的注册。
备注 ) 有关对线路描述符的注册方法,请参考主电脑的使用说明书。
2. 把传送电缆一侧的连接器,接到主电脑上的指定通道端口,并把另一端的连接器接到传
送电缆接口上。
备注 ) 使用传送电缆以及使用其他接口电缆时,请使用屏蔽电缆。

MEC-XP143-1.0S 7. 安装
XP-143E 机械手册 109
7.5 数据传送电缆的接线 ( 以太网 )
7.5.1 要点
为了传输程序和收集生产记录,在主机和主电脑之间,用以太网以双股通信电缆 ( 分类 5)
来进行连接。
7.5.2 方法
1. 将主机在主电脑上进行线路描述符的注册。
备注 ) 有关对线路描述符的注册方法,请参考主电脑的使用说明书。
2. 把传送电缆一端的连接器接到主电脑上的指定以太网端口上,并把另一端的连接器 接
到以太网连接器上。