XP143机械手册.pdf - 第22页
1. 安全指南 MEC-XP143-1.0S 12 XP-143E 机械手册 DANGER High voltage Do not touch the inside of the apparatus.

MEC-XP143-1.0S 1. 安全指南
XP-143 机械手册 11
< Caution >
Use appropriate tap on transformer when
wiring power supply cable to primary side.

1. 安全指南 MEC-XP143-1.0S
12 XP-143E 机械手册
DANGER
High voltage Do not
touch the inside of
the apparatus.

MEC-XP143-1.0S 1. 安全指南
XP-143 机械手册 13
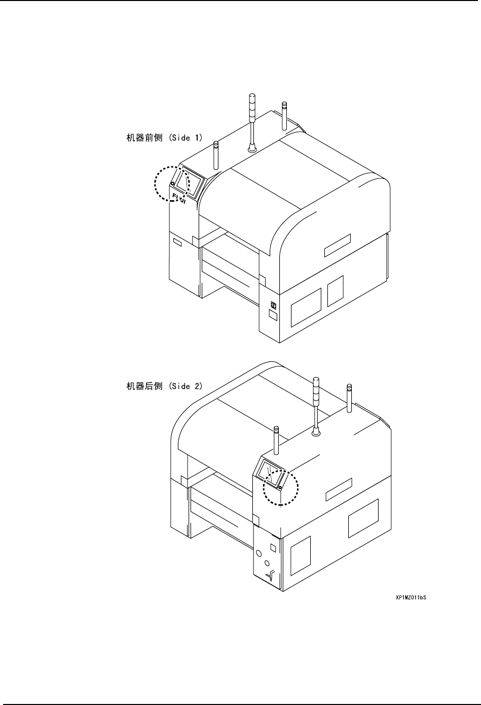
1.5 [ 紧急停止 ] 按钮
发生紧急情况时,请按下任何一个红色的 [ 紧急停止 ] 按钮,使机器停止。[ 紧急停止 ] 按
钮的位置如下图所示。