CM232-M.pdf - 第313页
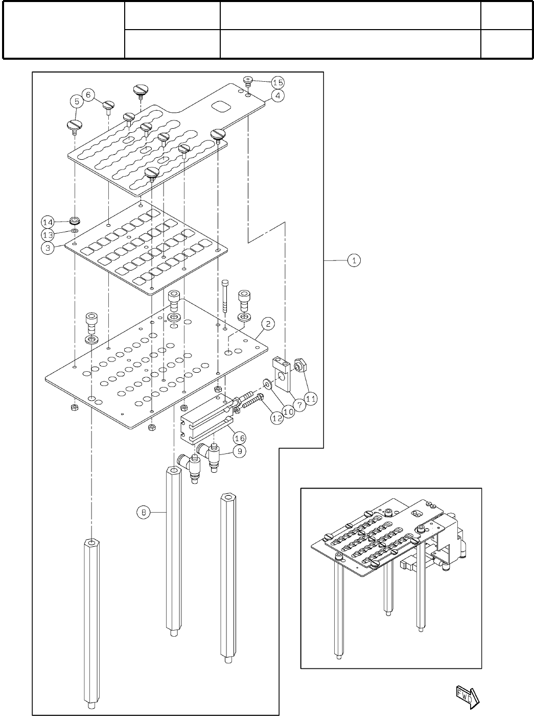
Ref No. Remark s R 1 Q'ty 54-B 12ノズルヘッド接続ユニット:リニアモータ対応(軽量タイプ) 12 Nozzle Head Connection Unit:for Linear M otor(Light) イラスト No. Part No. 品 名 品番 数量 R 2 パーツリスト Kit N o . キット 品 番 Kit Name キット名称 N610122109AA Part Nam e 備…

54-B
12ノズルヘッド接続ユニット:リニアモータ対応(軽量タイプ)
12 Nozzle Head Connection Unit:for Linear Motor(Light)
パーツレイアウト
Kit No.
キット品
番
Kit Name
キット名称
N610122109AA
セクションNo.
PARTS LAYOUT
Section No.
--
S177
( KN610122109AA-03-2 )

Ref
No.
Remarks
R
1
Q'ty
54-B
12ノズルヘッド接続ユニット:リニアモータ対応(軽量タイプ)
12 Nozzle Head Connection Unit:for Linear Motor(Light)
イラスト
No.
Part No.
品 名品番 数量
R
2
パーツリスト
Kit N
o
.
キット品
番
Kit Name
キット名称
N610122109AA
Part Name
備 考
セクションNo.
PARTS LIST
Section No.
R
3
JOINT
1
1 N510066688AA KQ2L10-99A
JOINT
1
2 N510066692AA KQ2L06-99A
JOINT
1
3 KXF08X4AA00 KQU08-10
CABLE-SUPPORT
1
4 KXF0DGAAA00 HV-125
PLUG
1
5 KXF02CRAA00 KQP-06
S178
--
( KN610122109AA-03-2 )

55-A
ノズルチェンジャ(12ノズルヘッド):CM602-L
Nozzle Changer (12 Nozzle Head):CM602-L
パーツレイアウト
Kit No.
キット品
番
Kit Name
キット名称
N610031959AC
セクションNo.
PARTS LAYOUT
Section No.
--
S179
( KN610031959AC-05-1 )