FX-3_(管理员操作说明书)Operation_Manual2_Rev00_C.pdf - 第105页
操作手册 I I Rev00 2-66 <使用夹式吸嘴时的设置项目> 除上述“吸嘴数据”外,夹式吸嘴的下述设置与通常的元件不同。 ①使用新夹式吸嘴时,先通过“机器设 置”中的“文件”/“读出吸嘴数据” , 从 FD(软盘) 读入夹式吸嘴的信息。 ②将吸嘴安装到 ATC 上。 将夹式吸嘴安装到 ATC 单元上,从正面看,夹式吸嘴的固定臂应在后面,摇臂应在近前。 ③设置元件数据。 a)设置吸嘴编号 吸嘴编号为 800 多号。 b…

操作手册 II Rev00
2-65
(5)吸嘴显示
显示吸嘴图像、吸嘴外形尺寸、适用元件尺寸。
(6)夹式吸嘴数据
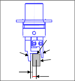
1)夹取位置: “Y”项,输入元件中心至夹式吸嘴固定侧手臂夹取面中心的偏移值
(见图 1-a),要输入负数(-a)。
“X”项只可输入 0,不可输入其他数据。
2)水平间隙: 夹式吸嘴固定侧手臂的夹取面与元件之间的间隙(见图 1-b),要输
入负数(-b)。因吸嘴型号、吸嘴方向不同移动方向也不同,必须注
意。
通常设置为自动输入的默认值。
3)吸取时吸嘴方向: 指的是,吸着以0度状态供应的元件时的吸嘴方向。
请指定 0 度、90 度、180 度、270 度中的一项。
4)吸取高度微调值: 吸取时吸取高度的偏移值(c 与元件上表面之间的间隙)。
通常,为了将元件保持水平,设为-0.5mm。
图1
a
b
元件
c
固定臂
摇 臂

操作手册 II Rev00
2-66
<使用夹式吸嘴时的设置项目>
除上述“吸嘴数据”外,夹式吸嘴的下述设置与通常的元件不同。
①使用新夹式吸嘴时,先通过“机器设置”中的“文件”/“读出吸嘴数据”,从 FD(软盘)
读入夹式吸嘴的信息。
②将吸嘴安装到 ATC 上。
将夹式吸嘴安装到 ATC 单元上,从正面看,夹式吸嘴的固定臂应在后面,摇臂应在近前。
③设置元件数据。
a)设置吸嘴编号
吸嘴编号为 800 多号。
b)设置激光高度
指定从固定臂前端到激光面的距离。
设置基准:-(元件高度-3.5mm
※
)/2,
根据引脚位置进行微调。
※ 图 1 的 c 至固定臂的距离=3.5mm
例:元件高度为 5mm 时
-(5-3.5)/2 = -0.75mm
④设置吸取数据。
XY与通常的示教方法相同。由于Z是利用在机器设置中已注册的吸嘴信息与元件高度自动计
算的,因此无需示教。
a
b
元件
c
固定臂
摇 臂

操作手册 II Rev00
2-67
2-3-5-2-4 吸取条件
注意
如果在变更吸取条件后变更了基本部分的项目,吸取条件的
值有可能恢复为默认值。
图 2-3-5-2-4-1 元件数据(吸取条件)
(1) 吸取高度补偿
是指元件吸取时的按入量。当设置为“0”时,因元件尺寸(高度)偏差等的影响,吸嘴到达不
了元件,无法吸取元件或发生芯片站立等现象。
出现这种情况时,请增加吸嘴到达元件的高度补偿量(输入正值)。
初始值为 “0.2mm”(0603、0402为0mm)。
(2) 重试次数
设置在生产中发生吸取错误时再次吸取的次数。
当设置为“1”时,如果连续发生2次吸取错误,则变为“元件用完错误”。
当生产过程中发生重试超限时,以黄色信号灯闪烁发出通知。