P-197-001e.pdf - 第111页
MODEL TCM-3500Z-2 0109-001 109 Key N o. P AR T No. P AR T NAME Q’ t y REMA RKS NOTE 5-2 1 -1 630 059 3280 BASE 1 6 78C--02B-001 1 -2 630 059 3297 BASE 1 6 78C--02B-002 2 630 048 4335 P L A TE 4 678C--02B-003 3 4 11 1 4 1…

MODEL TCM-3500Z-2
0109-001
108
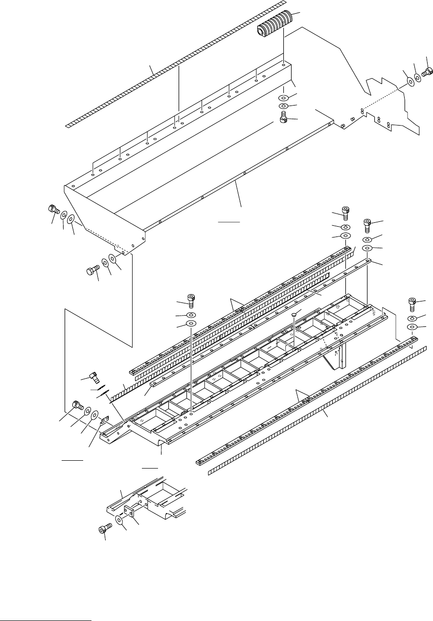
ㇱຠଏ⛎ㇱ FEEDER CARRIAGE SECTION
Fig. 5-2 ࡞࡙࠾࠶࠻ Feeder Carriage
39
40
41
1-1
2
5
4
3
6
7
8
9
10
11
11
14
13
12
15
15
16
17
18
19
19
21
22
23
36
37
38
32
33
34
35
39
40
41
90
51
52
52
53
53
1-2
1-2
31-1
31-1
31-2
.
.
1-2
1-2
24
24
25
25
26
26
27
20-1
20-2
20-2
.
90
90
90

MODEL TCM-3500Z-2
0109-001
109
Key No. PART No. PART NAME Q’ty REMARKS
NOTE
5-2
1 -1 630 059 3280 BASE 1 678C--02B-001
1 -2 630 059 3297 BASE 1 678C--02B-002
2 630 048 4335 PLATE 4 678C--02B-003
3 411 141 4008 WASHER V 4X9X0.8 36 FW4
4 411 141 2905 WASHER SPR 4 36 SW4
5 630 000 7633 BOLT,HEX-SCT 36 M4X12
6 630 048 4175 PLATE 2 678C--02B-005
7 630 048 4182 PLATE 2 678C--02B-006
8 411 141 4107 WASHER V 5X10X1 46 FW5
9 411 141 6705 WASHER SPR 5 46 SW5
10 630 000 7763 BOLT,HEX-SCT 46 M5X16
11 630 048 4342 PLATE 4 678C--02B-007
12 411 141 4008 WASHER V 4X9X0.8 36 FW4
13 411 141 2905 WASHER SPR 4 36 SW4
14 630 000 7633 BOLT,HEX-SCT 36 M4X12
15 630 048 4359 SUPPORT 2 678C--02B-009
16 630 048 4366 SUPPORT 2 678C--02B-010
17 411 141 4107 WASHER V 5X10X1 16 FW5
18 411 141 6705 WASHER SPR 5 16 SW5
19 630 000 7756 BOLT,HEX-SCT 16 M5X12
20 -1 630 047 6798 BRACKET 1 678C--02B-032
20 -2 630 047 6804 BRACKET 1 678C--02B-033
21 411 141 4008 WASHER V 4X9X0.8 4 FW4
22 411 141 2905 WASHER SPR 4 4 SW4
23 630 000 7619 BOLT,HEX-SCT 4 M4X8
24 411 141 4107 WASHER V 5X10X1 48 FW5
25 411 141 6705 WASHER SPR 5 48 SW5
26 630 000 7763 BOLT,HEX-SCT 48 M5X16
27 630 005 4057 ACCESSORY,SW 4 678C--02H-022
31 -1 630 071 0465 SUPPORT 1 678C--02B-011
31 -2 630 071 0472 SUPPORT 1 678C--02B-012
32 630 055 1792 SUPPORT 16 678C--02B-013
33 411 141 4305 WASHER V 6X12.5X1.6 32 FW6
34 411 141 3001 WASHER SPR 6 32 SW6
35 630 000 7886 BOLT,HEX-SCT 32 M6X16
36 411 141 4305 WASHER V 6X12.5X1.6 12 FW6
37 411 141 3001 WASHER SPR 6 12 SW6
38 630 000 7879 BOLT,HEX-SCT 12 M6X12
39 411 088 1702 WASHER V 5X10X1 16 FW5 F
40 411 008 2109 WASHER SPR 5 16 SW5 F
41 411 140 4900 BOLT HEX 5X12 16 M5X12 HEX
51 630 056 1050 PLATE 1 678C--02B-014
52 411 141 4008 WASHER V 4X9X0.8 2 FW4
53 630 000 7626 BOLT,HEX-SCT 2 M4X10
90 630 047 6378 NAME PLATE,INDEX 6 678C--02H-024

MODEL TCM-3500Z-2
0109-001
110
ㇱຠଏ⛎ㇱ FEEDER CARRIAGE SECTION
Fig. 5-3 ࡞࡙࠾࠶࠻㚟േㇱ Feeder Carriage Driver
1-1
2
3
4
5
6
7
8
9
10
11
12
14
15
16
17
18
18
19
20
20
23
22
22
21
21
24
25
26
30
31-4
31-4
32
33
33
31-1
31-1
31-3
31-5
37
38
38
39
39
40
41
41
42
44
43
45
45
46
46
47
48
48
49
49
50
51
52
60
59
58
57
99
99
100-1
61
61
62
63
63
64
A
C
B
B
1-2
.
1-2
1-2
31-3
54
54
55
56
56
53
53
100
102
101
103
27
28
29
29
31-2
31
31
89
89
C
66-1
66-1
66
67
68
68
69
69
72
71
70
65
84
101
102
103
81
81
82
82
83
83
A
89
89
95
95
94
93
93
92
91-1
91-1
95
95
91-2
Fig.5-3
TCM-3500Z-2
TCM-3000Z-2
94
93
92
90-1
90-2
94
93
92
92
92
93
93
94