P-197-001e.pdf - 第170页
MODEL TCM-3500Z-2 0109-001 168 R ࠦࡦࡌࠕㇱ R CONVEYOR SECTION Fig. 8-4 ၮ᧼ᬌㇱޔၮ᧼ࠬ࠻࠶ࡄ P.C.B. Detector, P.C.B. Stopper See Fig.8-1 Key No.56 1 1 3 1 3 4 2 1 22 22 28 28 29 29 30 30 2 5 2 4 2 3 2 6 2 7 3 5 3 6 3 2 33 33 3-2 3-1 …

MODEL TCM-3500Z-2
0109-001
167
Key No. PART No. PART NAME Q’ty REMARKS
NOTE
8-3
1 630 028 9493 GEAR 2 678H--02H-006
2 630 000 8951 SET SCREW 4 M5X8 SET
3 630 053 0667 SHAFT 1 678H--02B-009
4 630 028 9480 GEAR 2 678H--02H-007
5 630 008 2296 SET SCREW 4 M4X4 SET
6 630 001 1890 BEARING,UNIT 3 678H--02H-005
6 -1 630 057 7297 COLLAR 3 678H--02B-036
7 411 141 4107 WASHER V 5X10X1 6 FW5
8 411 141 6705 WASHER SPR 5 6 SW5
9 630 000 7800 BOLT,HEX-SCT 6 M5X35
16 630 056 3924 PULLEY,TIMING 1 678H--02H-041
17 630 000 8951 SET SCREW 2 M5X8 SET
20 630 065 1171 BRACKET(MOTOR) 1 678H--02B-043
21 411 141 4107 WASHER V 5X10X1 2 FW5
22 411 141 6705 WASHER SPR 5 2 SW5
23 630 000 7749 BOLT,HEX-SCT 2 M5X10
24 630 009 5869 MOTOR,STEPPING 1 PM102(CVW2), #103-8572-7041
678H--02H-040
25 411 141 4107 WASHER V 5X10X1 2 FW5
26 411 141 6705 WASHER SPR 5 2 SW5
27 630 000 7763 BOLT,HEX-SCT 1 M5X16
27 -1 630 000 7787 BOLT,HEX-SCT 1 M5X25
28 630 001 0220 WASHER 1 678H--02H-027
29 411 141 6705 WASHER SPR 5 1 SW5
30 411 141 0505 NUT HEX 5 1 M5
33 630 056 3917 PULLEY,TIMING 1 678H--02H-042
34 630 000 8951 SET SCREW 2 M5X8 SET
35 630 048 9668 BELT,TIMING 1 678H--02H-043
36 630 056 2798 COVER(R) 1 678H--02B-044
37 411 051 1708 SCR TRS 4X6 3 M4X6 TRS
38 630 035 8384 BOSS(HANDLE) 1 678H--02B-047
39 630 008 2296 SET SCREW 2 M4X4 SET
41 630 081 4156 COVER 1 678H--02B-018
42 411 051 1708 SCR TRS 4X6 4 M4X6 TRS
50 630 082 6128 NAME PLATE,PARTS 1 678H--02B-056

MODEL TCM-3500Z-2
0109-001
168
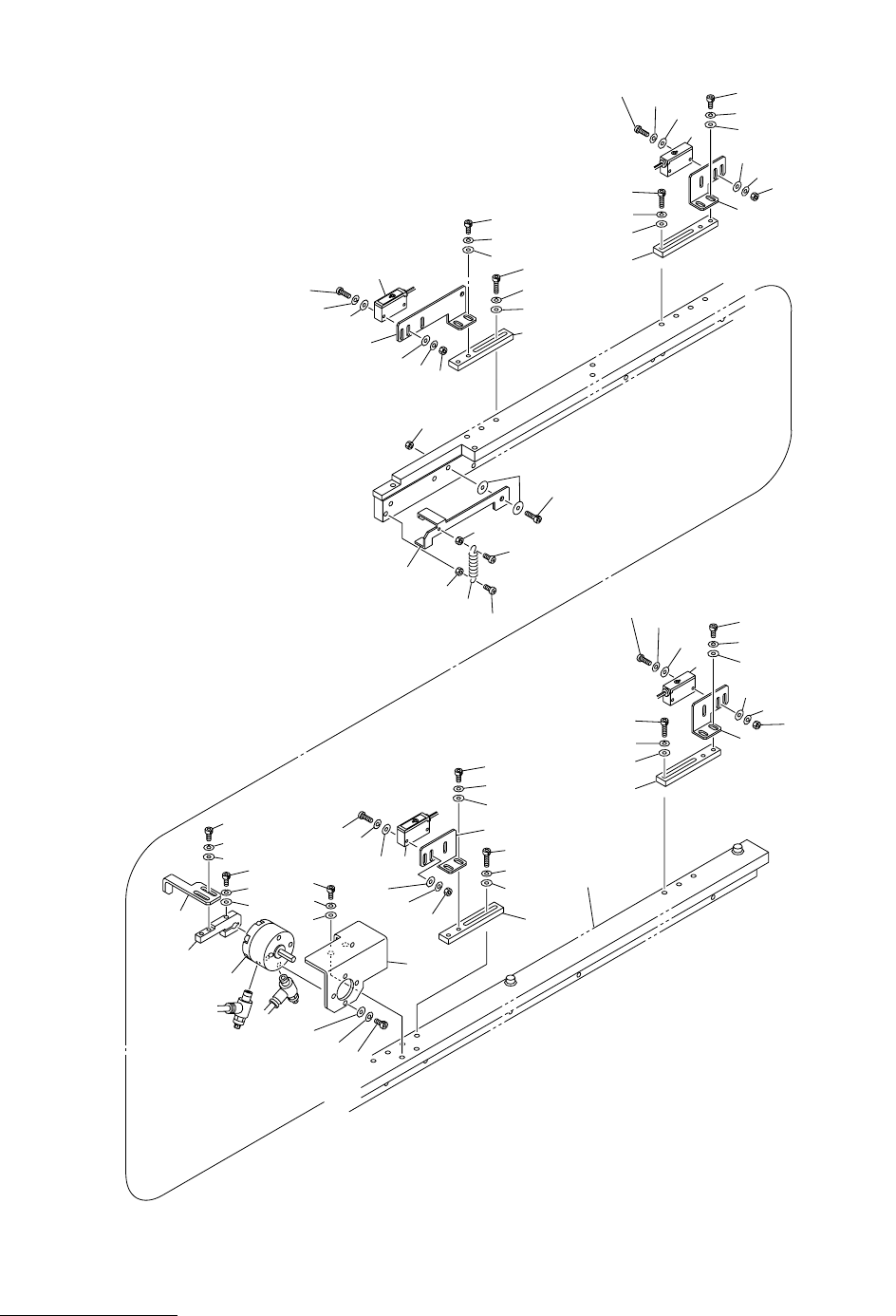
R ࠦࡦࡌࠕㇱ R CONVEYOR SECTION
Fig. 8-4 ၮ᧼ᬌㇱޔၮ᧼ࠬ࠻࠶ࡄ
P.C.B. Detector, P.C.B. Stopper
See Fig.8-1
Key No.56
1
1
31
34
21
22
22
28
28
29
29
30
30
25
24
23
26
27
35
36
32
33
33
3-2
3-1
2
3-1
3-1
3-2
3-3
8
7
6
2
3-1
3-2
3-3
3-1
6
7
8
3-2
3-2
3-4
14
12
13
15
16
17
17
19
18
18
11
11
8
7
6
9-3
9-3
9-2
9-1
1
3-4
3-4
3-2
3-1
1-3
3-1
3-1
2
3-2
3-3
1-1
9-3
1-2
9-2
9-1
3-4
9-1
9-2
9-3
1
2
3-1
3-2
3-2
3-3
3-3
3-1
6
7
8
3-2
3-2
3-4
1-1
9-1
9-2
9-3
Fig.8-4
TCM-3500Z-2

MODEL TCM-3500Z-2
0109-001
169
Key No. PART No. PART NAME Q’ty REMARKS
NOTE
8-4
1 630 064 2131 PLATE 4 678H--02B-033
1 -1 630 059 2412 BRACKET(PHOTO R) 2 678H--02B-016
1 -2 630 059 2405 BRACKET(PHOTO L) 1 678H--02B-039
1 -3 630 058 8804 BRACKET(PHOTO L) 1 678H--02B-040
2 630 060 6973 SENSOR,PHOTO 4 PHS123, PHS59, PHS121, PHS113
678H--02H-026
3 -1 411 119 1909 WASHER V 3X7X0.5 16 FW3 F
3 -2 411 086 4408 WASHER SPR 3 16 SW3 F
3 -3 411 162 1604 SCR PAN 3X20 8 M3X20 PAN
3 -4 411 054 6809 NUT HEX 3 8 M3 F
6 411 141 4008 WASHER V 4X9X0.8 8 FW4
7 411 141 2905 WASHER SPR 4 8 SW4
8 630 000 7619 BOLT,HEX-SCT 8 M4X8
9 -1 411 141 4008 WASHER V 4X9X0.8 8 FW4
9 -2 411 141 2905 WASHER SPR 4 8 SW4
9 -3 630 000 7657 BOLT,HEX-SCT 8 M4X16
11 630 047 6088 LEVER 1 678H--02B-015
12 630 001 0220 WASHER 2 678H--02H-027
13 630 000 7787 BOLT,HEX-SCT 1 M5X25
14 411 141 0604 NUT HEX 5 1 M5-3
15 411 054 6809 NUT HEX 3 1 M3 F
16 411 040 6202 SCR PAN 3X10 1 M3X10 PAN
17 411 054 8506 NUT HEX 4 1 M4 F
18 411 162 1505 SCR PAN 4X20 1 M4X20 PAN
19 630 001 8103 SPRING,TENSION 1 678H--02H-028
21 630 067 2596 BRACKET(CYL) 1 678H--02B-026
22 630 060 6980 ROTARY ACTUATOR 1 SV106 678H--02H-034
23 630 058 8712 LEVER 1 678H--02B-027
24 630 048 5448 LEVER 1 678H--02B-028
25 411 141 4008 WASHER V 4X9X0.8 2 FW4
26 411 141 2905 WASHER SPR 4 2 SW4
27 630 000 7626 BOLT,HEX-SCT 2 M4X10
28 411 141 4008 WASHER V 4X9X0.8 1 FW4
29 411 141 2905 WASHER SPR 4 1 SW4
30 630 000 7664 BOLT,HEX-SCT 1 M4X20
31 411 141 4008 WASHER V 4X9X0.8 2 FW4
32 411 141 2905 WASHER SPR 4 2 SW4
33 630 000 7626 BOLT,HEX-SCT 2 M4X10
34 411 141 4107 WASHER V 5X10X1 2 FW5
35 411 141 6705 WASHER SPR 5 2 SW5
36 630 000 7749 BOLT,HEX-SCT 2 M5X10