P-197-001e.pdf - 第203页
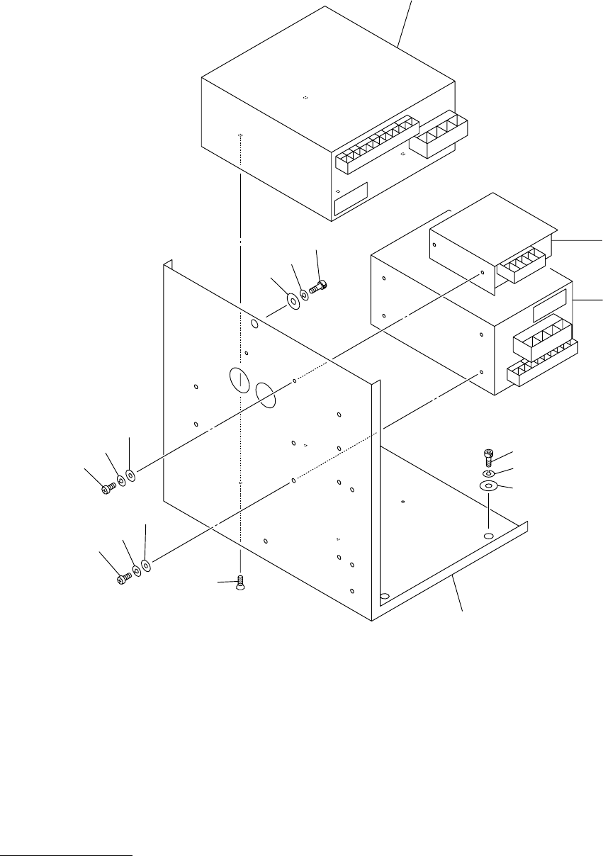
MODEL TCM-3500Z-2 0109-001 201 Key No. P AR T No. P AR T NAME Q’ ty REMARKS NOTE 11 - 4 1 630 094 2897 BR ACK ET 1 678FB-02V-002 2 630 086 0245 UN IT ,P OW ER 1 PS U4 , P AA 600F-24 678FB-02D-079 5 411 03 5 2 7 07 SCR FL…

MODEL TCM-3500Z-2
0109-001
200
㔚᳇ᓮㇱ ELECTRICAL SECTION
Fig.11-4 DC 㔚Ḯ Power Supply-DC
2
30
6
56
55
54
54
54
55
56
34
33
32
9
8
7
5
1

MODEL TCM-3500Z-2
0109-001
201
Key No. PART No. PART NAME Q’ty REMARKS
NOTE
11-4
1 630 094 2897 BRACKET 1 678FB-02V-002
2 630 086 0245 UNIT,POWER 1 PSU4, PAA600F-24 678FB-02D-079
5 411 035 2707 SCR FLT 4X8 4 M4X8 FLT
6 630 085 4138 UNIT,POWER 1 PSU5, PAA-300F-24 678FB-02D-080
7 411 119 2104 WASHER V 4X9X0.8 4 FW4 F
8 411 008 1706 WASHER SPR 4 4 SW4 F
9 411 043 5004 SCR PAN 4X8 4 M4X8 PAN
30 630 049 1135 UNIT,POWER 1 PSU10, P15E-5-N 678FB-02D-108
32 411 119 1909 WASHER V 3X7X0.5 2 FW3 F
33 411 086 4408 WASHER SPR 3 2 SW3 F
34 411 042 0703 SCR PAN 3X8 2 M3X8 PAN
54 630 001 0220 WASHER 3 BW5
55 411 141 6705 WASHER SPR 5 3 SW5
56 630 000 7756 BOLT,HEX-SCT 3 M5X12

MODEL TCM-3500Z-2
0109-001
202
㔚᳇ᓮㇱ ELECTRICAL SECTION
Fig.11-5 ࠪࠤࡦࠬࡏ࠶ࠢࠬ Relay Sequence Box
A
1
114
114
111
111
112
112
112
113
113
113
108
92
92
107
30
A
C
D
E
B
B
24
25
25
26
86
86
82
83
83
83
29
28
28
27
9
2
8
7
3
32
32
15
18
18
19
19
20
15
15
18
91
91
19
94
20
20
95
96
96
93
14
14
14
14-1
14-1
10
10
11
12
13
13
49
115
F
15-1
15-1
18
19
20
20
F
G
82
82
84
84
68
78
77
60
60
59
59
58
57
67
66
64
63
63
72
70-2
70-1
86
86
81
85
.
73
71
75
75
17
17
C
D
18
19
19
20
.
79-3
79-1
79-2
76
76
65
62
70
74
.
50-1
50
.
101
124
123
123
122
121
125
101
101
105
106
104
103
102
16
16
18
19
20
20
53
60
53-1
53-1
.
51
51-1
.
6
5
4
9-2
9-1
31
43
43
34
34
40
40
46
46
37
37
46
46
49
41
44
44
48
47
39
38
47
48
33
45
45
42
42
39
36
35
35
37
38
E
126
127
128
132
130
131
131
G
Fig.11-5
TCM-3500Z-2