P-197-001e.pdf - 第257页
MEMO

MODEL TCM-3500Z-2
0109-001
254
Key No. PART No. PART NAME Q’ty REMARKS
NOTE
12-4
55 -4 411 113 0700 SCR PAN 3X16 4 M5X20 PAN
56 411 113 9109 SCR TRS 5X10 37 M5X10 TRS
70 630 029 1391 WASHER 8 678R--02H-016
71 630 094 8805 COVER 2 678R--02B-137
72 411 113 9109 SCR TRS 5X10 8 M5X10 TRS
81 630 072 5315 BRACKET 3 678R--02B-139
82 630 070 3061 MOTOR,AC 3 FAN8, FAN9, FAN10, MRS16-BUL
678FB-02D-800
83 630 074 6853 ACCESSORY,MOT-M (FILTER) 3 678FB-02D-802
85 630 068 4292 ACCESSORY,MOT-M 3 678FB-02D-801
86 411 140 7406 SCR FLT 5X20 12 M5X20 FLT
87 411 088 1702 WASHER V 5X10X1 12 FW5 F
88 411 008 2109 WASHER SPR 5 12 SW5 F
89 411 118 8503 NUT HEX 5 12 M5 F
91 411 140 6508 SCR PAN 5X20 12 M5X20 PAN
92 411 088 1702 WASHER V 5X10X1 12 FW5 F
93 411 008 2109 WASHER SPR 5 12 SW5 F
94 411 118 8503 NUT HEX 5 12 M5 F
96 411 141 4107 WASHER V 5X10X1 6 FW5
97 411 141 6705 WASHER SPR 5 6 SW5
98 630 000 7749 BOLT,HEX-SCT 6 M5X10
101 630 081 8376 COVER 3 678R--02B-142
101 -1 630 086 2317 MECH PARTS (MAGNET) 12 678R--02H-017
102 630 081 8383 COVER 1 678R--02B-143
102 -1 630 086 2317 MECH PARTS (MAGNET) 4 678R--02H-017

MEMO

MODEL TCM-3500Z-2
0109-001
256
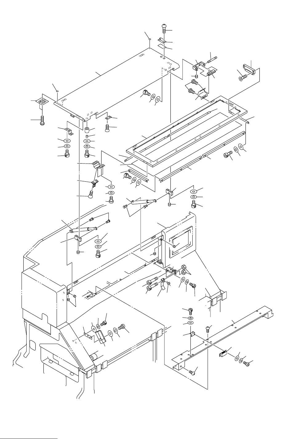
ࠞࡃㇱ COVER SECTION
Fig.12-5 ೨ᚺ Front Cover
1
27
28
14
15
17
16
16
18
19
19
20
20
17
11
11
12
12
13
3
2
77
81
4
5
6
35
30
31
31
32
32
33
33
36
30
18
19
20
35
35
36
31
31
32
32
33
33
40
40
41
42
43
44
44
45
46
34
34
34
23
24
7
9
10
10
22
21
8
25
25
23-1
23
26
26
26
26
16
16
36
47
47
39
36
36
36
49
49
54
54
55
55
56
56
50
51
51
52
52
53
53
16
62
63
63
64
64
65
65
57
57
50
50
61
61
58
59
60
74
73
72
71
66
78
77
79
80
75
76
Fig.12-5
TCM-3500Z-2