P-197-001e.pdf - 第47页
MODEL TCM-3500Z-2 0109-001 45 Key N o. P AR T No. P AR T NAME Q’ t y REMA RKS NOTE 3-9 1 630 056 1739 P L A T E 1 678K--02B-001 2 630 056 1760 S T A Y ( 1 ) 1 678K--02B-006 2 -1 630 056 1777 S T A Y ( 2 ) 1 678K--02B-094…

MODEL TCM-3500Z-2
0109-001
44
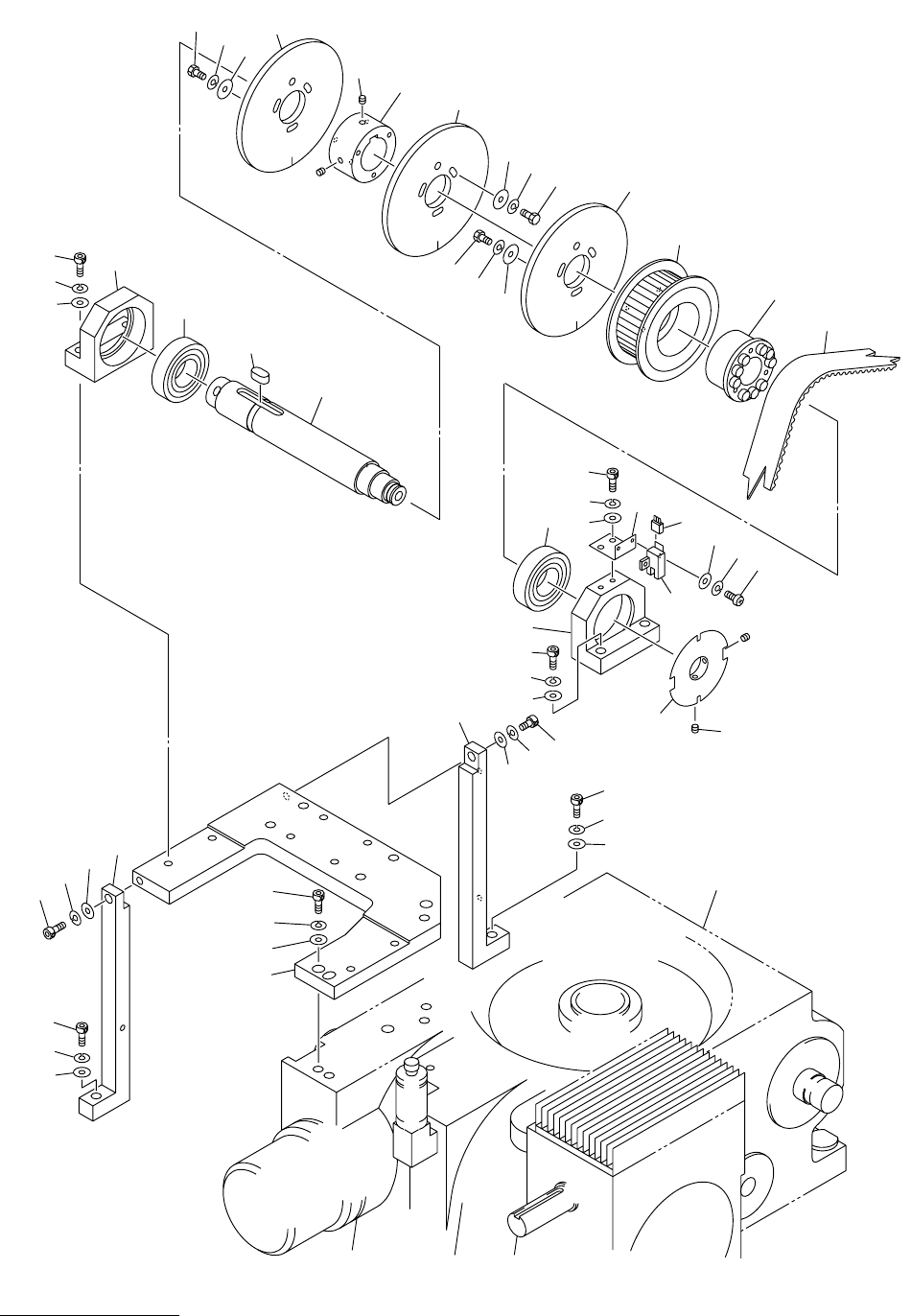
ࡋ࠶࠼㚟േㇱ HEAD DRIVING SECTION
Fig. 3-9 ࠞࡓゲ㧙 2 Cam Shaft-2
12
13
14
14
15
15
16
16
17
18
19
19
20
20
21
21
26
22
23
23
24
25
25
27
28
29
30
33
33
32
32
31
31
41
42
43
44
44
45
46
47
48
49
34
34
1
11
11
10
10
9
2
3
4
5
8
7
6
See Fig.2-1
See Fig.2-1
Key No.1
20
20
19
19
18
28
28
33
33
32
32
31
31
5
4
3
8
7
6
2-1
35
35
Fig.3-9
TCM-3500Z-2
TCM-3500Z

MODEL TCM-3500Z-2
0109-001
45
Key No. PART No. PART NAME Q’ty REMARKS
NOTE
3-9
1 630 056 1739 PLATE 1 678K--02B-001
2 630 056 1760 STAY(1) 1 678K--02B-006
2 -1 630 056 1777 STAY(2) 1 678K--02B-094
3 411 141 4503 WASHER V 8X17X1.6 2 FW8
4 411 141 3100 WASHER SPR 8 2 SW8
5 630 000 8029 BOLT,HEX-SCT 2 M8X25
6 411 141 4503 WASHER V 8X17X1.6 2 FW8
7 411 141 3100 WASHER SPR 8 2 SW8
8 630 000 8043 BOLT,HEX-SCT 2 M8X35
9 411 141 4701 WASHER V 10X21X2 4 FW10
10 411 141 3209 WASHER SPR 10 4 SW10
11 630 000 8142 BOLT,HEX-SCT 4 M10X35
12 630 056 1746 SHAFT 1 678K--02B-004
13 630 041 1034 KEY 1 678K--02H-046
14 630 056 1753 RING 1 678K--02B-005
15 630 000 8982 SET SCREW 2 M6X8 SET
16 630 061 3513 CAM (04) 1 678K--02B-074
17 630 058 3502 CAM (05) 1 678K--02B-075
18 630 029 1391 WASHER 6 678K--02H-048
19 411 008 2109 WASHER SPR 5 6 SW5 F
20 630 052 0927 BOLT,HEX (7T) 6
21 630 048 7305 PULLEY,TIMING 1 678K--02H-003
22 630 058 3489 CAM (03) 1 678K--02B-073
23 630 029 1391 WASHER 3 678K--02H-048
24 411 008 2109 WASHER SPR 5 3 SW5 F
25 630 052 0927 BOLT,HEX (7T) 3
26 630 049 0060 MECH PARTS(MECHA LOCK) 1 678K--02H-007
27 630 049 0046 BELT,TIMING 1 678K--02H-005
28 630 049 0107 BEARING,RADIAL 2 678K--02H-010
29 630 048 6940 SUPPORT 1 678K--02B-002
30 630 048 6957 SUPPORT 1 678K--02B-003
31 411 141 4503 WASHER V 8X17X1.6 4 FW8
32 411 141 3100 WASHER SPR 8 4 SW8
33 630 000 8043 BOLT,HEX-SCT 4 M8X35
34 630 052 1566 DISK 1 678K--02B-085
35 630 000 8944 SET SCREW 2 M5X6 SET
41 630 048 7183 BRACKET 1 678K--02B-026
42 630 032 5287 SENSOR,PHOTO 1 PHS61 678K--02H-042
43 630 000 0269 SENSOR,PHOTO(CONNECTOR) 1 678K--02H-043
44 411 119 1909 WASHER V 3X7X0.5 2 FW3 F
45 411 086 4408 WASHER SPR 3 2 SW3 F
46 411 042 0703 SCR PAN 3X8 2 M3X8 PAN
47 411 141 4107 WASHER V 5X10X1 2 FW5
48 411 141 6705 WASHER SPR 5 2 SW5
49 630 000 7756 BOLT,HEX-SCT 2 M5X12

MODEL TCM-3500Z-2
0109-001
46
ࡋ࠶࠼㚟േㇱ HEAD DRIVING SECTION
Fig. 3-10 ࠞࡓゲ㧙 2 ࡃ Cam Shaft-2 Lever
1
25
25
4-2
2-1
2-4
4-3
2-2
6
7
8
26
26
30
29
28
27
9
10
10
11
11
12
20
20
21
41
41
42
42
43
43
44
13
13
14
15
35
32
32
31
31
32
33
19
40
40
37
37
36
36
22
23
24
24
16
16
17
17
18
B
A
C
C
B
A
25
25
25
3-3
3-3
2-3
2-3
3-2
5-1
5-1
6
7
8
5
6
7
8
26
26
30
30
9
12
12
11
10
21
34
34
39
39
37
37
38
See Fig.3-9
See Fig.3-9
Key No.1
5
5-2
5-3
5-2
24
24
23
23
22
4
3
3-1
3-1
3-4
4-1
4-4
4-3
2
See Fig.3-17
See Fig.3-17
See Fig.3-17
See Fig.3-17