KE-3010A_KE-3020VA_KE-3020VRA-Rev15PDFA.pdf - 第80页
- 73 - 37. PWB CONVEYOR COMPONENTS(10) 基板搬送関係(10) 13 14 20 19 18 17 15 16 26 1 25 25 1 12 29 28 27 11 2 10 22 21 24 23 4 8 9 7 9 9 6 5 3 30 33 37 36 35 34 32 31

- 72 -
NOTE( 注記 ) *INSTALLATION POSITION AND DIRECTION VARY IF THE PWB TRANSFER
REFERENCE IS DIFFERENT.
基板搬送基準が異なると取付位置、方向が変わります。
REF.NO NOTE PART NO D E S C R I P T I O N
品 名
Qty
1 401-46961 LEFT_SENS_UNIT
レフトセンサユニット
1
2 401-46990 SENSOR_BR_A
センサBR_A
(1)
3 HX-0044000-00 CABLE BAND
束線バンド
(1)
4 401-46991 SENSOR_BR_B
センサBR_B
(1)
5 400-01079 SENSOR BRAKET C
センサブラケット C
(1)
6 400-01076 SENSOR SLIDE PLATE
センサスライドプレート
(1)
7 400-00912 SENSOR ADJUST SPRING
センサアジャストスプリング
(3)
8 G6518-880-000 SET PICK-UP
セットつまみ
(1)
9 400-58815 SPACER
スペーサ
(1)
10 SM-6041602-TN SCREW M4X16
六角穴ボルト M4X16
(3)
11 WP-0430801-SC WASHER M4
平座金 M4
(6)
12 NM-6040002-SE NUT M4X0.7 TYPE2
六角ナット M4X0.7 2種
(3)
13 401-29046 SIDE SENSOR CABLE ASM
サイドセンサケーブル組
(1)
14 SL-4031091-SC SCREW M3 L=10
座金付きなべ小ねじ M3 L=10
(2)
15 HX-0036700-0A BUSH
ブッシュ
(0.16)
16 EA-9500B00-00 CABLE BAND
束線バンド
(5)
17 401-46962 RIGHT_SENS_UNIT
ライトセンサユニット
1
18 400-01079 SENSOR BRAKET C
センサブラケット C
(1)
19 401-46991 SENSOR_BR_B
センサBR_B
(1)
20 401-46990 SENSOR_BR_A
センサBR_A
(1)
21 400-01076 SENSOR SLIDE PLATE
センサスライドプレート
(1)
22 400-00912 SENSOR ADJUST SPRING
センサアジャストスプリング
(3)
23 G6518-880-000 SET PICK-UP
セットつまみ
(1)
24 400-58815 SPACER
スペーサ
(1)
25 SM-6041602-TN SCREW M4X16
六角穴ボルト M4X16
(3)
26 WP-0430801-SC WASHER M4
平座金 M4
(6)
27 NM-6040002-SE NUT M4X0.7 TYPE2
六角ナット M4X0.7 2種
(3)
28 401-29046 SIDE SENSOR CABLE ASM
サイドセンサケーブル組
(1)
29 SL-4031091-SC SCREW M3 L=10
座金付きなべ小ねじ M3 L=10
(1)
30 HX-0036700-0A BUSH
ブッシュ
(0.16)
31 EA-9500B00-00 CABLE BAND
束線バンド
(5)
32 HX-0044000-00 CABLE BAND
束線バンド
(1)
33 SL-6031092-TN SCREW
座金付き六角穴ボルト
4

- 73 -
37.PWB CONVEYOR COMPONENTS(10)
基板搬送関係(10)
13 14
20
19
18
17
15
16
26
1
25
25
1
12
29
28
27
11
2
10
22
21
24
23
4
8
9
7
9
9
6
5
3
30
33
37
36
35
34
32
31

- 74 -
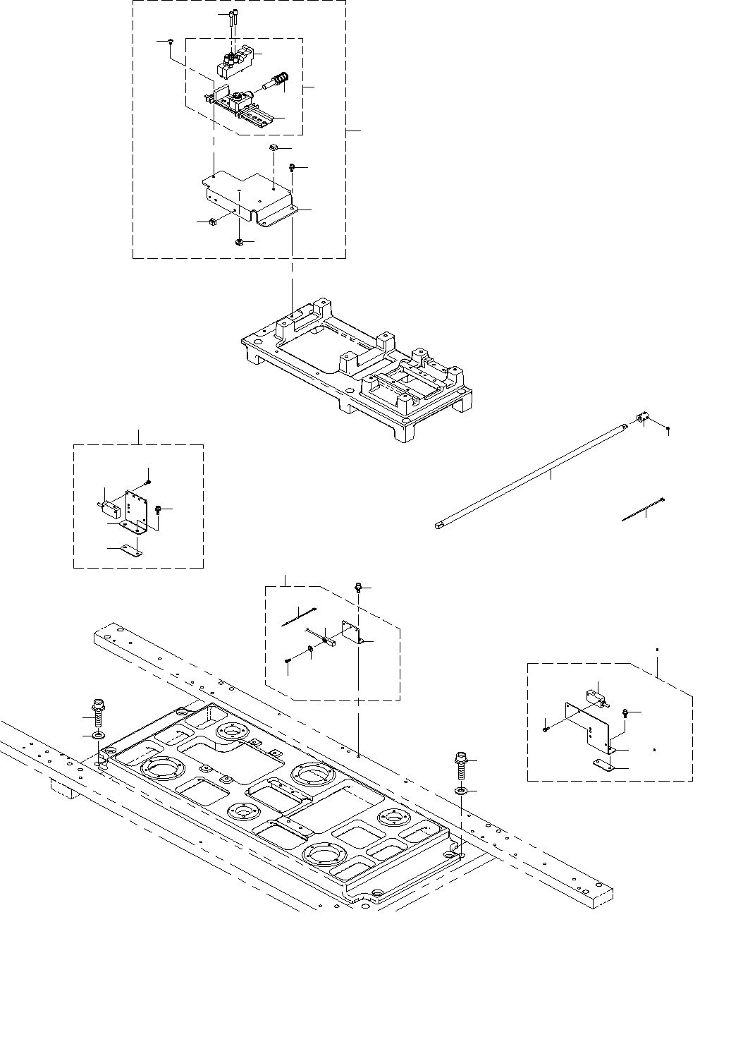
NOTE( 注記 ) #01....WHEN OPTIONAL VCS IS ON, オプション VCS が付いている場合は、
IT IS NECESSARY TO ADD ONE 電磁弁を1つ追加する必要があります。
ELECTROMAGNETIC VALVE
#02....TYPE M M 仕様
#03....TYPE L L 仕様
*INSTALLATION POSITION AND DIRECTION VARY IF THE PWB TRANSFER
REFERENCE IS DIFFERENT.
基板搬送基準が異なると取付位置、方向が変わります。
REF.NO NOTE PART NO D E S C R I P T I O N
品 名
Qty
1 WP-1052001-SC WASHER 10
平座金みがき丸 M10
4
2 401-46967 CONVEYOR_VALVE_UNIT
コンベア バルブ ユニット
1
3 401-46964 MANIFOLD_VALVE_ASM
マニホールドバルブ組
(1)
4 PV-9150050-00 SOLENOID VALVE INSTALLING BASE
電磁弁取付けベース
(1)
5
#01
PV-1502093-00 5 PORT ELECTROMAGNETIC VALVE
5ポート電磁弁
(2)
6 PX-0500030-00 SILENCER
サイレンサ
(1)
7 SM-3040652-TN SCREW M4 L=6
丸ねじ M4 L=6
(2)
8 PX-5000140-00 PLUG
止栓
(2)
9 HX-0070600-0A MOUNT BASE
マウントベース
(3)
10 401-47000 CONVEYOR_VALVE_STAGE
コンベアバルブステージ
(1)
11 SL-6041092-TN SCREW M4 L=10
座金付き六角穴ボルト M4 L=10
(2)
12 SL-6051092-TN SCREW M5 L=10
座金付き六角穴ボルト M5 L=10
2
13
#02
401-46981 WAIT_SENSOR_UNIT_ML
ウェイトセンサーユニット ML
1
14
#02
401-46982 WAIT_SENSOR_UNIT_MR
ウェイトセンサーユニット MR
1
15
#02
401-47011 WAIT_SENSOR_BR_ML
ウェイトセンサBR_ML
(1)
16
#02
401-47012 WAIT_SENSOR_BR_MR
ウェイトセンサBR_MR
(1)
17 E2169-721-000 HOLD PLATE
ホールドプレート
(1)
18 SL-6041292-TN SCREW M4 L=12
座金付き六角穴ボルト M4 L=12
(2)
19 401-35828 LR WAIT COUT SENS ASM
LRウェイトCOUTセンサ組
(1)
20 SL-4031091-SC SCREW M3 L=10
座金付きなべ小ねじ M3 L=10
(2)
21 400-93920 HANDLE SHAFT
ハンドルシャフト
1
22 EA-9500B01-00 CABLE BAND
束線バンド
40
23 400-13197 CONVEYOR COUPLING
コンベアカプリング
1
24 SM-8050502-TP SCREW M5 L=5
止めねじ
4
25 SL-6104042-TN SCREW M10 L=40
座金付き六角穴ボルト M10 L=40
4
26 401-46963 BU_HOME_SENSOR_BR_ASM
BUホームセンサBR組
1
27 EA-9500B01-00 CABLE BAND
束線バンド
(1)
28 401-29042 AWC/BU ORG SENSOR CABLE ASM
AWC/BU ORG センサワイヤー組
(1)
29 401-46994 BU_SENSOR_BR
BUセンサーブラケット
(1)
30 SM-4030801-SC SCREW M3X0.5 L=8
なべ小ねじ M3X0.5 L=8
(1)
31 WP-0320501-SC WASHER M3
平座金 M3
(1)
32
#03
401-46989 WAIT_SENSOR_UNIT_L
ウェイトセンサーユニット L
1
33 E2169-721-000 HOLD PLATE
ホールドプレート
(1)
34 SL-6041292-TN SCREW M4 L=12
座金付き六角穴ボルト M4 L=12
(1)
35 401-35828 LR WAIT COUT SENS ASM
LRウェイトCOUTセンサ組
(1)
36 SL-4031091-SC SCREW M3 L=10
座金付きなべ小ねじ M3 L=10
(1)
37
#03
401-47013 WAIT_SENSOR_BR
ウェイトセンサBR
(1)