4OM-1610-002_w.pdf - 第87页
4OM-1610 1-36 3. Maintenance Spots : Chap.1 101 1-002 NOTICE When the air-blowing is to be performed to the nozzle, make sure to start it from the nozzle end section. If the air-blowing is started from the clamp claw sec…

4OM-1610
1-35
3. Maintenance Spots : Chap.1
Note
Vacuum Filter
Filter Holder
Filter Attachment /
Detachment Jig
Pan (3 locations)
When the filter is changed,
attach or detach the jig
vertically.
Pull down the filter holder to remove.
Use the filter mounting jig to change the
vacuum filter.
After changing, insert the filter holder
into the shaft located at the center of the
nozzle holder.
Every 3 Months Cleaning
Every 3 Months Change
Required Time: 3 minutes
Wipe out old grease in the pan using an
oiled rag.
F4A26-2
1011-002

4OM-1610
1-36
3. Maintenance Spots : Chap.1
1011-002
NOTICE
When the air-blowing is to be performed to the
nozzle, make sure to start it from the nozzle end
section.
If the air-blowing is started from the clamp claw
section, the clamp claw might be damaged.
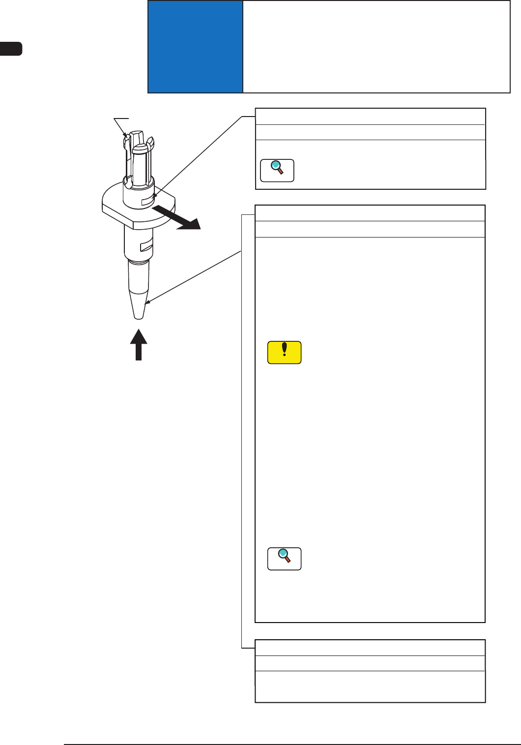
Vacuum Nozzle
Every 3 Months Inspection
Check the condition of the vacuum nozzle. When the
nozzle end is worn out, replace it with a new one.
Vacuum Nozzle
Every Week Cleaning
v Clean the tapered area of the nozzle with a lens
cleaning cloth.
v Store the nozzle in the nozzle stocker (housing)
through window navigations and take out the nozzle
stocker (housing). After that, blow air to the stocker
(housing) to remove dirt and dust.
(a) Do not take out a nozzle from the
head by hand. Otherwise, the
nozzle does not conform to the
nozzle data.
(b) When the nozzle is extremely dirty
or the vacuum suction force
weakens, causing the nozzle to
improperly pick or place components,
it is required to clean the nozzle in the
water with an ultrasonic cleaner.
When the ultrasonic cleaning
operation is to be performed
underwater, remove the nozzle filter.
Do not use anything other than water
for the cleaning.
(a) Refer to "4.1 Cleaning of Vacuum
Nozzles" in "Chapter 1" for details.
(b) Refer to "5. "Nozzle Change" Window"
in "Chapter 6 (Vol. 2)" for the procedure
of nozzle storage.
Notice
Reference
Air Blowing from the Tip
Clamp Claw
Nozzle Filter
Every Week Change
Change the nozzle filter using the filter removing jig.
Refer to "4.2 Nozzle Filter Change" in
"Chapter 1" for details
Reference
F4A27

4OM-1610
1-37
3. Maintenance Spots : Chap.1
1011-002
3.2.8 X/Y Beam Section
X-Axis Linear Guides (2 locations)
Every Day Inspection
Required Time: 1 minute
Check visually for any dropped foreign
substance, etc.
X-Axis Linear Guides (4 locations)
Every 3 Months Cleaning and Lubrication
(DAPHNE EPONEX GREASE No. 1)
Required Time: 5 minutes
Wipe off old grease with a rag and supply new
grease to the grease nipples with a hand grease
gun.
Grease should be applied every 3 months after
the initial month.
Notice
Take ample care not to leave
any waste threads after
cleaning.
F4A28