JM-20-Rev05.pdf - 第83页
- 78 - NOTE( 注記 ) *INSTALLATION POSIT ION AND DIRECTION VARY IF THE PWB T RANSFER REFERENCE IS DIFFE RENT. 基板搬送基準が異なると取付位置、方向が変わります。 REF.NO NOTE PART NO D E S C R I P T I O N 品 名 Qty 1 400-00860 PWB GUIDE ASM 基板ガイド組 1 2 …

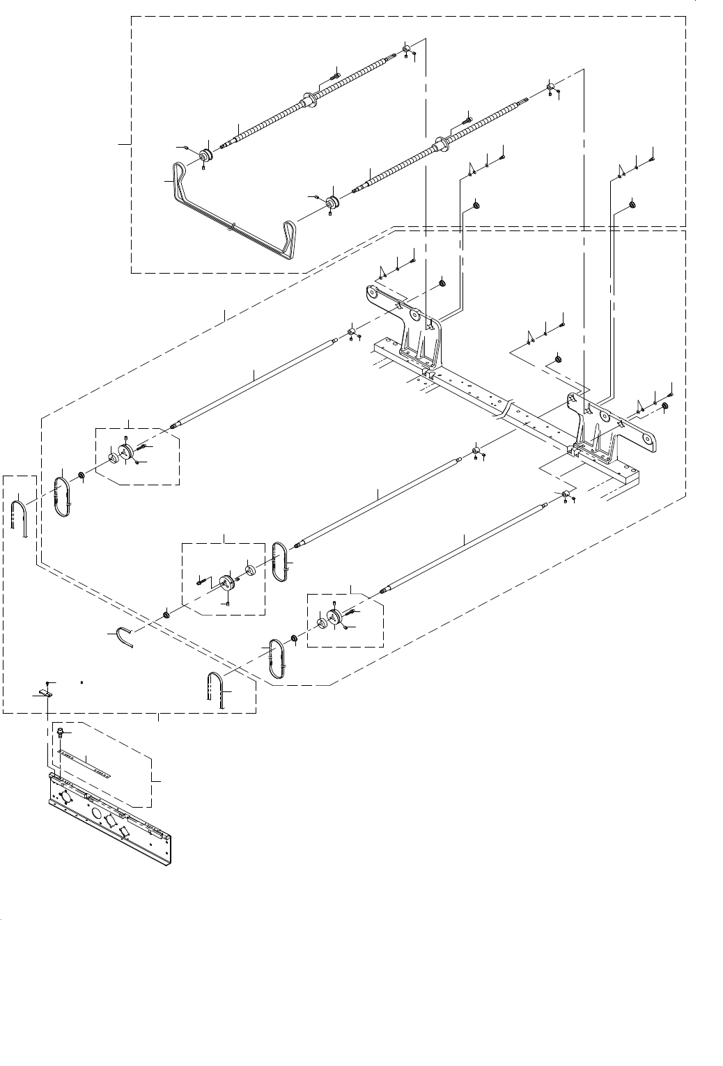
- 77 -
39.PWB CONVEYOR COMPONENTS(15)(TYPE XL)
基板搬送関係(15)(XL 仕様)
26
25
23
24
22
26
25
23
24
22
20
20
26
21
21
12
9
15
6
5
7
11
10
8
10
13
5
14
6
7
11
14
16
27
27
19
27
28
25
23
29
24
22
19
26
21
17
30
17
18
30
18
26
26
17
18
30
33
33
31
12
9
15
8
19
4
34
28
28
2
35
32
36
3
1

- 78 -
NOTE( 注記 ) *INSTALLATION POSITION AND DIRECTION VARY IF THE PWB TRANSFER
REFERENCE IS DIFFERENT.
基板搬送基準が異なると取付位置、方向が変わります。
REF.NO NOTE PART NO D E S C R I P T I O N
品 名
Qty
1 400-00860 PWB GUIDE ASM
基板ガイド組
1
2 400-00861 PWB GUIDE U
基板ガイドU
(8)
3 SL-6031092-TN SCREW M3 L=10
座金付き六角穴ボルト M3 L=10
(16)
4 401-37200 SCREW_SHAFT_ASM_XL
スクリュウシャフト組XL
1
5 SM-8040602-TP SCREW M4X0.7 L=6
止めねじ
(4)
6 WP-0330516-SC WASHER 3.3X8X0.5
平座金 3.3X8X0.5
(4)
7 SM-6030602-TN SCREW M3X6
六角穴ボルト M3X6
(4)
8 E2141-721-000 STOPPER COLLAR
ストッパカラー
(2)
9 SM-8040402-TP SCREW M4X0.7 L=4
止めねじ M4X0.7 L=4
(4)
10 E2156-721-000 PULLEY A
プーリ A
(2)
11 WP-0320500-SF WASHER M3
平座金小形丸 M3
(8)
12 SL-6041692-TN SCREW M4 L=16
座金付き六角穴ボルトM4 L=16
(8)
13 E2146-721-000 TIMING BELT
タイミングベルト
(1)
14 SB-1080002-00 SIDE BEARING
サイドベアリング
(4)
15 400-97730 SCREW_SHAFT_XL
スクリュウシャフトXL
(2)
16 401-37201 DRIVE_SHAFT_ASM_XL
ドライブシャフト組XL
1
17 WP-0330516-SC WASHER 3.3X8X0.5
平座金 3.3X8X0.5
(6)
18 SM-6030602-TN SCREW M3X6
六角穴ボルト M3X6
(6)
19 E2141-721-000 STOPPER COLLAR
ストッパカラー
(3)
20 400-46033 DRIVE BELT S(6)
ドライブベルトS(6)
(2)
21 400-00849 DRIVE PULLEY F ASM
ドライブプーリF組
(3)
22 SL-6031642-TN SCREW
座金付き六角穴ボルト
(3)
23 400-00850 DRIVE PULLEY F
ドライブプーリF
(1)
24 SM-8040602-TP SCREW M4X0.7 L=6
止めねじ
(2)
25 400-00851 MOTOR PULLEY B
モータプーリB
(1)
26 SB-1080002-00 SIDE BEARING
サイドベアリング
(6)
27 SM-8040402-TP SCREW M4X0.7 L=4
止めねじ M4X0.7 L=4
(6)
28 400-98132 DRIVE_SHAFT_C_XL
ドライブシャフトC_XL
(3)
29 400-01005 DRIVE BELT C(L)
ドライブベルトC(L)
(1)
30 WP-0320500-SF WASHER M3
平座金小形丸 M3
(12)
31 400-01068 CONVEYOR BELT ASM(L)
搬送ベルト組(L)
1
32 SL-6031092-TN SCREW M3 L=10
座金付き六角穴ボルト M3 L=10
(16)
33 400-00863 CONVEYOR BELT S
搬送ベルトS
(4)
34 400-01070 CONVEYOR BELT C(L)
搬送ベルトC(L)
(2)
35 E2046-725-000 PWB INNER
基板インナ
(12)
36 SL-4031091-SC SCREW M3 L=10
座金付きなべ小ねじ M3 L=10
(8)

- 79 -
40.PWB CONVEYOR COMPONENTS(16)(TYPE XL)
基板搬送関係(16)(XL 仕様)
19
19
22
27
26
23
32
21
24
25
37
35
34
36
20
21
32
33
28
29
30
31
1
17
15
16
12
18
3
13
13
3
12
16
15
17
A
11
10
7
5
6
4
A
8
18
2
1
38
14
38
9
38
14