JM-20-Rev05.pdf - 第97页
- 92 - REF.NO NOTE PART NO D E S C R I P T I O N 品 名 Qty 1 400-00582 LIFTER L UNIT リフタL組 1 2 400-00557 LIFTER SUPPORTER L リフターサポータL (1) 3 400-00587 LIFTER BUSH COMB INATION リフターブッシュ組 (2) 4 SM-6040802- TN SCREW M4X0.7 L=8…

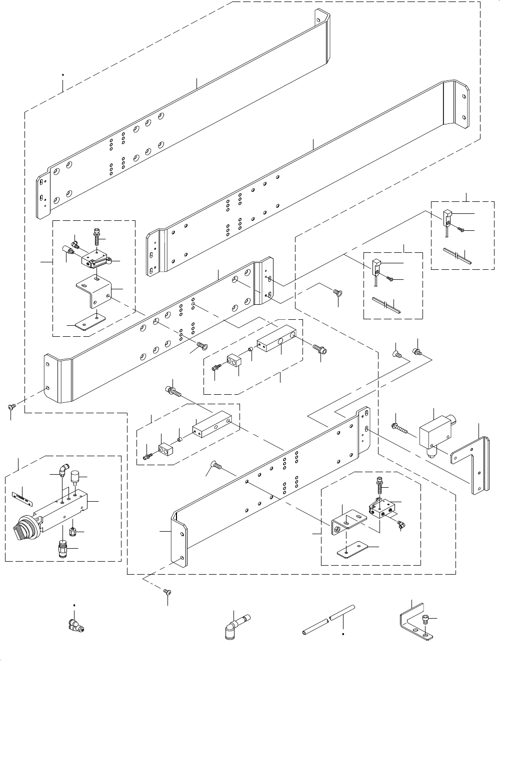
- 91 -
46.LIFTER UNIT COMPONENTS(1)
リフターユニット関係(1)
25
9
2
18
33
33
17
32
31
30
28
27
26
24
23
21
20
19
20
19
1
16
15
14
12
11
10
8
7
6
22
5
4
4
3
3
34
36
35
37
13
29

- 92 -
REF.NO NOTE PART NO D E S C R I P T I O N
品 名
Qty
1 400-00582 LIFTER L UNIT
リフタL組
1
2 400-00557 LIFTER SUPPORTER L
リフターサポータL
(1)
3 400-00587 LIFTER BUSH COMBINATION
リフターブッシュ組
(2)
4 SM-6040802-TN SCREW M4X0.7 L=8
六角穴ボルト M4X0.7 L=8
(8)
5 PA-6307503-00 AIR CYLINDER
エア シリンダ
(1)
6 PC-0152030-00 SPEED CONTROLLER
スピード コントローラ
(2)
7 SL-6104042-TN SCREW M10 L=40
座金付き六角穴ボルト M10 L=40
(4)
8 WP-1052000-SC WASHER 10.5X18X2
平座金 10.5X18X2
(4)
9 400-00588 BANK LIFTER L
バンクリフターL
(1)
10 400-00589 LIFTER CYLINDER SHAFT
リフターシリンダシャフト
(1)
11 E2622-729-000 LIFTER THRUST COLLAR
リフタースラストカラー
(1)
12 SM-1062052-TP SCREW M6 L=20
六角穴ボルト M6 L=20
(1)
13 E2610-721-000 BANK LOCATE PIN B
バンクロケートピンB
(1)
14 NM-6080003-SC NUT M8X1.25 TYPE3
六角ナット M8X1.25 3種
(1)
15 WS-0820002-KN SPRING WASHER M8
ばね座金 M8
(1)
16 SM-8060552-TP SCREW M6 L=5
止めねじ
(2)
17 400-00583 LIFTER R UNIT
リフタR組
1
18 400-00558 LIFTER SUPPORTER R
リフターサポータR
(1)
19 400-00587 LIFTER BUSH COMBINATION
リフターブッシュ組
(2)
20 SM-6040802-TN SCREW M4X0.7 L=8
六角穴ボルト M4X0.7 L=8
(8)
21 PA-6307503-00 AIR CYLINDER
エア シリンダ
(1)
22 PC-0152030-00 SPEED CONTROLLER
スピード コントローラ
(2)
23 SL-6104042-TN SCREW M10 L=40
座金付き六角穴ボルト M10 L=40
(4)
24 WP-1052000-SC WASHER 10.5X18X2
平座金 10.5X18X2
(4)
25 400-00590 BANK LIFTER R
バンクリフターR
(1)
26 400-00589 LIFTER CYLINDER SHAFT
リフターシリンダシャフト
(1)
27 E2622-729-000 LIFTER THRUST COLLAR
リフタースラストカラー
(1)
28 SM-1062052-TP SCREW M6 L=20
六角穴ボルト M6 L=20
(1)
29 400-00595 BANK LOCATE PIN C
バンクロケートピンC
(1)
30 NM-6080003-SC NUT M8X1.25 TYPE3
六角ナット M8X1.25 3種
(1)
31 WS-0820002-KN SPRING WASHER M8
ばね座金 M8
(1)
32 SM-8060552-TP SCREW M6 L=5
止めねじ
(2)
33 SL-6082592-TN SCREW M8 L=25
座金付き六角穴ボルト M8 L=25
4
34 400-00598 DRIVER BRACKET SUPPORTC
ドライバブラケットサポートC
1
35 SL-6051242-TN SCREW M5 L=12
座金付き六角穴ボルト M5 L=12
2
36 400-12013 BANK UP SENSOR DOG
バンクアップセンサドグ
1
37 SM-6050802-TN SCREW
六角穴ボルト
2

- 93 -
47.LIFTER UNIT COMPONENTS(2)
リフターユニット関係(2)
3
11
7
8
10
6
18
24
20
22
21
23
19
4
4
1
2
31
30
27
32
28
33
34
37 35
38
25
29
36
46
26
45
26
18
25
19
3
24
20
21
22
23
12
13
17
14
15
43
42
44
39
5
40
41
47
49
48
50
9
16
52
51