RS-1_RS-1-XL_RS-1R-Rev20.pdf - 第193页
- - REF.NO NOTE PARTNO DESCRIPTION Qty 1 #01 401-83612 GUIDE_RAIL_FL_ASM 1 2 40 1- 83192 BANK_CONNECTOR_B_BR (1) 3 40 1- 83209 CONNECTOR_B_COVER (1) 4 #01 401-83193 ROLLER_GUIDE_F (1 ) 5 40 0- 93852 RO…

- -
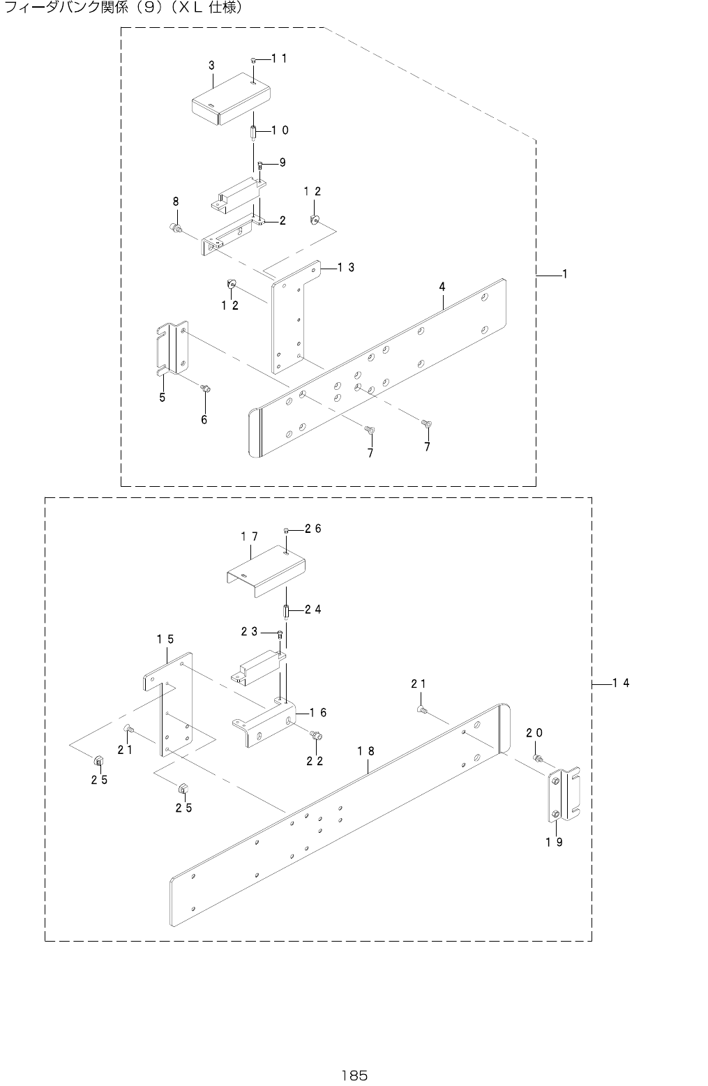
93.FEEDERBANKCOMPONENTS(9)(TYPEXL)

- -
REF.NO NOTE PARTNO DESCRIPTION Qty
1
#01
401-83612 GUIDE_RAIL_FL_ASM 1
2 401-83192 BANK_CONNECTOR_B_BR (1)
3 401-83209 CONNECTOR_B_COVER (1)
4
#01
401-83193 ROLLER_GUIDE_F (1)
5 400-93852 ROLLER_GUIDE_SUPPORT_FL (1)
6 SL-6040892-TN SCREWM4L=8 (2)
7 SM-1051052-TN PLATESCREWM5L=10 (10)
8 SL-6051092-TN SCREWM5L=10 (2)
9 SM-6030802-TN SCREW (2)
10 HX-0035400-00 STUD (2)
11 SM-3030552-TN SCREWM3L=5 (2)
12 HX-0070600-0A MOUNTBASE (2)
13 401-83191 BANK_CONNECTOR_B_SUPPORT_BR (1)
14
#02
401-83613 GUIDE_RAIL_RL_ASM 1
15 401-83191 BANK_CONNECTOR_B_SUPPORT_BR (1)
16 401-83192 BANK_CONNECTOR_B_BR (1)
17 401-83209 CONNECTOR_B_COVER (1)
18
#02
401-83205 ROLLER_GUIDE_R (1)
19 400-93852 ROLLER_GUIDE_SUPPORT_FL (1)
20 SL-6040892-TN SCREWM4L=8 (2)
21 SM-1051052-TN PLATESCREWM5L=10 (10)
22 SL-6051092-TN SCREWM5L=10 (2)
23 SM-6030802-TN SCREW (2)
24 HX-0035400-00 STUD (2)
25 HX-0070600-0A MOUNTBASE (2)
26 SM-3030552-TN SCREWM3L=5 (2)

- -
94.FEEDERBANKCOMPONENTS(10)(TYPEXL)