RS-1_RS-1-XL_RS-1R-Rev20.pdf - 第24页
- - 9. BASEFRAME ELECTRICAPPARAT USCOMPONENT S(3)

- -
REF.NO NOTE PARTNO DESCRIPTION Qty
1
#01
401-83535 POWERSUPPLYUNITAASM 1
2
#02
401-87823 POWERSUPPLYUNITAASM_EN 1
3 SL-6040892-TN SCREWM4L=8 (2)
4 SL-4030691-SC SCREWM3L=6 (15)
5 400-47075 DIN_RAIL (1)
6 401-11661 DIN_RAIL_350 (1)
7 SL-4040891-SC SCREWM4X8 (6)
8 401-82382 BLOCKTERMINAL (1)
9 HA-0061900-00 MAGNETICCONTACTOR (1)
10 HA-0063000-00 MAGNETICCONTACTOR (1)
11 HA-0065100-00 CIRCUITPROTECTOR (1)
12 HA-0065100-0A CIRCUITPROTECTOR (1)
13 HK-0691900-0B BLOCKTERMINAL (2)
14 HK-0695500-10 BLOCKTERMINAL (17)
15 HK-0695900-00 BLOCKTERMINAL (1)
16 HK-0695900-0A BLOCKTERMINAL (3)
17 HK-0695900-20 TERMINAL (8)
18 HK-0696500-10 BLOCKTERMINAL (6)
19 HK-0696900-00 BLOCKTERMINAL (1)
20 HK-0696900-0A BLOCKTERMINAL (1)
21 HK-0696900-20 TERMINAL (3)
22 401-82144 EUP101WIREASM (1)
23 401-82150 EUP107WIREASM (1)
24 401-82153 EUP110WIREASM (1)
25 401-82154 EUP111WIREASM (1)
26 401-82155 EUP112WIREASM (1)
27 401-87798 PSU_A_BRACKET (1)
28
#02
HB-0015800-00 RELAY (1)
29
#02
HB-0013900-00 RELAY (7)
30
#02
HB-0013900-10 RELAYSOCKET (7)
31
#02
HK-0691900-0B BLOCKTERMINAL (2)
32
#02
HK-0696900-30 BLOCKTERMINAL (2)
33
#02
HK-0858900-00 BLOCKTERMINAL (1)
34
#02
HK-0696900-0A BLOCKTERMINAL (1)
35
#02
400-47145 DIN_RAIL (1)
36
#02
HK-0858500-10 BLOCKTERMINAL (1)
37
#02
SL-4040891-SC SCREWM4X8 (2)
38
#01
401-83536 POWERSUPPLYUNITBASM 1
39
#02
401-87824 POWERSUPPLYUNITBASM_EN 1
40 401-83001 PS_BRACKET_692 (4)
41 401-83002 PSU_BRACKET_R_SIDE (1)
42 401-83003 PSU_BRACKET_BOTTOM (1)
43 401-83004 PSU_BRACKET_M1 (1)
44 401-83005 PS_BRACKET_E_BANK (1)
45 401-83007 PSU_BRACKET_M2 (1)
46 401-83008 PSU_BRACKET_M3 (1)
47 401-83009 PSU_BRACKET_L_SIDE (1)
48 401-83010 PSU_BRACKET_F (1)
49 401-83012 PSU_B_FACE_BR (1)
50 401-83014 PS_B_COVER (1)
51 401-83013 PS_BRACKET_CD (1)
52 SL-4040891-SC SCREWM4X8 (38)
53 SL-4030691-SC SCREWM3L=6 (21)
54 SL-6040892-TN SCREWM4L=8 (8)
55 HX-0070600-00 MOUNTBASE (13)
56 E1038-871-000 PLATENLOCKCAMSCREW (5)
57 400-47097 DIN_RAIL (1)
58 HX-0035400-0E SPACER (5)
59 401-28877 POWERPCBASM (1)
60 401-82160 EUP201WIREASM (1)
61 401-82378 POWERSUPPLY (1)
62 HA-0054200-0B CIRCUITPROTECTOR (1)
63 HA-0065000-00 CIRCUITPROTECTOR (1)
64 HA-0065000-0A CIRCUITPROTECTOR (3)
65 HB-0005800-10 RELAY (3)
66 HB-0012800-0C RELAY (3)
67 HK-0691900-0B BLOCKTERMINAL (2)
68 HK-0693500-10 BLOCKTERMINAL (2)
69 HK-0696500-10 BLOCKTERMINAL (6)
70 HK-0696900-00 BLOCKTERMINAL (1)
71 HK-0696900-0A BLOCKTERMINAL (1)
72 HK-0696900-20 TERMINAL (4)
73 HX-0069200-00 POWERSUPPLY (1)
74 HX-0071800-00 POWERSUPPLY (1)
75 401-82178 EUP219WIREASM (1)
76 401-82180 EUP221WIREASM (1)
77 401-82179 EUP220WIREASM (1)
78
#02
401-87797 PS_BRACKET_EN (1)
79
#02
401-87862 POWERSUPPLY (1)
80
#02
SL-6040892-TN SCREWM4L=8 (2)
81
#02
SL-4030691-SC SCREWM3L=6 (4)
82
#02
E1038-871-000 PLATENLOCKCAMSCREW (1)
83 HX-0071900-00 POWERSUPPLY (1)

- -
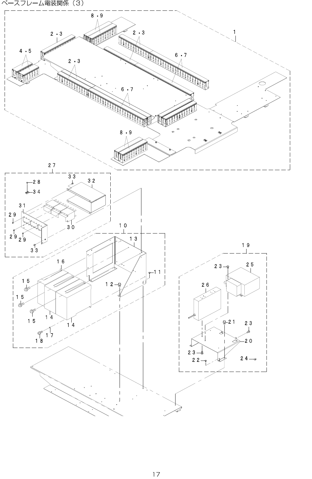
9. BASEFRAMEELECTRICAPPARATUSCOMPONENTS(3)

- -
REF.NO NOTE PARTNO DESCRIPTION Qty
1 401-86387 DUCT_ASSY_RS 1
2 400-77404 DUCT30_60_200 (7)
3 SL-4040891-SC SCREWM4X8 (14)
4 400-32368 DUCT40_60_125 (2)
5 SL-4040891-SC SCREWM4X8 (4)
6 400-94478 DUCT30_60_450 (4)
7 SL-4040891-SC SCREWM4X8 (8)
8 400-94479 DUCT30_60_200 (4)
9 SL-4040891-SC SCREWM4X8 (8)
10 401-83542 XY_DRIVER_UNIT 1
11 SD-0640246-SP SHOULDERSCREWD=6.35H=2.4 (2)
12 SL-6040892-TN SCREWM4L=8 (2)
13 401-83491 DRIVER_BR (1)
14 401-29654 YAXISDRIVER (2)
15 SL-4051691-SC SCREWM5L=16 (3)
16 401-29652 XAXISDRIVER (1)
17 401-83517 DRIVER_COLLAR (6)
18 SL-6041292-TN SCREWM4L=12 (6)
19 401-83541 ATX_UNIT 1
20 401-95246 ATX_BRACKET (1)
21 SL-6040892-TN SCREWM4L=8 (2)
22 E1038-871-000 PLATENLOCKCAMSCREW (2)
23 SL-4030891-SC SCREWM3L=8 (6)
24 HX-0070600-0A MOUNTBASE (2)
25 EZ-1468979-11 POWER(ENSP-300P-S20-11S) (1)
26 EZ-1756647-11 BATTERYPACK(BS06A-H24/2.5L) (1)
27
#01
401-87821 XY_CP_UNIT_EN 1
28 SM-4040601-SC SCREWM4X0.7L=6 (6)
29 SL-4030691-SC SCREWM3L=6 (18)
30 401-88160 CNA5-X/YL/YRCNP1CABLEASM (1)
31 401-87799 XY_CP_BRACKET_EN (1)
32 401-82988 XY_CP_COVER_EN (1)
33 SL-6040892-TN SCREWM4L=8 (7)
34 HX-0029400-00 FIXEDBASE (6)