RHS2B维修手册.pdf - 第44页
RHS2B 维修手册 4.1 传感 器布局 4.1 - 4 DA4MC C – 14 – 010 – A 0 4.1.3 下料器 1 2 3 1. 下料器轨道下限位 EE-SX 672 2. 下料器入口印刷电路板检测 E3 S-LS3 C1D-30 3. 下料器出口印刷电路板检测 E3 S-LS3 C1D-30 PX02G61- 000-2

RHS2B
维修手册
4.1 传感器布局
DA4MCC – 14 – 010 – A0 4.1 - 3
4.1.2 上料器
3
1
2
1. 上料器轨道下限位 EE-SX672
2. 上料器入口印刷电路板检测 E3S-LS3C1D-30
3. 上料器出口印刷电路板检测 E3S-LS3C1D-30
PX02G61-000-1

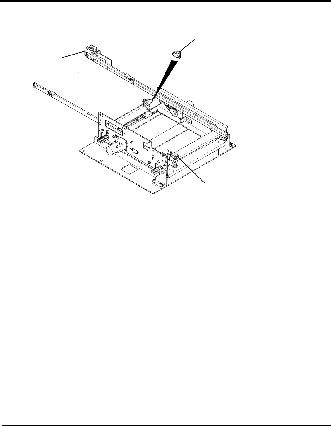
RHS2B
维修手册
4.1 传感器布局
4.1 - 4 DA4MCC – 14 – 010 – A0
4.1.3 下料器
1
2
3
1. 下料器轨道下限位 EE-SX672
2. 下料器入口印刷电路板检测 E3S-LS3C1D-30
3. 下料器出口印刷电路板检测 E3S-LS3C1D-30
PX02G61-000-2

RHS2B
维修手册
4.1 传感器布局
DA4MCC – 14 – 010 – A0 4.1 - 5
4.1.4 插件头
1
2
3
1. Hθ 轴原点: EE-SX672
2. 元件高度检测: GX-8MB-R
3. P 轴原点: EE-SX671A
PX02G42-000