00193926-03.pdf - 第182页
4 Montagem e arranque Manual do usuário S IPLACE Série HF 4.4 Instalação da máquina automática Versão de software SR.50x.xx Edição 01/2006 PT 182 Æ Aparafuse a rosca d o pé m édio d a máquina no fur o no la do de b aixo …

Manual do usuário SIPLACE Série HF 4 Montagem e arranque
Versão de software SR.50x.xx Edição 01/2006 PT 4.4 Instalação da máquina automática
181
4.4.4.1 Regulagem prévia da altura dos pés médios da máquina
Em primeiro lugar são pré-regulados os pés médios da máquina. De acordo com a altura da má-
quina automática, a peça distanciadora tem de ser aparafusada na parte de baixo em posição
correta.
Regulagem da altura de transporte das PCI para 830 mm 4
Para a altura de transporte das PCI de 830 mm, é precisa a peça distanciadora.
Æ Aparafuse o mais possível o pé médio da máquina na rosca para esse fim (veja o Ponto 5 na
Fig. 4.4 - 3
).
Regulagem da altura de transporte das PCI para 900 mm 4
Para a altura de transporte das PCI de 900 mm, é precisa a peça distanciadora.
Æ Regule a mesma para que o lado de 90 mm fique na posição vertical e o furo para o pé médio
da máquina fique virado para baixo.
4
4
4
4
4
4
4
4
4
4
4
4
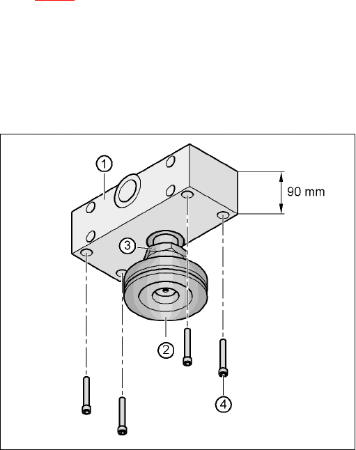
Fig. 4.4 - 4 Regulagem da peça distanciadora para altura de transporte de 900 mm
4
(1) Altura da peça distanciadora: 90 mm
(2) Pé médio da máquina
(3) Contraporca M24
(4) Parafuso de sextavado interior M12x80, 4 peças

4 Montagem e arranque Manual do usuário SIPLACE Série HF
4.4 Instalação da máquina automática Versão de software SR.50x.xx Edição 01/2006 PT
182
Æ Aparafuse a rosca do pé médio da máquina no furo no lado de baixo da peça distanciadora.
Æ Regule ambas as peças distanciadoras na parte de baixo da máquina da seguinte maneira:
– A abertura da peça distanciadora no lado da unidade pneumática está virada para o sen-
tido do transporte das PCI (veja o Ponto 4 na Fig. 4.4 - 3
, página 180).
– A abertura da peça distanciadora no lado da alimentação de corrente elétrica está virada
para o sentido contrário ao do sentido do transporte das PCI (veja o Ponto 3 na Fig. 4.4
- 3, página 180).
Æ Fixe cada uma das peças distanciadoras com quatro parafusos de sextavado interior
M12x80 (veja o Ponto 4 na Fig. 4.4 - 4
). Utilize para isso a ponta da chave de parafusos de
10 mm.
Regulagem das alturas do transporte das PCI de 930 mm e 950 mm 4
Para as alturas de transporte das PCI de 930 mm e 950 mm também é precisa a peça distancia-
dora.
Æ Regule a peça distanciadora para que o lado de 122,5 mm fique na posição vertical e o furo
para o pé médio da máquina fique virado para baixo.
4
Fig. 4.4 - 5 Regulagem da peça distanciadora para as alturas de transporte de 930 e 950 mm
4
(1) Altura da peça distanciadora: 122,5 mm
(2) Pé médio da máquina
(3) Contraporca M24
(4) Parafuso de sextavado interior M12x80, 4 peças
122,5 mm

Manual do usuário SIPLACE Série HF 4 Montagem e arranque
Versão de software SR.50x.xx Edição 01/2006 PT 4.4 Instalação da máquina automática
183
Æ Aparafuse a rosca do pé médio da máquina no furo no lado de baixo da peça distanciadora.
Æ Regule ambas as peças distanciadoras da seguinte maneira:
– A abertura da peça distanciadora no lado da unidade pneumática está virada para o sen-
tido do transporte das PCI (veja o Ponto 4 na Fig. 4.4 - 3
, página 180).
– A abertura da peça distanciadora no lado da alimentação de corrente elétrica está virada
para o sentido contrário ao do sentido do transporte das PCI (veja o Ponto 3 na Fig. 4.4
- 3, página 180).
Æ Fixe cada uma das peças distanciadoras com quatro parafusos de sextavado interior
M12x80 (veja o Ponto 4 na Fig. 4.4 - 5
). Utilize para isso a ponta da chave de parafusos de
10 mm.
4.4.4.2 Regulagem prévia dos pés exteriores da máquina
4
Fig. 4.4 - 6 Regulagem prévia dos pés da máquina
(1) Pé da máquina - 2 execuções
(2) Parafuso de sextavado interior, M24x90
(3) Parafuso de ajuste M24x2x120