NXT-II 安装手册.pdf - 第54页
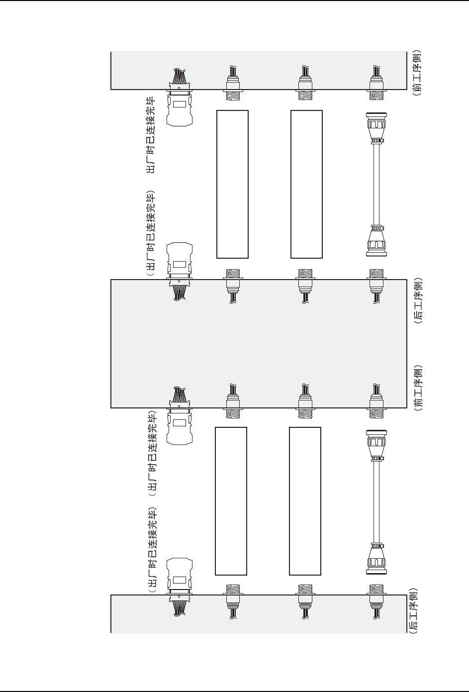
3. 机器的安装 QD139-11 42 NXT II 安装手册 3.6.1 信号电缆连接图 ( NXT-2-NXT-2-NXT-2) 标准尺寸 (单 / 双搬运轨道搭载模组用) RH2138* (1.5 m) RH2137* (3 m) RH2139* (5 m) RH2138* (1.5 m) RH2137* (3 m) RH2139* (5 m) CN-M2 CN-M2 CN-M1 CN-M1 LANE2-R LANE2-F LA…

QD139-11 3. 机器的安装
NXT II 安装手册 41
3.6 NXT-2 之间的连接
在此说明将几个自立型 NXT-2 连接起来运转时的连接。
01SET-0161Sc
˄ᴎ఼ৢ䴶˅
LJᷛޚᑻ˄ऩঠᨀ䖤䔼䘧ᨁ䕑㒘⫼˅Lj
5.ᦦӊ/$1(
˄ᴎ఼ৢ䴶˅
˄ϝᨀ䖤䔼䘧ᨁ䕑㒘⫼˅
33
12
44
33
12
5
5
4
4
ৢᎹᑣ!
ᴀᴎ! ࠡᎹᑣ!
1;7
ᑻ
1;7
ᑻ
1;7
ᑻ
䗮䘧
䗮䘧
䗮䘧
䗮䘧
ৢᎹᑣ⬉䏃ᵓᨀ䖤⬠䴶ㄟᵓ
ࠡᎹᑣ⬉䏃ᵓᨀ䖤⬠䴶ㄟᵓ
ᦦӊ/$1(
ᦦӊ/$1(
䖲⬉㓚
ࠡᎹᑣǃৢᎹᑣⱘᴎ఼Ў1;7
ᯊ
ᑻ
1;7
ᑻ
1;7
ᑻ
1;7
ৢᎹᑣ!
ᴀᴎ! ࠡᎹᑣ!
1;7
ᑻ
1;7
ᑻ
1;7
ᑻ
䗮䘧
䗮䘧
䗮䘧
䗮䘧
䗮䘧
䗮䘧

3. 机器的安装 QD139-11
42 NXT II 安装手册
3.6.1 信号电缆连接图 (NXT-2-NXT-2-NXT-2)
标准尺寸 (单 / 双搬运轨道搭载模组用)
RH2138* (1.5 m)
RH2137* (3 m)
RH2139* (5 m)
RH2138* (1.5 m)
RH2137* (3 m)
RH2139* (5 m)
CN-M2
CN-M2
CN-M1
CN-M1
LANE2-R
LANE2-F LANE2-R
LANE2-F
LANE1-R
LANE1-F LANE1-FLANE1-R
01SET-0162Sb
RH3487*: 2M-2
RH3444*: 4M-2
RH3485*: 2M-2
RH3442*: 4M-2
RH3487*: 2M-2
RH3444*: 4M-2
RH3485*: 2M-2
RH3442*: 4M-2
㧕
1;7ᑻ
1;7ᑻ
1;7ᑻ
Փ⫼/$1(ⱘᯊˈ䇋Ϣ/$1(
ৠḋ䖲
Փ⫼/$1(ⱘᯊˈ䇋Ϣ/$1(
ৠḋ䖲

QD139-11 3. 机器的安装
NXT II 安装手册 43
三搬运轨道搭载模组用
01SET-0309S
RH2138* (1.5 m)
RH2137* (3 m)
RH2139* (5 m)
RH2138* (1.5 m)
RH2137* (3 m)
RH2139* (5 m)
LANE1-R
LANE1-F LANE1-FLANE1-R
CN-M2
CN-M2
CN-M1
CN-M1
LANE2-R
LANE2-F LANE2-R
LANE2-F
LANE3-R
LANE3-F LANE3-R
LANE3-F
RH3487*: 2M-2
RH3444*: 4M-2
RH3485*: 2M-2
RH3442*: 4M-2
RH3487*: 2M-2
RH3444*: 4M-2
RH3485*: 2M-2
RH3442*: 4M-2
㧕
Փ⫼/$1(ⱘᯊˈ䇋Ϣ/$1(
ৠḋ䖲
Փ⫼/$1(ⱘᯊˈ䇋Ϣ/$1(
ৠḋ䖲
Փ⫼/$1(ⱘᯊˈ䇋Ϣ/$1(
ৠḋ䖲
Փ⫼/$1(ⱘᯊˈ䇋Ϣ/$1(
ৠḋ䖲
1;7ᑻ
1;7ᑻ
1;7ᑻ